TOP
|
特許
|
意匠
|
商標
特許ウォッチ
Twitter
他の特許を見る
10個以上の画像は省略されています。
公開番号
2025155985
公報種別
公開特許公報(A)
公開日
2025-10-14
出願番号
2025037278
出願日
2025-03-10
発明の名称
コイル部品
出願人
太陽誘電株式会社
代理人
個人
,
個人
主分類
H01F
27/29 20060101AFI20251002BHJP(基本的電気素子)
要約
【課題】外部電極と導体との密着性を向上させる。
【解決手段】一態様に係るコイル部品は、磁性基体と、上記磁性基体の内部又は表面に設けられる導体と、上記導体の端部が接合部に接合される下地電極を含み上記磁性基体の外面に設けられる外部電極と、を備え、上記接合部は、上記導体の上記端部と同じ範囲に広がり、その結晶面の面積割合として、(111)の結晶面の面積割合よりも、(111)以外の結晶面の面積割合の方が大きい。
【選択図】 図2
特許請求の範囲
【請求項1】
磁性基体と、
前記磁性基体の内部又は表面に設けられる導体と、
前記導体の端部が接合部に接合される下地電極を含み前記磁性基体の外面に設けられる外部電極と、を備え、
前記接合部は、上記導体の前記端部と同じ範囲に広がり、その結晶面の面積割合として、(111)の結晶面の面積割合よりも、(111)以外の結晶面の面積割合の方が大きい、
コイル部品。
続きを表示(約 660 文字)
【請求項2】
前記接合部は、前記磁性基体の外面と上記導体の前記端部とに挟まれる請求項1に記載のコイル部品。
【請求項3】
前記下地電極は、前記接合部の周囲に第1下地電極を有し、
前記第1下地電極は、その結晶面の面積割合として、(111)の結晶面の面積割合よりも、(111)以外の結晶面の面積割合の方が大きい請求項1に記載のコイル部品。
【請求項4】
前記下地電極は、前記第1下地電極の周囲に第2下地電極を有し、
前記第2下地電極は、その結晶名の面積割合として、(111)以外の結晶面の面積割合よりも、(111)の結晶面の面積割合の方が大きい請求項1に記載のコイル部品。
【請求項5】
前記外部電極は、金属粒子と樹脂を含有する導電性樹脂層を前記接合部の外側に有する請求項1に記載のコイル部品。
【請求項6】
前記導電性樹脂層は、前記接合部の範囲よりも広い範囲に広がる請求項5に記載のコイル部品。
【請求項7】
前記導電性樹脂層は、前記導体の前記端部を覆う請求項5に記載のコイル部品。
【請求項8】
前記外部電極は、その表面にめっき層を有する請求項1に記載のコイル部品。
【請求項9】
前記(111)の結晶面の面積割合よりも、前記(111)以外の結晶面の面積割合の方が大きいか否かは、電子線後方散乱法を用いた前記接合部の断面観察に基づいて判定される請求項1~8のいずれか1項に記載のコイル部品。
発明の詳細な説明
【技術分野】
【0001】
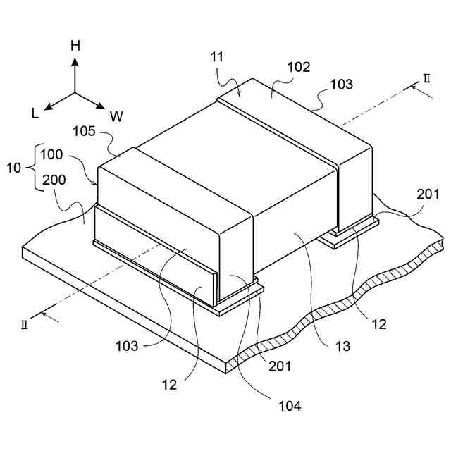
本発明は、コイル部品に関する。
続きを表示(約 1,800 文字)
【背景技術】
【0002】
車の電動化が進むなどの環境変化により、製品に使用される電子部品の数量が増加すると共に、電子部品が用いられる用途も広がっている。この状況は、多くの電子部品に共通しており、磁性基体に導線が巻回される巻線タイプのコイル部品でも同様であるが、組み立ての精度などの制約があり、巻線タイプのコイル部品では他のタイプの電子部品ほど小型化が進んでいなかった。巻線タイプのコイル部品であっても小型化は必要であり、用いる導線の太さが細いものも必要となる。
【0003】
一方で、電子部品の小型化に伴い、実装基板のたわみや温度変化により生じる応力で部品や半田に損傷が生じやすくなってきている。このため、コイル部品について、応力への対策が求められている。
例えば特許文献1には、底面電極部の部品本体に対する密着強度が、端面電極部の部品本体に対する密着強度より低い構成を有し、外部電極に外力が加わると、外部電極の一部である底面電極部が部品本体に対して動いて応力を分散させるコイル部品が提案されている。
【先行技術文献】
【特許文献】
【0004】
特開2019-041075号公報
【発明の概要】
【発明が解決しようとする課題】
【0005】
しかしながら、特許文献1の技術では、外部電極の一部が応力で動くことによって導体には伸び縮みのストレスが掛かることになる。特に、細い導線が用いられるコイル部品の場合、外部電極の動きが導線に掛かる負荷を増すことになる。導線の端部は、外部電極に接合されており、導線に掛かる負荷が増した場合、導線と外部電極との接合が負荷に負ける虞がある。このため、外部電極と導体との密着性向上が求められている。なお、巻線タイプのコイル部品に限らず、積層タイプのコイル部品においても、部品の小型化に伴って外部電極と導体との密着性向上が求められている。
【0006】
上記事情に鑑み、本発明は、外部電極と導体との密着性を向上させることを目的とする。
【課題を解決するための手段】
【0007】
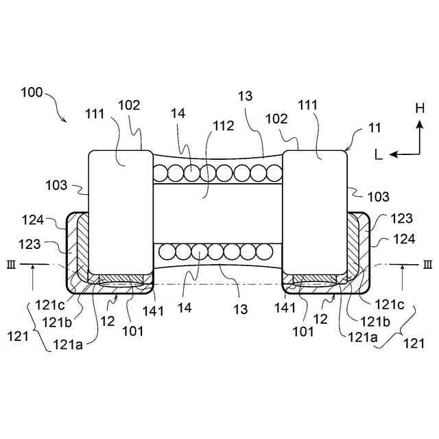
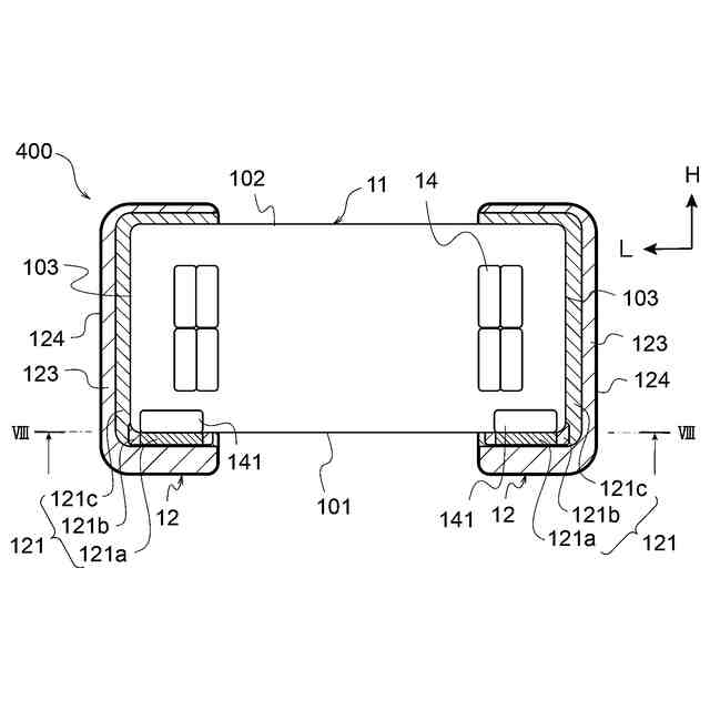
上記課題を解決するために、本発明の一態様に係るコイル部品は、磁性基体と、上記磁性基体の内部又は表面に設けられる導体と、上記導体の端部が接合部に接合される下地電極を含み上記磁性基体の外面に設けられる外部電極と、を備え、上記接合部は、上記導体の上記端部と同じ範囲に広がり、その結晶面の面積割合として、(111)の結晶面の面積割合よりも、(111)以外の結晶面の面積割合の方が大きい。
【0008】
本発明の一態様に係るコイル部品によれば、上記接合部は、上記磁性基体の外面と上記導体の上記端部とに挟まれる。
本発明の一態様に係るコイル部品によれば、上記下地電極は、上記接合部の周囲に第1下地電極を有し、上記第1下地電極は、その結晶面の面積割合として、(111)の結晶面の面積割合よりも、(111)以外の結晶面の面積割合の方が大きい。
本発明の一態様に係るコイル部品によれば、上記下地電極は、上記第1下地電極の周囲に第2下地電極を有し、上記第2下地電極は、その結晶面の面積割合として、(111)以外の結晶面の面積割合よりも、(111)の結晶面の面積割合の方が大きい。
本発明の一態様に係るコイル部品によれば、上記外部電極は、金属粒子と樹脂を含有する導電性樹脂層を上記接合部の外側に有する。
【0009】
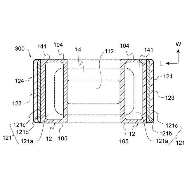
本発明の一態様に係るコイル部品によれば、上記導電性樹脂層は、上記接合部の範囲よりも広い範囲に広がる。
本発明の一態様に係るコイル部品によれば、上記導電性樹脂層は、上記導体の上記端部を覆う。
本発明の一態様に係るコイル部品によれば、上記外部電極は、その表面にめっき層を有する。
本発明の一態様に係るコイル部品によれば、前記(111)の結晶面の面積割合よりも前記(111)以外の結晶面の面積割合の方が大きいか否かは、電子線後方散乱法を用いた前記接合部の断面観察に基づいて判定される。
【発明の効果】
【0010】
本発明によれば、外部電極と導体との密着性を向上させることができる。
【図面の簡単な説明】
(【0011】以降は省略されています)
この特許をJ-PlatPat(特許庁公式サイト)で参照する
関連特許
太陽誘電株式会社
コイル部品
1日前
太陽誘電株式会社
コイル部品
6日前
太陽誘電株式会社
コイル部品
5日前
太陽誘電株式会社
コイル部品
5日前
太陽誘電株式会社
生体情報測定装置
5日前
太陽誘電株式会社
セラミック電子部品
5日前
太陽誘電株式会社
積層セラミック電子部品
1日前
太陽誘電株式会社
グルコース濃度推定装置
6日前
太陽誘電株式会社
積層セラミック電子部品
5日前
太陽誘電株式会社
積層セラミックコンデンサ
6日前
太陽誘電株式会社
センサ装置および取付方法
6日前
太陽誘電株式会社
コイル部品および実装基板
6日前
太陽誘電株式会社
フィルタ及びマルチプレクサ
7日前
太陽誘電株式会社
血圧測定装置および血圧測定方法
6日前
太陽誘電株式会社
コイル部品、コイル部品の製造方法
5日前
太陽誘電株式会社
コイル部品、コイル部品の製造方法
5日前
太陽誘電株式会社
コイル部品及びコイル部品の製造方法
5日前
太陽誘電株式会社
積層セラミックコンデンサ及び回路基板
6日前
太陽誘電株式会社
磁性基体及び磁性基体を備えるコイル部品
5日前
太陽誘電株式会社
積層セラミック電子部品及びその製造方法
5日前
太陽誘電株式会社
積層セラミック電子部品およびその製造方法
6日前
太陽誘電株式会社
積層セラミック電子部品およびその製造方法
5日前
太陽誘電株式会社
積層セラミック電子部品およびその製造方法
5日前
太陽誘電株式会社
心拍検出システム、心拍検出方法およびプログラム
5日前
太陽誘電株式会社
位置情報システム、情報処理装置及び情報処理方法
7日前
太陽誘電株式会社
積層セラミック電子部品、積層セラミック電子部品の製造方法
5日前
太陽誘電株式会社
積層セラミック電子部品、積層セラミック電子部品の製造方法
5日前
太陽誘電株式会社
心拍検出装置、心拍検出システム、心拍検出方法およびプログラム
5日前
太陽誘電株式会社
積層セラミック電子部品、及び積層セラミック電子部品の製造方法
5日前
太陽誘電株式会社
心拍検出装置、心拍検出システム、心拍検出方法およびプログラム
5日前
太陽誘電株式会社
積層セラミックコンデンサ、及び積層セラミックコンデンサの製造方法
5日前
太陽誘電株式会社
積層セラミックコンデンサ、および積層セラミックコンデンサの製造方法
5日前
太陽誘電株式会社
アレイ型インダクタ及び当該アレイ型インダクタを備えるインダクタ内蔵基板
6日前
太陽誘電株式会社
積層セラミック電子部品及びその製造方法、並びに、回路モジュール、及び電子機器
5日前
太陽誘電株式会社
積層セラミック電子部品及びその製造方法、並びに、回路モジュール、及び電子機器
5日前
太陽誘電株式会社
積層セラミック電子部品および誘電体磁器組成物
1日前
続きを見る
他の特許を見る