TOP
|
特許
|
意匠
|
商標
特許ウォッチ
Twitter
他の特許を見る
公開番号
2025152584
公報種別
公開特許公報(A)
公開日
2025-10-10
出願番号
2024054542
出願日
2024-03-28
発明の名称
コイル部品
出願人
太陽誘電株式会社
代理人
個人
,
個人
主分類
H01F
27/29 20060101AFI20251002BHJP(基本的電気素子)
要約
【課題】コンポジット型の基体を備えたコイル部品において、基体と外部電極との密着性を向上させる。
【解決手段】コイル部品が、金属磁性粒子および樹脂を含む基体と、前記基体の内部に設けられるコイル導体と、前記コイル導体に電気的に接続されるよう前記基体の表面に設けられる外部電極と、前記基体と前記外部電極との間に設けられるセラミック粒子と、を有する。
【選択図】図1
特許請求の範囲
【請求項1】
金属磁性粒子および樹脂を含む基体と、
前記基体の内部に設けられるコイル導体と、
前記コイル導体に電気的に接続されるよう前記基体の表面に設けられる外部電極と、
前記基体と前記外部電極との間に設けられるセラミック粒子と、
を有する、コイル部品。
続きを表示(約 440 文字)
【請求項2】
前記セラミック粒子は、その最大粒径の平均として0.1μm以上10μm以下である、請求項1に記載のコイル部品。
【請求項3】
前記セラミック粒子は、その平均粒径として前記金属磁性粒子の平均粒径より小さい、請求項1または2に記載のコイル部品。
【請求項4】
前記セラミック粒子は、前記外部電極が設けられる前記基体の面の面積を100%とした場合に、その存在割合として10%以上50%以下である、請求項1または2に記載のコイル部品。
【請求項5】
前記外部電極は、金属層、および導電性樹脂層の少なくとも一方を含む、請求項1または2に記載のコイル部品。
【請求項6】
前記セラミック粒子は、その外形として角部を有する、請求項1または2に記載のコイル部品。
【請求項7】
前記外部電極は、前記基体に対向する面において、前記セラミック粒子に沿うように窪みを有する、請求項1または2に記載のコイル部品。
発明の詳細な説明
【技術分野】
【0001】
本開示は、コイル部品に関する。
続きを表示(約 1,200 文字)
【背景技術】
【0002】
コイル部品は、様々な電子機器に搭載されている部品であり、例えば、DC/DCコンバータ等の電源回路等において使用されている。コイル部品は、基体と、基体の内部に設けられたコイル導体と、基体の表面に設けられた外部電極と、を備える。
【0003】
コイル部品における基体としては、メタルコンポジット型の基体が知られている。メタルコンポジット型の基体は、多数の金属磁性粒子と、当該金属磁性粒子を結合する樹脂結合材と、を含む。
【先行技術文献】
【特許文献】
【0004】
特開2020-202325号公報
【発明の概要】
【発明が解決しようとする課題】
【0005】
コンポジット型の基体を備えた構成においては、基体に樹脂成分が存在していることに起因して、基体と、基体の表面に配置された外部電極との密着性が低い傾向が指摘されている。よって、コンポジット型の基体を備えたコイル部品において、基体と外部電極との密着性を改善することが求められている。
【0006】
本開示は、コンポジット型の基体を備えたコイル部品において、基体と外部電極との密着性を向上させることを目的とする。
【課題を解決するための手段】
【0007】
本開示の一態様は、金属磁性粒子および樹脂を含む基体と、前記基体の内部に設けられるコイル導体と、前記コイル導体に電気的に接続されるよう前記基体の表面に設けられる外部電極と、前記基体と前記外部電極との間に設けられるセラミック粒子と、を有する、コイル部品である。
【発明の効果】
【0008】
本開示によれば、コンポジット型の基体を備えたコイル部品において、外部電極の密着性を向上できる。
【図面の簡単な説明】
【0009】
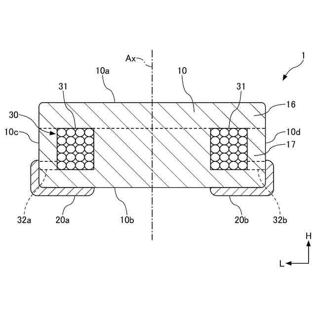
本開示の一実施形態によるコイル部品を示す斜視図である。
図1のI-I線断面図である。
図2のII-II線断面図である。
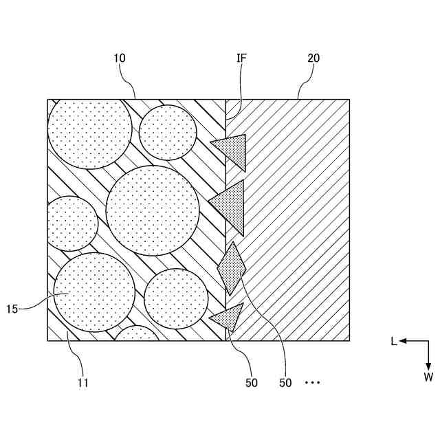
図2の部分IIIの拡大図である。
図4に対応する、従来技術による構成を示す図である。
図4に対応する、変形例を示す図である。
【発明を実施するための形態】
【0010】
以下、本開示の実施形態について詳細に説明するが、本開示はこれらに限定されるものではない。なお、本明細書および図面において、実質的に同一の機能構成を有する構成要素については、同一の符号を付することにより重複した説明を省くことがある。また、各図面は、本開示についての説明を分かりやすくするために示した模式図であり、必ずしも正確な縮尺で記載されているものではない。また、図面には、適宜、相互に直交するL軸、W軸、およびH軸を、コイル部品に対して固定された固定座標系を規定する軸として示す。
(【0011】以降は省略されています)
この特許をJ-PlatPat(特許庁公式サイト)で参照する
関連特許
太陽誘電株式会社
全固体電池
8日前
太陽誘電株式会社
コイル部品
2日前
太陽誘電株式会社
コイル部品
1日前
太陽誘電株式会社
コイル部品
1日前
太陽誘電株式会社
導波路装置
8日前
太陽誘電株式会社
生体情報測定装置
1日前
太陽誘電株式会社
セラミック電子部品
1日前
太陽誘電株式会社
グルコース濃度推定装置
2日前
太陽誘電株式会社
積層セラミック電子部品
3日前
太陽誘電株式会社
積層セラミック電子部品
1日前
太陽誘電株式会社
コイル部品および実装基板
2日前
太陽誘電株式会社
積層セラミックコンデンサ
2日前
太陽誘電株式会社
電動アシスト車の制御装置
1か月前
太陽誘電株式会社
センサ装置および取付方法
2日前
太陽誘電株式会社
フィルタ及びマルチプレクサ
3日前
太陽誘電株式会社
導波路装置およびレーダ装置
8日前
太陽誘電株式会社
血圧測定装置および血圧測定方法
2日前
太陽誘電株式会社
バッテリパック及び車両の制御装置
8日前
太陽誘電株式会社
コイル部品、コイル部品の製造方法
1日前
太陽誘電株式会社
コイル部品、コイル部品の製造方法
1日前
太陽誘電株式会社
コイル部品及びコイル部品の製造方法
1日前
太陽誘電株式会社
特徴量取得装置および特徴量取得方法
22日前
太陽誘電株式会社
積層セラミックコンデンサ及び回路基板
12日前
太陽誘電株式会社
積層セラミックコンデンサ及び回路基板
4日前
太陽誘電株式会社
積層セラミックコンデンサ及び回路基板
12日前
太陽誘電株式会社
積層セラミックコンデンサ及び回路基板
15日前
太陽誘電株式会社
積層セラミックコンデンサ及び回路基板
2日前
太陽誘電株式会社
圧電トランスデューサおよび電気音響装置
10日前
太陽誘電株式会社
積層セラミック電子部品及びその製造方法
1か月前
太陽誘電株式会社
積層セラミック電子部品及びその製造方法
1日前
太陽誘電株式会社
磁性基体及び磁性基体を備えるコイル部品
1日前
太陽誘電株式会社
積層セラミック電子部品およびその製造方法
2日前
太陽誘電株式会社
積層セラミック電子部品およびその製造方法
1日前
太陽誘電株式会社
積層セラミック電子部品およびその製造方法
1日前
太陽誘電株式会社
電子部品の検査方法および電子部品の製造方法
12日前
太陽誘電株式会社
弾性波デバイス、フィルタ、及びマルチプレクサ
8日前
続きを見る
他の特許を見る