TOP
|
特許
|
意匠
|
商標
特許ウォッチ
Twitter
他の特許を見る
10個以上の画像は省略されています。
公開番号
2025118106
公報種別
公開特許公報(A)
公開日
2025-08-13
出願番号
2024013228
出願日
2024-01-31
発明の名称
半導体装置
出願人
富士電機株式会社
代理人
個人
,
個人
主分類
H01L
25/07 20060101AFI20250805BHJP(基本的電気素子)
要約
【課題】インダクタンスを低減すると共に、端子のねじ締結が可能な半導体装置を提供する。
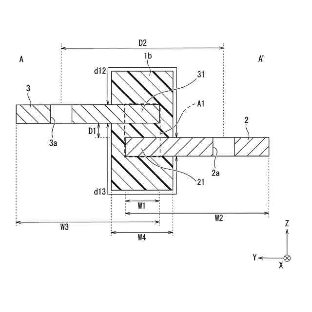
【解決手段】半導体装置は、半導体チップ10と、半導体チップ10を封止する封止樹脂1と、封止樹脂1から突出して第1方向に延伸し、封止樹脂1の外側に第1接続部2aを有する第1端子2と、封止樹脂1から突出して第1方向に延伸し、封止樹脂1の外側に第2接続部3aを有する第2端子3と、を備え、第1端子2及び前記第2端子3が、第1接続部2aと第2接続部3aとの間で互いに離隔して対向する矩形状の対向部21,31をそれぞれ有し、第1方向に直交する第2方向における対向部21,31の幅W1が、1mm以上、13mm以下である。
【選択図】図5
特許請求の範囲
【請求項1】
半導体チップと、
前記半導体チップを封止する封止樹脂と、
前記封止樹脂から突出して第1方向に延伸し、前記封止樹脂の外側に第1接続部を有する第1端子と、
前記封止樹脂から突出して前記第1方向に延伸し、前記封止樹脂の外側に第2接続部を有する第2端子と、
を備え、
前記第1端子及び前記第2端子が、前記第1接続部と前記第2接続部との間で互いに離隔して対向する矩形状の対向部をそれぞれ有し、
前記第1方向に直交する第2方向における前記対向部の幅が、1mm以上、13mm以下である半導体装置。
続きを表示(約 900 文字)
【請求項2】
前記第2方向における前記対向部の幅が、9mm以下である
請求項1に記載の半導体装置。
【請求項3】
前記第1端子及び前記第2端子のそれぞれの前記対向部同士の間隔は、4mm以下である
請求項1又は2に記載の半導体装置。
【請求項4】
前記第1接続部と前記第2接続部の距離は、25.5mm以下である
請求項1又は2に記載の半導体装置。
【請求項5】
前記第2方向が、前記第1端子及び前記第2端子のそれぞれの主面に平行であり、
前記第1端子及び前記第2端子が、前記第1方向及び前記第2方向に直交する第3方向において互いにずれており、
前記第1端子及び前記第2端子のそれぞれの前記対向部が、前記第1方向及び前記第2方向に直交する第3方向において互いに対向する
請求項1又は2に記載の半導体装置。
【請求項6】
前記第2方向が、前記第1端子及び前記第2端子のそれぞれの主面に直交し、
前記第1端子及び前記第2端子の互いに近接する位置で、前記第1端子及び前記第2端子のそれぞれの前記対向部が前記第2方向に折れ曲がり、前記第1方向及び前記第2方向に直交する第3方向において互いに対向する
請求項1又は2に記載の半導体装置。
【請求項7】
前記第1端子及び前記第2端子のそれぞれの前記対向部が、互いに同一の向きに折れ曲がる
請求項6に記載の半導体装置。
【請求項8】
前記第1端子及び前記第2端子のそれぞれの前記対向部が、互いに逆向きに折れ曲がる
請求項6に記載の半導体装置。
【請求項9】
前記封止樹脂は、前記第1端子及び前記第2端子のそれぞれの前記対向部を覆う突出部を有する
請求項1又は2に記載の半導体装置。
【請求項10】
前記突出部は、前記第1方向において、前記第1端子及び前記第2端子よりも前記封止樹脂の外側に延伸する
請求項9に記載の半導体装置。
発明の詳細な説明
【技術分野】
【0001】
本開示は、半導体装置(パワー半導体モジュール)に関する。
続きを表示(約 2,100 文字)
【背景技術】
【0002】
特許文献1には、P端子及びN端子の重なる部分を凸字状に形成することが開示されている。特許文献2には、直流正極用板状導体と直流負極用板状導体との導体面同士が対向するように構成することが開示されている。特許文献3には、板状の導体で構成され、正及び負の電源電位をそれぞれ伝達する2つの電源端子が、絶縁体の合成樹脂等で構成される絶縁シートを間に挟んで、互いに密着して設けられること、及び、絶縁シートの厚さは0.5mm~1.5mmであることが開示されている。
【0003】
特許文献4には、正極端子、正極端子と第一間隙を設けて対向配置された負極端子、及び第一間隙に配置された第一絶縁部材を有するキャパシタと、正極端子に重ね合わせて接続された正極入力端子、正極入力端子と第二間隙を設けて対向配置された負極端子に重ね合わせて接続された負極入力端子、並びに正極入力端子及び負極入力端子の間に配置されて第一絶縁部材の表面及び裏面の一方に接触する接触面を有する第二絶縁部材を有し、第一バスバーと嵌合された第二バスバーを有する半導体モジュールとを備える電極変換装置、及び、1つのねじとワッシャで正極/負極端子と第一/第二バスバーを締結することが開示されている。
【0004】
特許文献5には、各端子を折り曲げ、ボルトとナットで締結することが開示されている。特許文献6には、配線インダクタンスを低減するため、主回路の端子を対向させ、平行且つ近接して配置する構造が開示されている。特許文献7には、第1及び第2直流電圧ターミナル素子と、第1及び第2直流電圧接続素子が絶縁装置を挟む構成が開示されている。
【先行技術文献】
【特許文献】
【0005】
国際公開第2014/002442号
特開2007-299781号公報
特開平6-21323号公報
特許第7180812号明細書
国際公開第2019/239771号
特開2022-6780号公報
特開2018ー190965号公報
【発明の概要】
【発明が解決しようとする課題】
【0006】
従来のパワー半導体モジュールにおいて、インダクタンスを低減するために、複数の端子を互いに対向するように配置(ラミネート)することが検討されている。しかし、複数の端子を互いに対向するように配置すると、端子とコンデンサ等の外部部材とのねじ締結が困難となる場合がある。
【0007】
上記課題に鑑み、本開示は、インダクタンスを低減すると共に、端子のねじ締結が可能な半導体装置を提供することを目的とする。
【課題を解決するための手段】
【0008】
本発明の一態様は、半導体チップと、半導体チップを封止する封止樹脂と、封止樹脂から突出して第1方向に延伸し、封止樹脂の外側に第1接続部を有する第1端子と、封止樹脂から突出して第1方向に延伸し、封止樹脂の外側に第2接続部を有する第2端子と、を備え、第1端子及び前記第2端子が、第1接続部と第2接続部との間で互いに離隔して対向する矩形状の対向部をそれぞれ有し、第1方向に直交する第2方向における対向部の幅が、1mm以上、13mm以下である半導体装置であることを要旨とする。
【発明の効果】
【0009】
本開示によれば、インダクタンスを低減すると共に、端子のねじ締結が可能な半導体装置を提供することができる。
【図面の簡単な説明】
【0010】
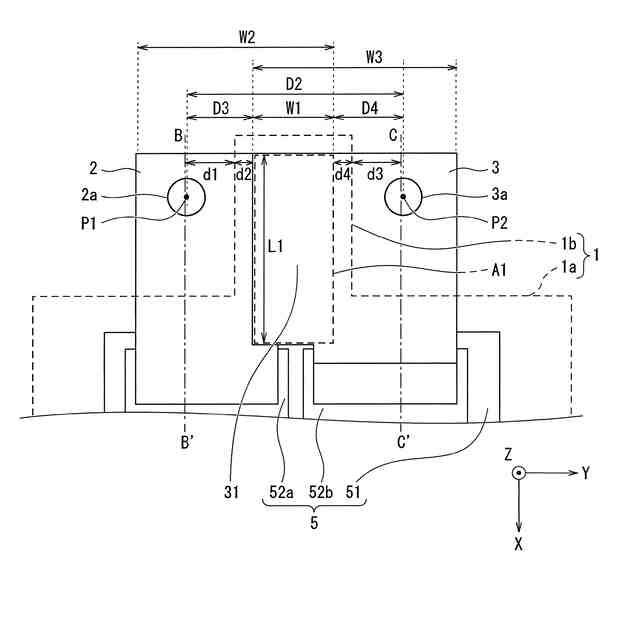
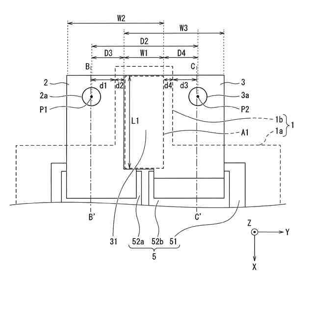
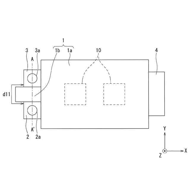
第1実施形態に係る半導体装置の平面図である。
第1実施形態に係る半導体装置の斜視図である。
図1のA-A´線に沿った断面図である。
図1のA-A´線に沿った他の断面図である。
第1実施形態に係る半導体装置の平面図である。
第1実施形態に係る半導体装置の他の平面図である。
図5のB-B´線に沿った断面図である。
図5のC-C´線に沿った断面図である。
図5のC-C´線に沿った他の断面図である。
第1実施形態に係る半導体装置の等価回路図である。
第1比較例に係る半導体装置の断面図である。
第1比較例に係る半導体装置の平面図である。
第2比較例に係る半導体装置の平面図である。
ラミネート幅及び締結点距離とインダクタンスとの関係を示す表である。
ラミネート幅及びPN間距離とインダクタンスとの関係を示す表である。
第2実施形態に係る半導体装置の斜視図である。
第2実施形態に係る半導体装置の断面図である。
第3実施形態に係る半導体装置の断面図である。
第4実施形態に係る半導体装置の断面図である。
第5実施形態に係る半導体装置の断面図である。
第6実施形態に係る半導体装置の断面図である。
第7実施形態に係る半導体装置の断面図である。
【発明を実施するための形態】
(【0011】以降は省略されています)
この特許をJ-PlatPat(特許庁公式サイト)で参照する
関連特許
富士電機株式会社
電磁接触器
17日前
富士電機株式会社
電磁接触器
17日前
富士電機株式会社
電磁接触器
17日前
富士電機株式会社
半導体装置
3日前
富士電機株式会社
電磁接触器
17日前
富士電機株式会社
電磁接触器
17日前
富士電機株式会社
エンコーダ
18日前
富士電機株式会社
半導体装置
17日前
富士電機株式会社
回路遮断器
18日前
富士電機株式会社
自動販売装置
4日前
富士電機株式会社
ショーケース
13日前
富士電機株式会社
商品収納装置
13日前
富士電機株式会社
電力変換システム
17日前
富士電機株式会社
チャンネルベース
17日前
富士電機株式会社
半導体モジュール
6日前
富士電機株式会社
チャンネルベース
17日前
富士電機株式会社
エレベータ制御装置
19日前
富士電機株式会社
エレベータ制御装置
19日前
富士電機株式会社
集積回路、電源回路
3日前
富士電機株式会社
冷却器及び半導体装置
17日前
富士電機株式会社
半導体装置の製造方法
5日前
富士電機株式会社
冷却器及び半導体モジュール
17日前
富士電機株式会社
制御回路および電力供給回路
4日前
富士電機株式会社
半導体装置及びその製造方法
17日前
富士電機株式会社
測定装置および冷却システム
19日前
富士電機株式会社
窒化物半導体装置の製造方法
17日前
富士電機株式会社
店舗内位置情報取得システム
18日前
富士電機株式会社
炭化珪素半導体装置の製造方法
17日前
富士電機株式会社
電力変換装置及びその制御方法
13日前
富士電機株式会社
半導体装置及び半導体装置の製造方法
17日前
富士電機株式会社
部分放電測定装置及び部分放電測定方法
3日前
富士電機株式会社
トリミングシステムおよび半導体モジュール
18日前
富士電機株式会社
制御支援装置、制御支援方法、及びプログラム
3日前
富士電機株式会社
異常種類提示装置、異常種類提示方法及びプログラム
17日前
富士電機株式会社
半導体モジュールおよび半導体モジュールの製造方法
4日前
富士電機株式会社
セキュリティテスト実施装置およびセキュリティテスト実施方法
5日前
続きを見る
他の特許を見る