TOP
|
特許
|
意匠
|
商標
特許ウォッチ
Twitter
他の特許を見る
公開番号
2025149467
公報種別
公開特許公報(A)
公開日
2025-10-08
出願番号
2024050132
出願日
2024-03-26
発明の名称
増幅回路
出願人
エイブリック株式会社
代理人
主分類
H03F
3/45 20060101AFI20251001BHJP(基本電子回路)
要約
【課題】応答速度が速く、出力コンデンサの容量値の大小によらず発振を防止可能な増幅回路を提供する。
【解決手段】増幅回路100は、差動増幅器101と、入力端子106及び出力端子107を有する位相補償回路102を備え、非反転入力端子111及び反転入力端子112と差動増幅器101の出力端子と接続される出力端子と、を含むトランスコンダクタンスアンプ110と、差動増幅器101から出力される信号のうち、所定周波数以上の周波数をもつ信号を通過させて非反転入力端子111及び反転入力端子112に供給するHPF113と、を有する。
【選択図】図1
特許請求の範囲
【請求項1】
差動増幅回路と、前記差動増幅回路の出力端子と接続される入力端子と、出力端子と接続される出力端子とを有する位相補償回路を備える増幅回路であって、
前記位相補償回路は、第1の入力端子及び第2の入力端子と、前記差動増幅回路の出力端子と接続される出力端子とを含むトランスコンダクタンスアンプと、
前記差動増幅回路の出力端子から出力される信号のうち、所定周波数以上の周波数をもつ信号を通過させて前記トランスコンダクタンスアンプの前記第1の入力端子及び第2の入力端子に供給するハイパスフィルタと、を有することを特徴とする増幅回路。
続きを表示(約 350 文字)
【請求項2】
前記トランスコンダクタンスアンプは、
前記ハイパスフィルタから出力される電圧を電流に変換して前記トランスコンダクタンスアンプの出力端子から電流をシンクする回路と、
前記ハイパスフィルタから出力される電圧を電流に変換して前記トランスコンダクタンスアンプの出力端子から電流をソースする回路と、
を有する請求項1に記載の増幅回路。
【請求項3】
前記トランスコンダクタンスアンプは、
前記ハイパスフィルタから出力される電圧を電流に変換して前記トランスコンダクタンスアンプの出力端子から電流をシンクする回路と、
前記トランスコンダクタンスアンプの出力端子から電流をソースする電流源と、
を有する請求項1に記載の増幅回路。
発明の詳細な説明
【技術分野】
【0001】
本発明は、増幅回路に関する。
続きを表示(約 1,300 文字)
【背景技術】
【0002】
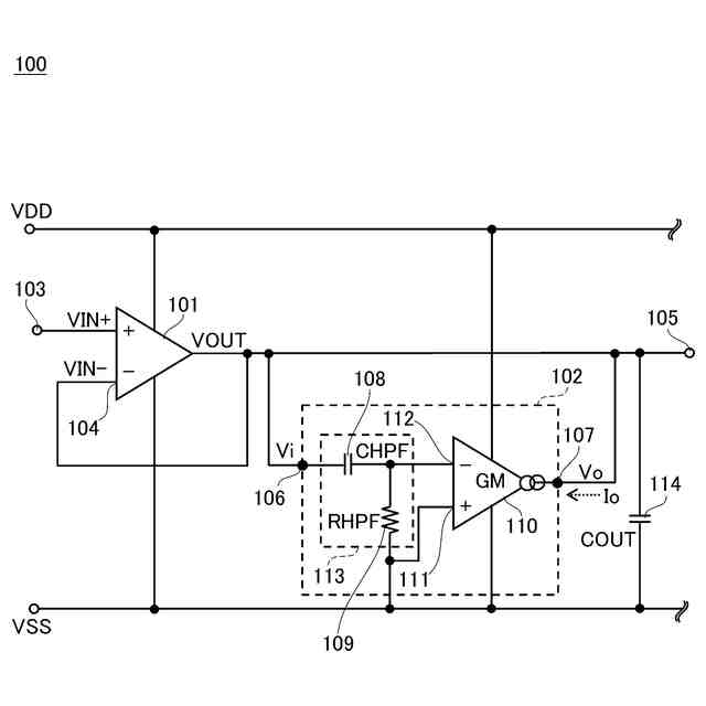
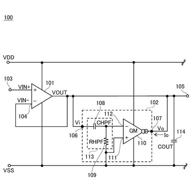
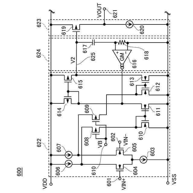
一般的に、差動増幅器やそれを備える増幅回路は、発振防止のためにコンデンサや抵抗で構成された位相補償回路を備えている。図4は、従来の位相補償回路を備えた差動増幅器600である。従来の差動増幅器600は、エラーアンプ622と出力バッファ623の間に位相補償回路624を備えている。位相補償回路624は、コンデンサ617と、抵抗618と、トランスコンダクタンスアンプ616で構成している。位相補償回路624は、コンデンサ617に流れる電流を抵抗618の両端に接続したトランスコンダクタンスアンプ616により増幅してフィードバックすることにより、出力端子621に接続される出力コンデンサの容量の大小によらず発振を防止することが出来る(例えば、特許文献1参照)。
【先行技術文献】
【特許文献】
【0003】
特開2011-151637号公報
【発明の概要】
【発明が解決しようとする課題】
【0004】
しかしながら、従来の位相補償回路624を備えた差動増幅器600では、開ループ利得が1倍(0dB)となる周波数が低くなることから、入力される信号に対して出力される信号の応答速度が遅くなってしまうという点で改善の余地がある。
【0005】
本発明は、上述した事情を考慮してなされたものであり、応答速度が速く、出力コンデンサの容量値の大小によらず発振を防止可能な増幅回路を提供することを目的とする。
【課題を解決するための手段】
【0006】
本発明の実施形態に係る増幅回路は、差動増幅回路と、前記差動増幅回路の出力端子と接続される入力端子と、出力端子と接続される出力端子とを有する位相補償回路を備える増幅回路であって、前記位相補償回路は、第1の入力端子及び第2の入力端子と、前記差動増幅回路の出力端子と接続される出力端子とを含むトランスコンダクタンスアンプと、前記差動増幅回路の出力端子から出力される信号のうち、所定周波数以上の周波数をもつ信号を通過させて前記トランスコンダクタンスアンプの前記第1の入力端子及び第2の入力端子に供給するハイパスフィルタと、を有することを特徴とする。
【発明の効果】
【0007】
本発明に係る増幅回路によれば、応答速度が速く、出力コンデンサの容量値の大小によらず発振を防止することが出来る。
【図面の簡単な説明】
【0008】
本発明の実施形態に係る増幅回路を示す回路図である。
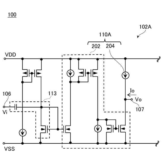
本実施形態の位相補償回路の他の例を示す回路図である。
本実施形態の位相補償回路の他の例を示す回路図である。
従来の位相補償回路を備えた差動増幅器を示す回路図である。
本実施形態に係る増幅回路及び比較例の周波数と開ループ利得及び周波数と位相を示すグラフである。
【発明を実施するための形態】
【0009】
以下、本発明の実施形態に係る増幅回路について、図面を参照して説明する。
【0010】
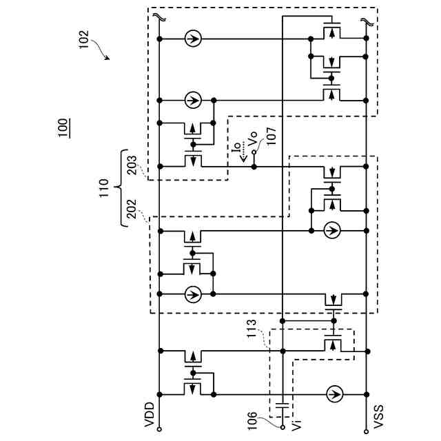
図1は、本発明の実施形態に係る増幅回路である増幅回路100の構成例を示す回路図である。
(【0011】以降は省略されています)
この特許をJ-PlatPat(特許庁公式サイト)で参照する
関連特許
エイブリック株式会社
増幅器
2日前
エイブリック株式会社
増幅器
9日前
エイブリック株式会社
増幅回路
3日前
日本電波工業株式会社
圧電振動片
1日前
エイブリック株式会社
電圧検出器
1か月前
株式会社トーキン
ノイズフィルタ
1か月前
株式会社村田製作所
増幅回路
1か月前
株式会社半導体エネルギー研究所
駆動回路
12日前
株式会社村田製作所
高周波回路
1か月前
TDK株式会社
電子部品
1日前
TDK株式会社
電子部品
2日前
ローム株式会社
半導体集積回路
1か月前
株式会社村田製作所
弾性波フィルタ
22日前
住友電気工業株式会社
高周波増幅器
22日前
ローム株式会社
駆動回路
1か月前
ローム株式会社
遅延回路
1か月前
ローム株式会社
A/Dコンバータ回路
1か月前
ローム株式会社
駆動回路
1か月前
日清紡マイクロデバイス株式会社
演算増幅器
10日前
アルプスアルパイン株式会社
センサ装置
4日前
ローム株式会社
圧電共振器
1か月前
ニチコン株式会社
信号出力装置
1か月前
エイブリック株式会社
出力制御回路及び電圧出力回路
9日前
エイブリック株式会社
電流制限回路及び電流制限装置
9日前
太陽誘電株式会社
フィルタ及びマルチプレクサ
3日前
株式会社NTTドコモ
リニアライザ
4日前
セイコーエプソン株式会社
振動素子
22日前
日本電気株式会社
原子発振器
1か月前
ローム株式会社
コンパレータ回路、電源回路
1か月前
ローム株式会社
差動アンプおよび半導体装置
1か月前
株式会社JVCケンウッド
電源装置および増幅装置
22日前
ローム株式会社
差動アンプおよび半導体装置
22日前
ローム株式会社
発振回路
12日前
ローム株式会社
発振回路
1か月前
TDK株式会社
フィルタ及び電子部品
16日前
ローム株式会社
発振回路
1日前
続きを見る
他の特許を見る