TOP
|
特許
|
意匠
|
商標
特許ウォッチ
Twitter
他の特許を見る
公開番号
2025143979
公報種別
公開特許公報(A)
公開日
2025-10-02
出願番号
2024043524
出願日
2024-03-19
発明の名称
出力制御回路及び電圧出力回路
出願人
エイブリック株式会社
代理人
主分類
H03K
19/0175 20060101AFI20250925BHJP(基本電子回路)
要約
【課題】ハイサイドスイッチの前段、またはその制御信号の経路上にレベルシフト回路が存在しながらもデッドタイムの短縮が可能な電圧出力回路を提供する。
【解決手段】出力制御回路10は、ノードHS_GATEと接続される出力端子10b及びノードLS_GATEと接続される出力端子10cと、入力端子10aと、レベルシフト回路120と、入力される信号をレベルシフト回路120の遅延時間よりも長い時間に設定された遅延時間の経過後に出力する遅延回路130と、遅延回路130の出力端と接続される入力端に入力される信号をレベルシフトして出力するレベルシフト回路121と、2個の入力端から入力される信号の信号レベルに基づき第1レベル及び第2レベルの何れか一方に決定される信号レベルの信号を出力する制御回路としてのAND回路125と、を備える。
【選択図】図1
特許請求の範囲
【請求項1】
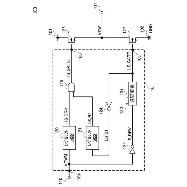
制御端を含む第1のスイッチ及び第2のスイッチを直列に接続して構成されるスイッチ回路の前記第1のスイッチの制御端及び前記第2のスイッチの制御端とそれぞれ接続される第1の出力端子及び第2の出力端子と、
入力端子と、
前記入力端子と接続される入力端と、前記入力端に入力される信号をレベルシフトして出力する出力端とを有する第1のレベルシフト回路と、
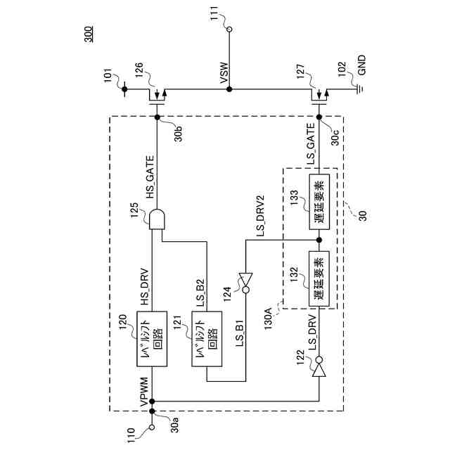
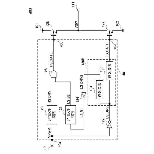
前記入力端子に接続される入力端と、前記第2の出力端子に接続される第1の出力端とを有し、前記入力端から入力される信号を前記第1のレベルシフト回路の遅延時間よりも長い時間に設定された遅延時間の経過後に出力する遅延回路と、
前記遅延回路の出力端と接続される入力端と、前記入力端に入力される信号をレベルシフトして出力する出力端とを含む第2のレベルシフト回路と、
前記第1のレベルシフト回路の出力端と接続される第1の入力端と、前記第2のレベルシフト回路の出力端と接続される第2の入力端と、前記第1の出力端子と接続される出力端とを含み、前記第1の入力端から入力される信号及び前記第2の入力端から入力される信号の信号レベルに基づき第1レベル及び第2レベルの何れか一方に決定される信号レベルの信号を出力する制御回路と、
を備えることを特徴とする出力制御回路。
続きを表示(約 990 文字)
【請求項2】
前記第2のレベルシフト回路は、前記第1のレベルシフト回路の動作速度よりも高速な動作速度に構成される請求項1に記載の出力制御回路。
【請求項3】
前記第2のレベルシフト回路は、自己の出力端から出力する信号が第1信号レベルから第2信号レベルへ遷移する速度に対して、前記第2信号レベルから前記第1信号レベルへ遷移する速度が高速に構成される請求項1に記載の出力制御回路。
【請求項4】
前記遅延回路は、前記入力端子に接続される入力端と、前記第2の出力端子に接続される出力端とを含む遅延要素を有する請求項1に記載の出力制御回路。
【請求項5】
前記遅延回路は、前記第2のレベルシフト回路の入力端と接続される第2の出力端を含んでおり、
前記遅延回路の入力端と同一ノードである入力端と、前記遅延回路の前記第2の出力端と同一ノードである出力端とを含む第1の遅延要素と、
前記第1の遅延要素の出力端と接続される入力端と、前記遅延回路の前記第1の出力端と同一ノードである出力端とを含む第2の遅延要素と、
を有する請求項1に記載の出力制御回路。
【請求項6】
前記遅延回路は、前記第2のレベルシフト回路の入力端と接続される第2の出力端を含んでおり、
前記遅延回路の入力端と同一ノードである入力端と、前記遅延回路の前記第2の出力端と同一ノードである出力端とを含む第1の遅延要素と、
前記第1の遅延要素の入力端と接続される入力端と、前記遅延回路の前記第1の出力端と同一ノードである出力端とを含む第2の遅延要素と、
を有する請求項1に記載の出力制御回路。
【請求項7】
前記制御回路の第1の入力端と接続される入力端と、前記制御回路の出力端と接続される出力端と、を含むプリチャージ回路を備える請求項1から6の何れか一項に記載の出力制御回路。
【請求項8】
請求項1から6の何れか一項に記載の出力制御回路と、
前記出力制御回路の入力端子と接続される入力端子と、
前記第1のスイッチと、
前記第2のスイッチと、
前記第1のスイッチと前記第2のスイッチとの接続点と接続される出力端子と、
を備える電圧出力回路。
発明の詳細な説明
【技術分野】
【0001】
本発明は、出力制御回路及び電圧出力回路に関する。
続きを表示(約 1,700 文字)
【背景技術】
【0002】
一般的に、出力制御回路は、スイッチングレギュレータ等の電圧出力回路の出力部に使用され、直列に接続されたハイサイドスイッチとローサイドスイッチに貫通電流が流れないようデッドタイムが設けられている(例えば、特許文献1参照)。
【先行技術文献】
【特許文献】
【0003】
特開2023-90037号公報
【発明の概要】
【発明が解決しようとする課題】
【0004】
しかしながら、従来の出力制御回路では、ハイサイドスイッチの前段、またはその制御信号の経路上にレベルシフト回路が必要な場合があり、そのレベルシフト回路の遅延時間が付加されることによってデッドタイムの最小値が制限されてしまうという点で改善の余地がある。
【0005】
本発明は、上述した事情を考慮し、ハイサイドスイッチの前段、またはその制御信号の経路上にレベルシフト回路が存在しながらもデッドタイムの短縮が可能な出力制御回路及び電圧出力回路を提供することを目的とする。
【課題を解決するための手段】
【0006】
本発明に係る出力制御回路は、制御端を含む第1のスイッチ及び第2のスイッチを直列に接続して構成されるスイッチ回路の前記第1のスイッチの制御端及び前記第2のスイッチの制御端とそれぞれ接続される第1の出力端子及び第2の出力端子と、入力端子と、前記入力端子と接続される入力端と、前記入力端に入力される信号をレベルシフトして出力する出力端とを有する第1のレベルシフト回路と、前記入力端子に接続される入力端と、前記第2の出力端子に接続される第1の出力端とを有し、前記入力端から入力される信号を前記第1のレベルシフト回路の遅延時間よりも長い時間に設定された遅延時間の経過後に出力する遅延回路と、前記遅延回路の出力端と接続される入力端と、前記入力端に入力される信号をレベルシフトして出力する出力端とを含む第2のレベルシフト回路と、前記第1のレベルシフト回路の出力端と接続される第1の入力端と、前記第2のレベルシフト回路の出力端と接続される第2の入力端と、前記第1の出力端子と接続される出力端とを含み、前記第1の入力端から入力される信号及び前記第2の入力端から入力される信号の信号レベルに基づき第1レベル及び第2レベルの何れか一方に決定される信号レベルの信号を出力する制御回路と、を備えることを特徴とする。
【0007】
本発明に係る電圧出力回路は、前記出力制御回路と、前記出力制御回路の入力端子と接続される入力端子と、前記第1のスイッチと、前記第2のスイッチと、前記第1のスイッチと前記第2のスイッチとの接続点と接続される出力端子と、を備えることを特徴とする。
【発明の効果】
【0008】
本発明によれば、ハイサイドスイッチの前段、またはその制御信号の経路上にレベルシフト回路が存在しながらもデッドタイムの短縮が可能な出力制御回路及び電圧出力回路を提供することができる。
【図面の簡単な説明】
【0009】
本発明の第1の実施形態に係る出力制御回路及び電圧出力回路の構成例を示す回路図である。
第1の実施形態に係る出力制御回路の各ノードの信号波形を示す図である。
本発明の第2の実施形態に係る出力制御回路及び電圧出力回路の構成例を示す回路図である。
第2の実施形態に係る出力制御回路の各ノードの信号波形を示す図である。
本発明の第3の実施形態に係る出力制御回路及び電圧出力回路の構成例を示す回路図である。
第3の実施形態に係る出力制御回路の各ノードの信号波形を示す図である。
第3の実施形態に係る出力制御回路及び電圧出力回路の他の構成例を示す回路図である。
【発明を実施するための形態】
【0010】
以下、本発明の実施形態に係る出力制御回路及び電圧出力回路を、図面に基づいて説明する。
(【0011】以降は省略されています)
この特許をJ-PlatPat(特許庁公式サイト)で参照する
関連特許
エイブリック株式会社
増幅器
6日前
エイブリック株式会社
増幅回路
今日
エイブリック株式会社
半導体装置
6日前
エイブリック株式会社
磁気センサ回路
6日前
エイブリック株式会社
出力制御回路及び電圧出力回路
6日前
エイブリック株式会社
電流制限回路及び電流制限装置
6日前
エイブリック株式会社
充放電制御回路及びバッテリ装置
6日前
エイブリック株式会社
ボルテージレギュレータ及び半導体装置
今日
エイブリック株式会社
ブートストラップ回路及びスイッチングレギュレータ
6日前
エイブリック株式会社
増幅器
6日前
エイブリック株式会社
増幅回路
今日
エイブリック株式会社
電圧検出器
1か月前
株式会社大真空
圧電振動デバイス
2か月前
日本電波工業株式会社
圧電デバイス
2か月前
株式会社トーキン
ノイズフィルタ
1か月前
ローム株式会社
オペアンプ
2か月前
ローム株式会社
オペアンプ
2か月前
ローム株式会社
オペアンプ
2か月前
株式会社半導体エネルギー研究所
駆動回路
9日前
株式会社大真空
恒温槽型圧電発振器
1か月前
株式会社村田製作所
増幅回路
1か月前
個人
誤り訂正装置及び誤り訂正方法
1か月前
三菱電機株式会社
半導体装置
2か月前
ローム株式会社
オペアンプ回路
2か月前
ローム株式会社
オペアンプ回路
2か月前
ローム株式会社
半導体集積回路
2か月前
ローム株式会社
半導体集積回路
1か月前
ローム株式会社
オシレータ回路
3か月前
ローム株式会社
半導体集積回路
2か月前
株式会社村田製作所
高周波回路
1か月前
ローム株式会社
半導体スイッチ
3か月前
ローム株式会社
半導体スイッチ
3か月前
ローム株式会社
オペアンプ回路
2か月前
台灣晶技股ふん有限公司
パッケージ構造
3か月前
株式会社村田製作所
弾性波フィルタ
3か月前
株式会社村田製作所
弾性波フィルタ
19日前
続きを見る
他の特許を見る