TOP
|
特許
|
意匠
|
商標
特許ウォッチ
Twitter
他の特許を見る
10個以上の画像は省略されています。
公開番号
2025158590
公報種別
公開特許公報(A)
公開日
2025-10-17
出願番号
2024061279
出願日
2024-04-05
発明の名称
運転支援装置および車両
出願人
株式会社SUBARU
代理人
弁理士法人つばさ国際特許事務所
主分類
G08G
1/16 20060101AFI20251009BHJP(信号)
要約
【課題】ドライバに煩わしさを感じさせる報知を抑制しつつ、死角から車両が飛び出す可能性をドライバに報知することの可能な運転支援装置および車両を提供する。
【解決手段】本開示の一実施の形態に係る運転支援装置は、取得部および制御部を備える。取得部は、第1の車両の前方に死角領域が存在することを示す第1のデータと、死角領域に存在すると予想される第2の車両から発せられる音についての第2のデータと、第2の車両の周辺の環境についての第3のデータとを取得することが可能となっている。制御部は、第1のデータ、第2のデータおよび第3のデータに基づいて第1の車両の運転支援を制御することが可能となっている。
【選択図】図1
特許請求の範囲
【請求項1】
第1の車両の前方に死角領域が存在することを示す第1のデータと、前記死角領域に存在すると予想される第2の車両から発せられる音についての第2のデータと、第2の車両の周辺の環境についての第3のデータとを取得することの可能な取得部と、
前記第1のデータ、前記第2のデータおよび前記第3のデータに基づいて前記第1の車両の運転支援を制御することの可能な制御部と
を備え、
前記制御部は、
前記第3のデータに基づいて、前記第2の車両の向きの推定を行うことと、
前記第2の車両の向きが、前記第1の車両が走行する車線側であると推定したときは、前記第2の車両が前記死角領域から飛び出す可能性が高いと判定し、前記第2の車両の向きが、前記第1の車両が走行する車線側とは反対方向であると推定したときは、前記第2の車両が前記死角領域から飛び出す可能性が低いと判定することと、
飛び出す可能性の高さに応じた、前記第1の車両のドライバへの報知もしくは前記第1の車両の走行制御を行うことと
を実行することが可能となっている
運転支援装置。
続きを表示(約 1,100 文字)
【請求項2】
前記制御部は、前記取得部において前記第1のデータおよび前記第2のデータが取得されたとき、前記第3のデータに基づいて前記第1の車両の運転支援を制御することが可能となっている
請求項1に記載の運転支援装置。
【請求項3】
前記第3のデータは、前記第2の車両の機能に起因して変化する環境についてのデータである
請求項1に記載の運転支援装置。
【請求項4】
前記第3のデータは、前記死角領域の周囲領域のうち、前記第1の車両が走行する車線側の領域における環境についてのデータである
請求項1に記載の運転支援装置。
【請求項5】
前記第2のデータは、前記第2の車両のエンジン起動音、前記第2の車両の電源起動音、前記第2の車両のドアの開閉音、および前記第2の車両のバックミラーの開閉音のいずれか1つについてのデータである
請求項1に記載の運転支援装置。
【請求項6】
前記第3のデータは、前記第2の車両の排気ガスの温度の高さ、前記第2の車両の排気ガスの温度の分布、前記第2の車両のライトの色、前記第2の車両のドアの影、および歩行者の動きのいずれか1つについてのデータである
請求項3に記載の運転支援装置。
【請求項7】
前記第3のデータは、前記第2の車両が一時停車することが予め定められた位置についてのデータであり、
前記取得部は、前記第2の車両が一時停車する時間についての第4のデータを取得することが可能となっており、
前記制御部は、前記第3のデータおよび前記第4のデータに基づいて前記第2の車両の向きの推定を行うことが可能となっている
請求項1に記載の運転支援装置。
【請求項8】
前記第2の車両は、バスであり、
前記第3のデータは、バス停留所の位置についてのデータであり、
前記第4のデータは、バス時刻表である
請求項7に記載の運転支援装置。
【請求項9】
前記第2の車両は、ごみ収集車であり、
前記第3のデータは、ごみ収取所の位置についてのデータであり、
前記第4のデータは、ごみ収集スケジュールである
請求項7に記載の運転支援装置。
【請求項10】
前記制御部は、前記第2のデータおよび前記第3のデータのうち少なくとも一方に基づいて前記第2の車両が停車しているか否かを判定し、前記第2の車両が停車していると判定した場合に、前記第3のデータに基づいて、前記第2の車両の向きの推定を行うことが可能となっている
請求項1に記載の運転支援装置。
(【請求項11】以降は省略されています)
発明の詳細な説明
【技術分野】
【0001】
本開示は、運転支援装置および車両に関する。
続きを表示(約 2,000 文字)
【背景技術】
【0002】
自車両の周囲に存在するリスクに基づいて、自車両の走行を支援する運転支援装置が知られている。例えば、自車両の前方に死角が存在するとき、死角から車両が飛び出す可能性を推定することが、特許文献1,2および非特許文献1に開示されている。
【先行技術文献】
【特許文献】
【0003】
特許第7251611号公報
特開2020-42446号公報
【非特許文献】
【0004】
Masao Ishihama, et al. “Basic Study on Detecting Vehicles Outside the Field of View using Acoustic Signals.” 自動車技術会2022年春季大会, 2022.
【発明の概要】
【0005】
本開示の一実施の形態に係る運転支援装置は、取得部および制御部を備える。取得部は、第1の車両の前方に死角領域が存在することを示す第1のデータと、死角領域に存在すると予想される第2の車両から発せられる音についての第2のデータと、第2の車両の周辺の環境についての第3のデータとを取得することが可能となっている。制御部は、第1のデータ、第2のデータおよび第3のデータに基づいて第1の車両の運転支援を制御することが可能となっている。
【0006】
本開示の一実施の形態に係る車両は、本開示の一実施の形態に係る運転支援装置を備える。運転支援装置は、第1の車両を本開示の一実施の形態に係る車両として、本開示の一実施の形態に係る車両のドライバへの報知もしくは本開示の一実施の形態に係る車両の走行制御を行うことが可能となっている。
【図面の簡単な説明】
【0007】
添付図面は、本開示をさらに理解するために設けられており、本明細書に組み込まれるとともに、本明細書の一部を構成するものである。図面は、一実施の形態を示し、明細書とともに、本開示の原理を説明する役割を果たす。
【0008】
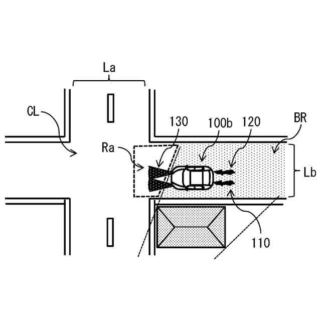
図1は、交通状況の一例を表す図である。
図2は、本開示の第1の実施の形態に係る車両の機能ブロックの一例を表す図である。
図3は、交通車線側領域を説明するための図である。
図4は、交通車線側領域に排気ガスが放出されている様子を表す図である。
図5は、交通車線側領域に排気ガスが放出されていない様子を表す図である。
図6は、交通車線側領域にテールランプ光が照射されている様子を表す図である。
図7は、交通車線側領域にヘッドランプ光が照射されている様子を表す図である。
図8は、交通車線側領域に車両のボディの影が投影されている様子を表す図である。
図9は、交通車線側領域に車両のボディおよびドアの影が投影されている様子を表す図である。
図10は、図2の車両における運転支援手順の一例を表す図である。
図11は、交通車線側領域を歩行者が移動している様子を表す図である。
図12は、交通車線側領域を歩行者が移動している様子を表す図である。
図13は、交通状況の一例を表す図である。
図14は、本開示の第2の実施の形態に係る車両の機能ブロックの一例を表す図である。
図15は、交通状況の一例を表す図である。
図16は、本開示の第2の実施の形態に係る車両の機能ブロックの一例を表す図である。
【発明を実施するための形態】
【0009】
以下、本開示のいくつかの例示的な実施の形態を、添付図面を参照して詳細に説明する。なお、以下の説明は、本開示の一具体例を示すものであり、本開示を限定するものと解釈されてはならない。例えば、数値、形状、材料、部品、各部品の位置および各部品の接続方法等を含む各要素は、一例にすぎず、本開示を限定するものと解釈されてはならない。また、以下の例示的な実施の形態において、本開示の最上位概念に基づく独立項に記載されていない構成要素は、任意的なものであり、必要に応じて設けられ得る。図面は模式的なものであり、原寸通りの図示を意図してはいない。本明細書および図面の全般において、略同じ機能および略同じ構成を有する構成要素については、同一の参照符号を付し、重複する説明を省略する。また、本開示の一実施の形態に直接関係の無い構成要素は、図面に図示してはいない。
【0010】
<1.背景>
自車両の周囲に存在するリスクに基づいて、自車両の走行を支援する運転支援装置が知られている。例えば、自車両の前方に死角が存在するとき、死角から車両が飛び出す可能性を推定することが、特許文献1,2および非特許文献1に開示されている。
(【0011】以降は省略されています)
この特許をJ-PlatPat(特許庁公式サイト)で参照する
関連特許
株式会社SUBARU
車体前部構造
1日前
株式会社SUBARU
車体前部構造
1日前
株式会社SUBARU
車体前部構造
1日前
株式会社SUBARU
車両用周辺監視装置
1日前
株式会社SUBARU
車両の車高自動調整装置
3日前
日本精機株式会社
警報システム
1か月前
株式会社SUBARU
車両
15日前
個人
自動電動車椅子
1か月前
スズキ株式会社
運転支援装置
1か月前
エムケー精工株式会社
車両誘導装置
1か月前
株式会社国際電気
防災システム
1か月前
個人
磁気路上での車両の路線離脱防御
25日前
ニッタン株式会社
発信機
2か月前
ニッタン株式会社
発信機
2か月前
ニッタン株式会社
検知器
1か月前
ニッタン株式会社
検知器
1か月前
ニッタン株式会社
検知器
22日前
ニッタン株式会社
検知器
1か月前
トヨタ自動車株式会社
車両
2か月前
個人
乗り物の移動を支援する方法及び装置
3か月前
ダイハツ工業株式会社
移動支援装置
7日前
大阪瓦斯株式会社
音声出力システム
21日前
株式会社小糸製作所
移動体検出装置
1か月前
日本信号株式会社
情報提供システム
3か月前
日本信号株式会社
信号情報システム
3か月前
株式会社SUBARU
運転支援装置
23日前
日本信号株式会社
異常走行検出装置
29日前
株式会社JVCケンウッド
警報装置
3か月前
トヨタ自動車株式会社
サーバ
29日前
三菱自動車工業株式会社
制御システム
21日前
株式会社CCT
通信装置及び表示方法
22日前
株式会社デンソー
運航管理装置
14日前
日本精機株式会社
報知装置及び報知システム
1か月前
株式会社小糸製作所
車両検出システム
1か月前
株式会社SUBARU
事故情報収集装置
15日前
個人
現示内容に関する情報放送機能付き信号機
2か月前
続きを見る
他の特許を見る