TOP
|
特許
|
意匠
|
商標
特許ウォッチ
Twitter
他の特許を見る
10個以上の画像は省略されています。
公開番号
2025155520
公報種別
公開特許公報(A)
公開日
2025-10-14
出願番号
2024130967,2024056801
出願日
2024-08-07,2024-03-29
発明の名称
積層セラミック電子部品および誘電体磁器組成物
出願人
太陽誘電株式会社
代理人
弁理士法人片山特許事務所
主分類
H01G
4/30 20060101AFI20251002BHJP(基本的電気素子)
要約
【課題】 強誘電性を維持しつつBias特性を改善することができる積層セラミック電子部品を提供する。
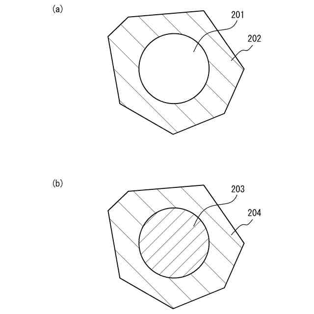
【解決手段】 積層セラミック電子部品は、チタン酸バリウムを主成分とし、コア部および前記コア部を覆うシェル部を有し、前記シェル部にカルシウムが固溶し、前記シェル部におけるカルシウム濃度が前記コア部におけるカルシウム濃度の10倍以上である複数の結晶粒子を含む誘電体層と、前記誘電体層を挟んで設けられ、ニッケルまたは銅を主成分とする内部電極と、前記内部電極に電気的に接続される外部電極と、を有する。
【選択図】 図1
特許請求の範囲
【請求項1】
チタン酸バリウムを主成分とし、コア部および前記コア部を覆うシェル部を有し、前記シェル部にカルシウムが固溶し、前記シェル部におけるカルシウム濃度が前記コア部におけるカルシウム濃度の10倍以上である複数の結晶粒子を含む誘電体層と、
前記誘電体層を挟んで設けられ、ニッケルまたは銅を主成分とする内部電極と、
前記内部電極に電気的に接続される外部電極と、を有する積層セラミック電子部品。
続きを表示(約 630 文字)
【請求項2】
前記シェル部は、ガドリニウム、ジスプロシウム、ホルミウムまたはイットリウムの少なくとも一つを含む、請求項1に記載の積層セラミック電子部品。
【請求項3】
前記複数の結晶粒子同士の境界である粒界または粒界三重点に、ケイ素と、アルミニウム、マグネシウムまたはマンガンの少なくとも一つと、を含む、請求項1に記載の積層セラミック電子部品。
【請求項4】
前記複数の結晶粒子の平均粒径は、50nm以上400nm以下である、請求項1に記載の積層セラミック電子部品。
【請求項5】
前記誘電体層は、前記複数の結晶粒子とは構造の異なる副結晶粒子を含む、請求項1に記載の積層セラミック電子部品。
【請求項6】
前記シェル部は、ストロンチウムをさらに含む、請求項1に記載の積層セラミック電子部品。
【請求項7】
前記シェル部は、ストロンチウムをさらに含み、
前記シェル部におけるストロンチウムとカルシウムの和に対するストロンチウムの比率は、0.2以上0.4以下である、請求項1に記載の積層セラミック電子部品。
【請求項8】
チタン酸バリウムを主成分とし、コア部および前記コア部を覆うシェル部を有し、前記シェル部にカルシウムが固溶し、前記シェル部におけるカルシウム濃度が前記コア部におけるカルシウム濃度の10倍以上である複数の結晶粒子を有する誘電体磁器組成物。
発明の詳細な説明
【技術分野】
【0001】
本発明は、積層セラミック電子部品および誘電体磁器組成物に関する。
続きを表示(約 2,500 文字)
【背景技術】
【0002】
携帯電話を代表とする高周波通信用システムなどにおいて、ノイズを除去するために、積層セラミックコンデンサ(MLCC:Multi-Layer ceramic capacitor)などの積層セラミック電子部品が用いられている(例えば、特許文献1~10を参照)。
【先行技術文献】
【特許文献】
【0003】
特開2002-226263号公報
特開2002-284571号公報
特開2009-161417号公報
特開2007-001859号公報
特開2017-028225号公報
特開2013-180906号公報
特開2016-128372号公報
特開2017-014093号公報
特開2006-151766号公報
特開2013-209239号公報
【発明の概要】
【発明が解決しようとする課題】
【0004】
積層セラミック電子部品は、誘電体材料に常誘電体を使用するClass Iと、強誘電体を使用するClass IIとに大別される。Class IIの積層セラミック電子部品は、高誘電率型とも呼ばれ、チタン酸バリウム(BaTiO
3
)に代表される数千以上という高い比誘電率の材料が使用される。これにより、非常に高い容量密度(単位体積当たりの静電容量)を実現することが可能となり、小型大容量の積層セラミック電子部品が一般に使用されてきた。一方で、Class IIの積層セラミック電子部品は、強誘電体であるがゆえに直流電圧(Dc Bias)が印加されると、その大きさに応じて静電容量が低下するという特性(Dc Bias特性)を持っているため,高電圧用途に不向きであるという欠点があった。
【0005】
近年、車載用途などで高定格電圧かつ高容量の積層セラミック電子部品が求められるようになっているため、Bias特性の改善が重要になっている。Class IIの積層セラミック電子部品において,このBias特性を改善するために、これまでに様々な材料改質の手法が提案されている。主な手法としては、チタン酸バリウムを合成する過程で一部の元素を置換した化合物とすることでチタン酸バリウムとは異なった強誘電体に変えたものをチタン酸バリウムの代わりに主相として用いる方法である。チタンの一部をジルコニウムに変えたBa(Ti,Zr)O
3
(例えば、特許文献1参照)や、バリウムの一部をカルシウムとストロンチウムで置換した(Ba,Ca,Sr)TiO
3
(例えば、特許文献2参照)などが挙げられる。他にも、BaZrO
3
(例えば、特許文献3参照)など、類似の手法の情報が公開されている。別の手法としては、チタン酸バリウムに遷移元素やアルカリ土類などを微量に含ませておくという手法(例えば、特許文献4,5参照)も報告されている。チタン酸バリウムとは全く結晶構造の異なった物性をもつClass IIに対応する材料を用いる方法も提案されている。例えばタングステンブロンズ構造の材料(例えば、特許文献6参照)などである。ビスマスや鉛を用いた材料系で優れたBias特性を有するものの報告も数多くある(例えば、特許文献7,8参照)。
【0006】
しかしながら、チタン酸バリウムの元素置換型(例えば、特許文献1~5)のいずれの材料もチタン酸バリウムの強誘電性を大幅に低下させることでBias特性を穏健なものにするという手段である。それにより、Biasに対する比誘電率の変化率を小さく抑えることはできるが、肝心の比誘電率の絶対値として低くなりすぎてしまう問題があった。チタン酸バリウムとは別の結晶構造の材料(例えば、特許文献6)はBias印加以前の比誘電率がそもそもチタン酸バリウムと比べてかなり低い材料であり、やはり比誘電率の変化率は小さくても比誘電率絶対値としては小さいものになってしまう。ビスマスや鉛を含んだ材料系(例えば、特許文献7,8)は、比誘電率の絶対値的にも材料組成によってバリエーションがあるのでBias特性として有望な材料系ではあるが、ニッケルのような卑金属電極と同時焼成できない(誘電体中で還元してしまう)という問題がある。ビスマス系は、最適酸素分圧条件の幅が狭すぎて量産に向かない。更にビスマス、鉛は、蒸気圧が高く特に還元雰囲気では焼成中に蒸散してしまって焼結性も電気特性も大きく動いてしまうので、個体間の特性ばらつきが許容できない程に大きくなってしまう問題がある。
【0007】
本発明は、上記課題に鑑みなされたものであり、強誘電性を維持しつつBias特性を改善することができる積層セラミック電子部品を提供することを目的とする。
【課題を解決するための手段】
【0008】
本発明に係る積層セラミック電子部品は、チタン酸バリウムを主成分とし、コア部および前記コア部を覆うシェル部を有し、前記シェル部にカルシウムが固溶し、前記シェル部におけるカルシウム濃度が前記コア部におけるカルシウム濃度の10倍以上である複数の結晶粒子を含む誘電体層と、前記誘電体層を挟んで設けられ、ニッケルまたは銅を主成分とする内部電極と、前記内部電極に電気的に接続される外部電極と、を有する。
【0009】
上記積層セラミック電子部品において、前記シェル部は、ガドリニウム、ジスプロシウム、ホルミウムまたはイットリウムの少なくとも一つを含んでいてもよい。
【0010】
上記積層セラミック電子部品において、前記複数の結晶粒子同士の境界である粒界または粒界三重点に、ケイ素と、アルミニウム、マグネシウムまたはマンガンの少なくとも一つと、を含んでいてもよい。
(【0011】以降は省略されています)
この特許をJ-PlatPat(特許庁公式サイト)で参照する
関連特許
太陽誘電株式会社
コイル部品
7日前
太陽誘電株式会社
コイル部品
8日前
太陽誘電株式会社
コイル部品
7日前
太陽誘電株式会社
コイル部品
3日前
太陽誘電株式会社
生体情報測定装置
7日前
太陽誘電株式会社
セラミック電子部品
7日前
太陽誘電株式会社
積層セラミック電子部品
7日前
太陽誘電株式会社
グルコース濃度推定装置
8日前
太陽誘電株式会社
積層セラミック電子部品
9日前
太陽誘電株式会社
積層セラミック電子部品
3日前
太陽誘電株式会社
センサ装置および取付方法
8日前
太陽誘電株式会社
積層セラミックコンデンサ
8日前
太陽誘電株式会社
コイル部品および実装基板
8日前
太陽誘電株式会社
フィルタ及びマルチプレクサ
9日前
太陽誘電株式会社
血圧測定装置および血圧測定方法
8日前
太陽誘電株式会社
コイル部品、コイル部品の製造方法
7日前
太陽誘電株式会社
コイル部品、コイル部品の製造方法
7日前
太陽誘電株式会社
コイル部品及びコイル部品の製造方法
7日前
太陽誘電株式会社
積層セラミックコンデンサ及び回路基板
8日前
太陽誘電株式会社
積層セラミックコンデンサ及び回路基板
10日前
太陽誘電株式会社
積層セラミック電子部品及びその製造方法
7日前
太陽誘電株式会社
磁性基体及び磁性基体を備えるコイル部品
7日前
太陽誘電株式会社
積層セラミック電子部品およびその製造方法
7日前
太陽誘電株式会社
積層セラミック電子部品およびその製造方法
8日前
太陽誘電株式会社
積層セラミック電子部品およびその製造方法
7日前
太陽誘電株式会社
位置情報システム、情報処理装置及び情報処理方法
9日前
太陽誘電株式会社
心拍検出システム、心拍検出方法およびプログラム
7日前
太陽誘電株式会社
積層セラミック電子部品、積層セラミック電子部品の製造方法
7日前
太陽誘電株式会社
積層セラミック電子部品、積層セラミック電子部品の製造方法
7日前
太陽誘電株式会社
心拍検出装置、心拍検出システム、心拍検出方法およびプログラム
7日前
太陽誘電株式会社
心拍検出装置、心拍検出システム、心拍検出方法およびプログラム
7日前
太陽誘電株式会社
積層セラミック電子部品、及び積層セラミック電子部品の製造方法
7日前
太陽誘電株式会社
積層セラミックコンデンサ、及び積層セラミックコンデンサの製造方法
7日前
太陽誘電株式会社
積層セラミックコンデンサ、および積層セラミックコンデンサの製造方法
7日前
太陽誘電株式会社
アレイ型インダクタ及び当該アレイ型インダクタを備えるインダクタ内蔵基板
8日前
太陽誘電株式会社
積層セラミック電子部品及びその製造方法、並びに、回路モジュール、及び電子機器
7日前
続きを見る
他の特許を見る