TOP
|
特許
|
意匠
|
商標
特許ウォッチ
Twitter
他の特許を見る
10個以上の画像は省略されています。
公開番号
2025153974
公報種別
公開特許公報(A)
公開日
2025-10-10
出願番号
2024056719
出願日
2024-03-29
発明の名称
積層セラミック電子部品、及び積層セラミック電子部品の製造方法
出願人
太陽誘電株式会社
代理人
個人
,
個人
主分類
H01G
4/30 20060101AFI20251002BHJP(基本的電気素子)
要約
【課題】容量部への構造欠陥を抑制し、かつ、容量部を確保する積層セラミック電子部品を提供する。
【解決手段】積層セラミックコンデンサ100において、積層部20は、内部電極12、13が第1セラミック層11を介してZ軸方向に積層された容量形成部40と、一対のカバー部30の間に配置され、第1セラミック層と内部電極と第2セラミック層14とがZ軸方向に積層され、Y軸方向に容量形成部を挟んで対向する一対の内部電極引き出し領域50と、一対のカバー部の間に配置され、Z軸方向及びY軸方向に直交するX軸方向に容量形成部及び内部電極引き出し領域を挟んで対向する一対のマージン領域と、を有する。カバー部は、容量形成部に隣接する中央領域30Aのポア率が、2.0%未満であり、中央領域を囲む周縁領域30Bのポア率、内部電極引き出し領域のポア率及びマージン領域のポア率が、何れも2.0%以上である。
【選択図】図2
特許請求の範囲
【請求項1】
第1方向に積層された複数の第1セラミック層と、前記複数の第1セラミック層の間に内部電極が存在しない非電極形成領域を残して前記第1方向と直交する第2方向に交互に引き出されて配置された複数の内部電極と、前記複数の第1セラミック層の間の前記非電極形成領域に積層された複数の第2セラミック層と、を含む積層部と、
前記第1方向に前記積層部を挟んで対向する一対のカバー部と、
前記複数の内部電極に接続され、前記第2方向に対向する一対の外部電極と、を有し、
前記積層部は、
前記複数の内部電極が前記第1セラミック層を介して前記第1方向に積層された容量形成部と、
前記一対のカバー部の間に配置され、前記第1セラミック層と前記内部電極と前記第2セラミック層とが前記第1方向に積層され、前記第2方向に前記容量形成部を挟んで対向する一対の内部電極引き出し領域と、
前記一対のカバー部の間に配置され、前記第1セラミック層と前記第2セラミック層とが前記第1方向に交互に積層され、前記第1方向及び前記第2方向に直交する第3方向に前記容量形成部及び前記内部電極引き出し領域を挟んで対向する一対のマージン領域と、を有し、
前記カバー部は、
前記容量形成部に隣接する中央領域と、
前記中央領域を囲む周縁領域と、を有し、
前記カバー部の前記中央領域のポア率が、2.0%未満であり、
前記カバー部の前記周縁領域のポア率、前記内部電極引き出し領域のポア率、及び前記マージン領域のポア率が、いずれも2.0%以上である、
積層セラミック電子部品。
続きを表示(約 3,500 文字)
【請求項2】
前記周縁領域のポア率は、前記内部電極引き出し領域及び/又は前記マージン領域のポア率より小さい、
請求項1に記載の積層セラミック電子部品。
【請求項3】
前記内部電極引き出し領域及び/又は前記マージン領域のポア率は、前記周縁領域のポア率より小さい、
請求項1に記載の積層セラミック電子部品。
【請求項4】
前記カバー部の前記中央領域のビッカース硬度と前記カバー部の前記周縁領域、前記内部電極引き出し領域、及び前記マージン領域の少なくとも1つのビッカース硬度との比が、1.0以上である、
請求項1乃至3のいずれか1項に記載の積層セラミック電子部品。
【請求項5】
第1方向に積層された複数の第1セラミック層と、前記複数の第1セラミック層の間に内部電極が存在しない非電極形成領域を残して前記第1方向と直交する第2方向に交互に引き出されて配置された複数の内部電極と、前記複数の第1セラミック層の間の前記非電極形成領域に積層された複数の第2セラミック層と、を含む積層部と、前記第1方向に前記積層部を挟んで対向する一対のカバー部と、前記複数の内部電極に接続され、前記第2方向に対向する一対の外部電極と、を有し、前記積層部は、前記複数の内部電極が前記第1セラミック層を介して前記第1方向に積層された容量形成部と、前記一対のカバー部の間に配置され、前記第1セラミック層と前記内部電極と前記第2セラミック層とが前記第1方向に積層され、前記第2方向に前記容量形成部を挟んで対向する一対の内部電極引き出し領域と、前記一対のカバー部の間に配置され、前記第1セラミック層と前記第2セラミック層とが前記第1方向に交互に積層され、前記第1方向及び前記第2方向に直交する第3方向に前記容量形成部及び前記内部電極引き出し領域を挟んで対向する一対のマージン領域と、を有し、前記カバー部は、前記容量形成部に隣接する中央領域と、前記中央領域を囲む周縁領域と、を有し、前記カバー部の前記中央領域のポア率が2.0%未満であり、前記カバー部の前記周縁領域のポア率、前記内部電極引き出し領域のポア率、及び前記マージン領域のポア率がいずれも2.0%以上であり、前記カバー部の前記中央領域の密度を第1密度とし、前記カバー部の前記周縁領域の密度を第2密度とし、前記内部電極引き出し領域の密度を第3密度とし、前記マージン領域の密度を第4密度とすると、前記第2密度、前記第3密度、及び前記第4密度の少なくとも1つは、前記第1密度より小さい、積層セラミック電子部品の製造方法であって、
前記カバー部を、複数の第1セラミックシートを積層して形成し、
前記カバー部の前記中央領域を、前記複数の第1セラミックシートの間に第2セラミックシートを配置して形成し、
前記カバー部の前記周縁領域を、前記複数の第1セラミックシートのみで形成する、
積層セラミック電子部品の製造方法。
【請求項6】
前記第2密度は、前記第3密度及び/又は前記第4密度より小さい、
請求項5に記載の積層セラミック電子部品の製造方法。
【請求項7】
第1方向に積層された複数の第1セラミック層と、前記複数の第1セラミック層の間に内部電極が存在しない非電極形成領域を残して前記第1方向と直交する第2方向に交互に引き出されて配置された複数の内部電極と、前記複数の第1セラミック層の間の前記非電極形成領域に積層された複数の第2セラミック層と、を含む積層部と、前記第1方向に前記積層部を挟んで対向する一対のカバー部と、前記複数の内部電極に接続され、前記第2方向に対向する一対の外部電極と、を有し、前記積層部は、前記複数の内部電極が前記第1セラミック層を介して前記第1方向に積層された容量形成部と、前記一対のカバー部の間に配置され、前記第1セラミック層と前記内部電極と前記第2セラミック層とが前記第1方向に積層され、前記第2方向に前記容量形成部を挟んで対向する一対の内部電極引き出し領域と、前記一対のカバー部の間に配置され、前記第1セラミック層と前記第2セラミック層とが前記第1方向に交互に積層され、前記第1方向及び前記第2方向に直交する第3方向に前記容量形成部及び前記内部電極引き出し領域を挟んで対向する一対のマージン領域と、を有し、前記カバー部は、前記容量形成部に隣接する中央領域と、前記中央領域を囲む周縁領域と、を有し、前記カバー部の前記中央領域のポア率が2.0%未満であり、前記カバー部の前記周縁領域のポア率、前記内部電極引き出し領域のポア率、及び前記マージン領域のポア率がいずれも2.0%以上であり、前記カバー部の前記中央領域の密度を第1密度とし、前記カバー部の前記周縁領域の密度を第2密度とし、前記内部電極引き出し領域の密度を第3密度とし、前記マージン領域の密度を第4密度とすると、前記第2密度、前記第3密度、及び前記第4密度の少なくとも1つは、前記第1密度より小さい、積層セラミック電子部品の製造方法であって、
複数のセラミックシート上に内部電極パターンを形成し、
前記セラミックシート上の、前記内部電極パターンの周囲の非電極形成領域の一部にセラミックパターンを形成し、
前記内部電極パターンと前記セラミックパターンが形成されない前記非電極形成領域とが形成された前記セラミックシートを積層して、前記内部電極引き出し領域を形成する、
積層セラミック電子部品の製造方法。
【請求項8】
前記第3密度及び/又は前記第4密度は、前記第2密度より小さい、
請求項7に記載の積層セラミック電子部品の製造方法。
【請求項9】
第1方向に積層された複数の第1セラミック層と、前記複数の第1セラミック層の間に内部電極が存在しない非電極形成領域を残して前記第1方向と直交する第2方向に交互に引き出されて配置された複数の内部電極と、前記複数の第1セラミック層の間の前記非電極形成領域に積層された複数の第2セラミック層と、を含む積層部と、前記第1方向に前記積層部を挟んで対向する一対のカバー部と、前記複数の内部電極に接続され、前記第2方向に対向する一対の外部電極と、を有し、前記積層部は、前記複数の内部電極が前記第1セラミック層を介して前記第1方向に積層された容量形成部と、前記一対のカバー部の間に配置され、前記第1セラミック層と前記内部電極と前記第2セラミック層とが前記第1方向に積層され、前記第2方向に前記容量形成部を挟んで対向する一対の内部電極引き出し領域と、前記一対のカバー部の間に配置され、前記第1セラミック層と前記第2セラミック層とが前記第1方向に交互に積層され、前記第1方向及び前記第2方向に直交する第3方向に前記容量形成部及び前記内部電極引き出し領域を挟んで対向する一対のマージン領域と、を有し、前記カバー部は、前記容量形成部に隣接する中央領域と、前記中央領域を囲む周縁領域と、を有し、前記カバー部の前記中央領域のポア率が2.0%未満であり、前記カバー部の前記周縁領域のポア率、前記内部電極引き出し領域のポア率、及び前記マージン領域のポア率がいずれも2.0%以上であり、前記カバー部の前記中央領域の密度を第1密度とし、前記カバー部の前記周縁領域の密度を第2密度とし、前記内部電極引き出し領域の密度を第3密度とし、前記マージン領域の密度を第4密度とすると、前記第2密度、前記第3密度、及び前記第4密度の少なくとも1つは、前記第1密度より小さい、積層セラミック電子部品の製造方法であって、
複数のセラミックシート上に内部電極パターンを形成し、
前記セラミックシート上の、前記内部電極パターンとの段差を構成する段差領域の一部にセラミックパターンを形成し、
前記内部電極パターンと前記セラミックパターンが形成されない前記段差領域とが形成された前記セラミックシートを積層して、前記マージン領域を形成する、
積層セラミック電子部品の製造方法。
【請求項10】
前記第3密度及び/又は前記第4密度は、前記第2密度より小さい、
請求項9に記載の積層セラミック電子部品の製造方法。
(【請求項11】以降は省略されています)
発明の詳細な説明
【技術分野】
【0001】
本開示は、積層セラミック電子部品、及び積層セラミック電子部品の製造方法に関する。
続きを表示(約 1,800 文字)
【背景技術】
【0002】
電子機器の小型高機能化に伴い、電子機器に用いられる電子部品の小型化が求められている。しかし、従来の構造を維持したまま電子部品の小型化を進めると、曲げクラックに対する耐性が低下する傾向がある。例えば、小型の低容量コンデンサでは、曲げクラックが静電容量の取得エリアに入り込まないようにすることが困難である。
【0003】
このようなクラック等を防ぐため、特許文献1、2には、容量部のエリアを限定することにより、クラックが入ったとしても、容量部までクラックが及ばない技術が開示されている。
【先行技術文献】
【特許文献】
【0004】
特開2013-191833号公報
特開2015-23270号公報
【発明の概要】
【発明が解決しようとする課題】
【0005】
従来の技術では、容量を取得できる範囲が限定されるため、部品の小型化や高容量化に対応しにくい。
【0006】
本開示は、容量部への構造欠陥を抑制し、かつ容量部を確保することができる積層セラミック電子部品を提供することを目的とする。
【課題を解決するための手段】
【0007】
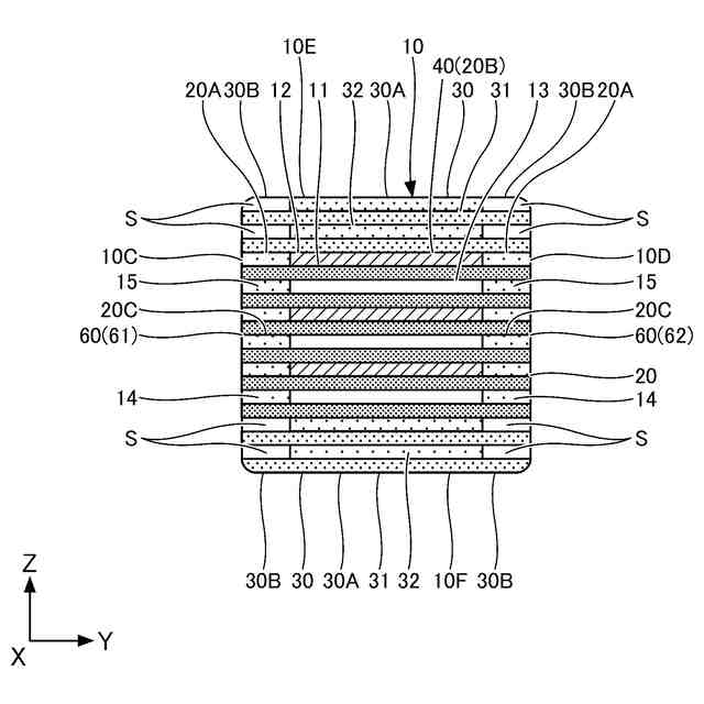
本開示の一態様に係る積層セラミック電子部品は、第1方向に積層された複数の第1セラミック層と、前記複数の第1セラミック層の間に内部電極が存在しない非電極形成領域を残して前記第1方向と直交する第2方向に交互に引き出されて配置された複数の内部電極と、前記複数の第1セラミック層の間の前記非電極形成領域に積層された複数の第2セラミック層と、を含む積層部と、前記第1方向に前記積層部を挟んで対向する一対のカバー部と、前記複数の内部電極に接続され、前記第2方向に対向する一対の外部電極と、を有し、前記積層部は、前記複数の内部電極が前記第1セラミック層を介して前記第1方向に積層された容量形成部と、前記一対のカバー部の間に配置され、前記第1セラミック層と前記内部電極と前記第2セラミック層とが前記第1方向に積層され、前記第2方向に前記容量形成部を挟んで対向する一対の内部電極引き出し領域と、前記一対のカバー部の間に配置され、前記第1セラミック層と前記第2セラミック層とが前記第1方向に交互に積層され、前記第1方向及び前記第2方向に直交する第3方向に前記容量形成部及び前記内部電極引き出し領域を挟んで対向する一対のマージン領域と、を有し、前記カバー部は、前記容量形成部に隣接する中央領域と、前記中央領域を囲む周縁領域と、を有し、前記カバー部の前記中央領域のポア率が、2.0%未満であり、前記カバー部の前記周縁領域のポア率、前記内部電極引き出し領域のポア率、及び前記マージン領域のポア率が、いずれも2.0%以上である。
【発明の効果】
【0008】
本開示によれば、積層セラミック電子部品において、容量部への構造欠陥を抑制し、かつ容量部を確保することができる。
【図面の簡単な説明】
【0009】
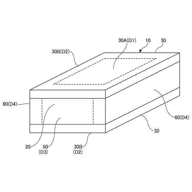
第1実施形態に係る積層セラミック電子部品の一例を示す図である。
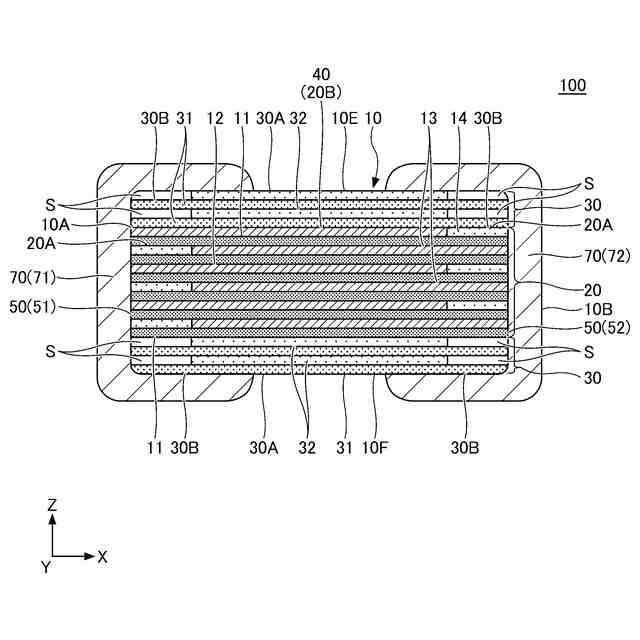
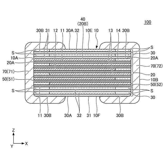
図1のI-I線断面図である。
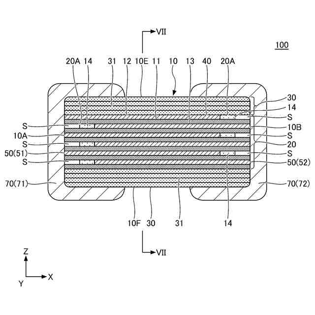
図1のII-II線断面図である。
図2における積層部の模式図である。
図4の積層部を示す斜視図である。
第1実施形態に係る積層セラミック電子部品の効果を説明する図である。
積層セラミック電子部品の製造方法を示すフローチャートである。
第2実施形態に係る積層セラミック電子部品の一例の断面図であり、図2に対応する図である。
第2実施形態に係る積層セラミック電子部品の一例の断面図であり、図3に対応する図である。
第2実施形態に係る積層セラミック電子部品の効果を説明する図である。
【発明を実施するための形態】
【0010】
以下、本発明の実施形態について詳細に説明するが、本発明はこれらに限定されるものではない。なお、本明細書及び図面において、実質的に同一の機能構成を有する構成要素については、同一の符号を付して説明を省略する場合がある。また、各図面における各部材の縮尺は、実際とは異なる場合がある。
(【0011】以降は省略されています)
この特許をJ-PlatPat(特許庁公式サイト)で参照する
関連特許
太陽誘電株式会社
コイル部品
7日前
太陽誘電株式会社
コイル部品
7日前
太陽誘電株式会社
導波路装置
14日前
太陽誘電株式会社
コイル部品
3日前
太陽誘電株式会社
全固体電池
14日前
太陽誘電株式会社
コイル部品
8日前
太陽誘電株式会社
生体情報測定装置
7日前
太陽誘電株式会社
セラミック電子部品
7日前
太陽誘電株式会社
積層セラミック電子部品
7日前
太陽誘電株式会社
積層セラミック電子部品
9日前
太陽誘電株式会社
積層セラミック電子部品
3日前
太陽誘電株式会社
グルコース濃度推定装置
8日前
太陽誘電株式会社
コイル部品および実装基板
8日前
太陽誘電株式会社
積層セラミックコンデンサ
8日前
太陽誘電株式会社
センサ装置および取付方法
8日前
太陽誘電株式会社
フィルタ及びマルチプレクサ
9日前
太陽誘電株式会社
導波路装置およびレーダ装置
14日前
太陽誘電株式会社
血圧測定装置および血圧測定方法
8日前
太陽誘電株式会社
バッテリパック及び車両の制御装置
14日前
太陽誘電株式会社
コイル部品、コイル部品の製造方法
7日前
太陽誘電株式会社
コイル部品、コイル部品の製造方法
7日前
太陽誘電株式会社
コイル部品及びコイル部品の製造方法
7日前
太陽誘電株式会社
積層セラミックコンデンサ及び回路基板
10日前
太陽誘電株式会社
積層セラミックコンデンサ及び回路基板
8日前
太陽誘電株式会社
積層セラミック電子部品及びその製造方法
7日前
太陽誘電株式会社
圧電トランスデューサおよび電気音響装置
16日前
太陽誘電株式会社
磁性基体及び磁性基体を備えるコイル部品
7日前
太陽誘電株式会社
積層セラミック電子部品およびその製造方法
8日前
太陽誘電株式会社
積層セラミック電子部品およびその製造方法
7日前
太陽誘電株式会社
積層セラミック電子部品およびその製造方法
7日前
太陽誘電株式会社
弾性波デバイス、フィルタ、及びマルチプレクサ
14日前
太陽誘電株式会社
位置情報システム、情報処理装置及び情報処理方法
9日前
太陽誘電株式会社
心拍検出システム、心拍検出方法およびプログラム
7日前
太陽誘電株式会社
多重モード型フィルタ、フィルタ、及びマルチプレクサ
14日前
太陽誘電株式会社
積層セラミック電子部品、積層セラミック電子部品の製造方法
7日前
太陽誘電株式会社
積層セラミック電子部品、積層セラミック電子部品の製造方法
7日前
続きを見る
他の特許を見る