TOP
|
特許
|
意匠
|
商標
特許ウォッチ
Twitter
他の特許を見る
10個以上の画像は省略されています。
公開番号
2025151146
公報種別
公開特許公報(A)
公開日
2025-10-09
出願番号
2024052416
出願日
2024-03-27
発明の名称
センサ装置および取付方法
出願人
太陽誘電株式会社
代理人
弁理士法人酒井国際特許事務所
主分類
G01B
5/00 20060101AFI20251002BHJP(測定;試験)
要約
【課題】構造物に容易に取り付ける。
【解決手段】センサ装置は、構造物に固定される第1ベース部および第2ベース部と、第1ベース部および第2ベース部に取り付けられ、構造物の第1方向の変位を測定するセンサ本体と、を備える。センサ本体は、直線状に相対移動可能な第1センサ部および第2センサ部を有する。第1センサ部は、構造物に固定された第1ベース部に取り付けられる。第2センサ部は、構造物に固定された第2ベース部に取り付けられる。第1センサ部は、第1ベース部が接触する第1取付面に設けられ、相対移動方向に直線状に延伸する第1突出部を有する。第1ベース部は、第1センサ部が接触する第1下面に形成され、第1突出部を第1方向に移動可能とし、第1下面に平行であって第1方向に直交する方向への第1突出部の移動を規制する第1ガイド部を有する。
【選択図】図13
特許請求の範囲
【請求項1】
第1方向に予め定められた第1距離離間して、構造物に固定される第1ベース部および第2ベース部と、
前記第1ベース部および前記第2ベース部に取り付けられ、前記構造物の前記第1方向の変位を測定するセンサ本体と、
を備え、
前記センサ本体は、
直線状に相対移動可能な第1センサ部および第2センサ部と、
前記第1センサ部と前記第2センサ部とが相対移動する相対移動方向における変位を検出するセンサと、
を有し、
前記第1センサ部は、前記構造物に固定された前記第1ベース部に取り付けられ、
前記第2センサ部は、前記構造物に固定された前記第2ベース部に取り付けられ、
前記第1センサ部および前記第2センサ部は、前記相対移動方向が、前記第1方向と平行になるように前記第1ベース部および前記第2ベース部に取り付けられ、
前記第1センサ部は、前記第1ベース部が接触する第1取付面に設けられ、前記相対移動方向に直線状に延伸する第1突出部を有し、
前記第1ベース部は、前記第1センサ部が接触する第1下面に形成され、前記第1突出部を前記第1方向に移動可能とし、前記第1下面に平行であって前記第1方向に直交する方向への前記第1突出部の移動を規制する第1ガイド部を有する
センサ装置。
続きを表示(約 1,400 文字)
【請求項2】
前記第2センサ部は、前記第2ベース部が接触する第2取付面に設けられ、前記相対移動方向に直線状に延伸する第2突出部を有し、
前記第2ベース部は、前記第2センサ部が接触する第2下面に形成され、前記第2突出部を前記第1方向に移動可能とし、前記第2下面に平行であって前記第1方向に直交する方向への前記第2突出部の移動を規制する第2ガイド部を有する
請求項1に記載のセンサ装置。
【請求項3】
前記第1突出部は、前記第1取付面に前記相対移動方向に平行に設けられ、前記相対移動方向に延伸する2枚の板であり、
前記第1ガイド部は、前記第1下面に前記第1方向に直線状に延伸して形成され、前記第1センサ部が前記第1ベース部に対する取付位置に配置された状態において前記2枚の板が挿入される2個の溝である
請求項1に記載のセンサ装置。
【請求項4】
前記2個の溝のそれぞれは、少なくとも前記第2ベース部の側の端部において、溝幅が、前記第2ベース部の側の端部から、前記第2ベース部とは反対側の端部に向かうに従って狭く形成される
請求項3に記載のセンサ装置。
【請求項5】
前記2個の溝のそれぞれは、溝幅が、前記第1下面の表面から溝底に向かうに従って狭く形成される
請求項3に記載のセンサ装置。
【請求項6】
前記第1センサ部は、前記第1センサ部が前記第1ベース部に対する取付位置に配置された状態において、前記第1ベース部における前記第2ベース部の側の側面に突き当たる移動規制部を有する
請求項1に記載のセンサ装置。
【請求項7】
前記第1突出部は、前記第1取付面に前記相対移動方向に平行に設けられ、前記相対移動方向に延伸する2枚の板であり、
前記第1ガイド部は、前記第1下面の表面側に突出した凸部であり、
前記凸部は、前記第1センサ部が前記第1ベース部に対する取付位置に配置された状態において、前記2枚の板の間に挿入される
請求項1に記載のセンサ装置。
【請求項8】
前記凸部は、前記第2ベース部の側の縁、および、前記第2ベース部とは反対側の縁に形成される
請求項7に記載のセンサ装置。
【請求項9】
請求項1から8の何れか1項に記載のセンサ装置を、前記構造物に取り付ける取付方法であって、
剛性を有する補助治具に対して、前記構造物へ取り付けた場合と同一の位置関係で前記第1ベース部および前記第2ベース部を取り付ける準備ステップと、
前記補助治具に取り付けられた状態で、前記第1ベース部および前記第2ベース部を前記構造物に固定させる固定ステップと、
前記構造物に固定された前記第1ベース部および前記第2ベース部から、前記補助治具を取り外す取外ステップと、
前記構造物に固定された前記第1ベース部および前記第2ベース部に、前記センサ本体を取り付ける取付ステップと、
を含む取付方法。
【請求項10】
前記第1ベース部は、前記第1下面に、前記第1下面から垂直に突出した複数の第1ピンを有し、
前記補助治具は、前記第1ベース部が取り付けられた状態において前記複数の第1ピンが挿入される位置に、複数の第1規制孔が形成される
請求項9に記載の取付方法。
(【請求項11】以降は省略されています)
発明の詳細な説明
【技術分野】
【0001】
本発明は、センサ装置および取付方法に関する。
続きを表示(約 2,600 文字)
【背景技術】
【0002】
例えば、橋梁等の構造物の2点間の伸縮量の微小な変位を計測するセンサ装置が知られている。センサ装置は、構造物に取り付けられた状態で、構造物の変位を検出する。
【0003】
構造物の2点間の伸縮量を計測するセンサ装置は、2個のベース部を介してセンサ本体が構造物に取り付けられる。センサ装置を構造物に取り付ける場合、まず、2個のベース部を補助治具に取り付け、続いて、補助治具に取り付けた状態で2個のベース部を接着剤により構造物に接着し、続いて、補助治具のみを取り外し、続いて、構造物に取り付けられた2個のベース部に対してセンサ本体をボルト等により取り付ける。
【0004】
特許文献1には、補助治具を介して橋梁等の構造物に取り付けられるセンサ装置が記載されている。特許文献2には、接着剤による接着面の構造が記載されている。特許文献3には、コンクリート面等に物体を接着固定する方法が記載されている。
【先行技術文献】
【特許文献】
【0005】
特開2023-142966号公報
特開2005-139276号公報
特開平9-144370号公報
【発明の概要】
【発明が解決しようとする課題】
【0006】
ところで、構造物が橋梁である場合、センサ装置は、橋梁の床版の下側から取り付けられる。このため、作業者は、センサ本体を2個のベース部に取り付ける場合、センサ本体が死角となり、センサ本体のボルト穴とベース部のボルト穴との位置合わせが困難となり、作業効率が悪かった。
【0007】
本発明は、上記に鑑みてなされたものであって、構造物に容易に取り付けることができるセンサ装置および取付方法を提供することを目的とする。
【課題を解決するための手段】
【0008】
上述した課題を解決し、目的を達成するために、本発明に係るセンサ装置は、第1方向に予め定められた第1距離離間して、構造物に固定される第1ベース部および第2ベース部と、前記第1ベース部および前記第2ベース部に取り付けられ、前記構造物の前記第1方向の変位を測定するセンサ本体と、を備える。前記センサ本体は、直線状に相対移動可能な第1センサ部および第2センサ部と、前記第1センサ部と前記第2センサ部とが相対移動する相対移動方向における変位を検出するセンサと、を有する。前記第1センサ部は、前記構造物に固定された前記第1ベース部に取り付けられる。前記第2センサ部は、前記構造物に固定された前記第2ベース部に取り付けられる。前記第1センサ部および前記第2センサ部は、前記相対移動方向が、前記第1方向と平行になるように前記第1ベース部および前記第2ベース部に取り付けられる。前記第1センサ部は、前記第1ベース部が接触する第1取付面に設けられ、前記相対移動方向に直線状に延伸する第1突出部を有する。前記第1ベース部は、前記第1センサ部が接触する第1下面に形成され、前記第1突出部を前記第1方向に移動可能とし、前記第1下面に平行であって前記第1方向に直交する方向への前記第1突出部の移動を規制する第1ガイド部を有する。
【発明の効果】
【0009】
本発明によれば、構造物に容易に取り付けることができる。
【図面の簡単な説明】
【0010】
図1は、橋梁に取り付けられたセンサ装置を示す図である。
図2は、コンクリート面に取り付けられたセンサ装置を、y方向から見た図である。
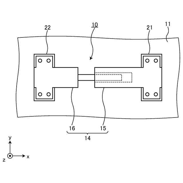
図3は、コンクリート面に取り付けられたセンサ装置を、z方向から見た図である。
図4は、コンクリート面にセンサ装置を取り付ける取付方法の流れを示すフローチャートである。
図5は、準備ステップ(S11)での作業の内容を説明するための図である。
図6は、接着ステップ(S12-1)の作業の内容を説明するための図である。
図7は、硬化ステップ(S12-2)の作業の内容を説明するための図である。
図8は、アンカーボルトを用いた固定ステップ(S12)での作業の内容を説明するための図である。
図9は、取外ステップ(S13)での作業の内容を説明するための図である。
図10は、取付ステップ(S14)でのセンサ本体14の配置の作業の内容を説明するための図である。
図11は、取付ステップ(S14)でのセンサ本体14のねじ止めの作業の内容を説明するための図である。
図12は、コンクリート面に固定された位置の第1ベース部および第2ベース部と、第1ベース部および第2ベース部に対する取り付け前におけるセンサ本体を示す斜視図である。
図13は、センサ本体を配置する作業途中における、コンクリート面に固定された位置の第1ベース部および第2ベース部と、センサ本体とを示す斜視図である。
図14は、センサ本体の配置の終了段階における、コンクリート面に固定された位置の第1ベース部および第2ベース部と、センサ本体とを示す斜視図である。
図15は、それぞれにx方向にテーパが形成された2本の溝により構成される第1ガイド部を有する第1ベース部を示す図である。
図16は、それぞれにz方向にテーパが形成された2本の溝により構成される第2ガイド部を有する第2ベース部を示す図である。
図17は、第1ベース部を第1上面側から見た斜視図である。
図18は、第1ベース部を第1下面側から見た斜視図である。
図19は、金属板の斜視図である。
図20は、第1ベース部における、図17に示すX-X´線断面を示す断面図である。
図21は、第1ベース部および第2ベース部が取り付けられた状態の補助治具を、主面側から見た斜視図である。
図22は、第1ベース部および第2ベース部が取り付けられた状態の補助治具を、主面とは反対側から見た斜視図である。
図23は、変形例に係る第1ベース部を第1下面側から見た斜視図である。
図24は、変形例に係る第1ベース部と、第1突出部を構成する2枚の板の位置を示す斜視図である。
【発明を実施するための形態】
(【0011】以降は省略されています)
この特許をJ-PlatPat(特許庁公式サイト)で参照する
関連特許
太陽誘電株式会社
導波路装置
10日前
太陽誘電株式会社
全固体電池
10日前
太陽誘電株式会社
コイル部品
3日前
太陽誘電株式会社
コイル部品
4日前
太陽誘電株式会社
コイル部品
3日前
太陽誘電株式会社
生体情報測定装置
3日前
太陽誘電株式会社
セラミック電子部品
3日前
太陽誘電株式会社
積層セラミック電子部品
3日前
太陽誘電株式会社
積層セラミック電子部品
5日前
太陽誘電株式会社
グルコース濃度推定装置
4日前
太陽誘電株式会社
積層セラミックコンデンサ
4日前
太陽誘電株式会社
コイル部品および実装基板
4日前
太陽誘電株式会社
センサ装置および取付方法
4日前
太陽誘電株式会社
フィルタ及びマルチプレクサ
5日前
太陽誘電株式会社
導波路装置およびレーダ装置
10日前
太陽誘電株式会社
血圧測定装置および血圧測定方法
4日前
太陽誘電株式会社
コイル部品、コイル部品の製造方法
3日前
太陽誘電株式会社
バッテリパック及び車両の制御装置
10日前
太陽誘電株式会社
コイル部品、コイル部品の製造方法
3日前
太陽誘電株式会社
コイル部品及びコイル部品の製造方法
3日前
太陽誘電株式会社
特徴量取得装置および特徴量取得方法
24日前
太陽誘電株式会社
積層セラミックコンデンサ及び回路基板
6日前
太陽誘電株式会社
積層セラミックコンデンサ及び回路基板
4日前
太陽誘電株式会社
積層セラミックコンデンサ及び回路基板
14日前
太陽誘電株式会社
積層セラミックコンデンサ及び回路基板
14日前
太陽誘電株式会社
積層セラミックコンデンサ及び回路基板
17日前
太陽誘電株式会社
積層セラミック電子部品及びその製造方法
3日前
太陽誘電株式会社
圧電トランスデューサおよび電気音響装置
12日前
太陽誘電株式会社
磁性基体及び磁性基体を備えるコイル部品
3日前
太陽誘電株式会社
積層セラミック電子部品およびその製造方法
4日前
太陽誘電株式会社
積層セラミック電子部品およびその製造方法
3日前
太陽誘電株式会社
積層セラミック電子部品およびその製造方法
3日前
太陽誘電株式会社
電子部品の検査方法および電子部品の製造方法
14日前
太陽誘電株式会社
弾性波デバイス、フィルタ、及びマルチプレクサ
10日前
太陽誘電株式会社
位置情報システム、情報処理装置及び情報処理方法
5日前
太陽誘電株式会社
心拍検出システム、心拍検出方法およびプログラム
3日前
続きを見る
他の特許を見る