TOP
|
特許
|
意匠
|
商標
特許ウォッチ
Twitter
他の特許を見る
10個以上の画像は省略されています。
公開番号
2025153793
公報種別
公開特許公報(A)
公開日
2025-10-10
出願番号
2024056429
出願日
2024-03-29
発明の名称
積層セラミック電子部品
出願人
太陽誘電株式会社
代理人
個人
,
個人
主分類
H01G
4/30 20060101AFI20251002BHJP(基本的電気素子)
要約
【課題】内部電極層の連続率に優れた積層セラミック電子部品を提供する。
【解決手段】積層セラミック電子部品100は、積層方向に積層された誘電体層11と、積層方向に沿って隣接する誘電体層の間に配置された内部電極(第1内部電極層12a及び第2内部電極12b)と、誘電体層と内部電極層との間に配置された中間領域40とを有し、誘電体層は、一般式ABO
3-α
(0≦α≦1)で表され、ペロブスカイト型構造を有する化合物及びマンガンを含有し、内部電極層は、主成分としての卑金属元素及び銅を含有し、中間領域は、マンガン及び銅を含有し、中間領域におけるマンガンの含有量の原子数割合の平均値は、第2境界から2nm以上5nm以下離れた誘電体層の領域である第1基準領域におけるマンガンの含有量の原子数割合の平均値より大である。
【選択図】図4
特許請求の範囲
【請求項1】
第1軸に沿って積層された複数の誘電体層と、
前記第1軸に沿って隣接する前記誘電体層の間にそれぞれ配置された複数の内部電極層と、
前記誘電体層と、前記内部電極層との間に配置された中間領域と、を有し、
前記誘電体層は、一般式ABO
3-α
(0≦α≦1)で表され、ペロブスカイト型構造を有する化合物、およびマンガンを含有し、
前記内部電極層は、主成分としての卑金属元素および銅を含有し、
前記中間領域は、マンガンおよび銅を含有し、
3次元原子プローブ分析した場合に、 前記内部電極層と前記中間領域との境界である第1境界を、酸素の含有量の原子数割合が5at%の位置とし、
前記誘電体層と前記中間領域との境界である第2境界を、酸素の含有量の原子数割合と前記主成分としての卑金属元素の含有量の原子数割合が等しい位置としたとき、
前記中間領域におけるマンガンの含有量の原子数割合の平均値は、前記第2境界から2nm以上5nm以下離れた前記誘電体層の領域である第1基準領域におけるマンガンの含有量の原子数割合の平均値より大である、積層セラミック電子部品。
続きを表示(約 650 文字)
【請求項2】
3次元原子プローブ分析した場合に、前記中間領域におけるマンガンの含有量の原子数割合の平均値は、前記第1基準領域におけるマンガンの含有量の原子数割合の平均値の1.5倍以上である、請求項1に記載の積層セラミック電子部品。
【請求項3】
3次元原子プローブ分析した場合に、前記中間領域における銅の含有量の原子数割合の平均値は、前記第1境界から2nm以上5nm以下離れた前記内部電極層の領域である第2基準領域における銅の含有量の原子数割合の平均値より大である、請求項1に記載の積層セラミック電子部品。
【請求項4】
3次元原子プローブ分析した場合に、前記中間領域におけるマンガンの含有量の原子数割合の平均値が0.15at%以上0.40at%以下、銅の含有量の原子数割合の平均値が0.32at%以上3.15at%以下である、請求項1から請求項3のいずれか1項に記載の積層セラミック電子部品。
【請求項5】
前記内部電極層の連続率が75%以上である、請求項1から請求項3のいずれか1項に記載の積層セラミック電子部品。
【請求項6】
前記内部電極層は、ニッケルを含有する、請求項1から請求項3のいずれか1項に記載の積層セラミック電子部品。
【請求項7】
前記誘電体層は、前記ペロブスカイト型構造を有する化合物としてチタン酸バリウムを含有する、請求項1から請求項3のいずれか1項に記載の積層セラミック電子部品。
発明の詳細な説明
【技術分野】
【0001】
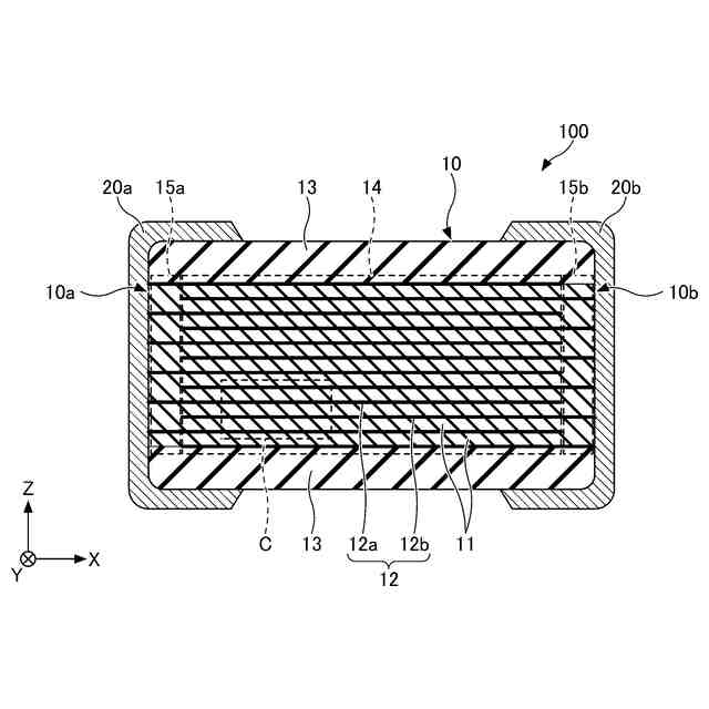
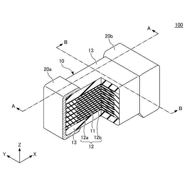
本開示は、積層セラミック電子部品に関する。
続きを表示(約 1,600 文字)
【背景技術】
【0002】
積層セラミック電子部品は、誘電体層と、内部電極層とが交互に積層された構造を有している。積層セラミック電子部品としては、積層セラミックコンデンサ(MLCC:multilayer ceramic capacitor)等が挙げられる。
【0003】
積層セラミックコンデンサ等の積層セラミック電子部品について、搭載する携帯電話等の電子機器の多機能化・高性能化等に伴い、小型化や、大容量化等が要求されている。係る要求に応えるため、積層セラミック電子部品は、誘電体層や、内部電極層について薄層化することや、積層数を増加することが求められている。このため、積層セラミック電子部品について、誘電体層や内部電極層を薄層化等した場合に所望の特性が得られるように従来から検討がなされている。
【0004】
例えば特許文献1には、主成分がBaTiO
3
系である誘電体セラミックであって、副成分としてLiを含む誘電体セラミックや、該誘電体セラミックからなる誘電体セラミック層を有する積層セラミックコンデンサが開示されている。
【0005】
特許文献1に開示された誘電体セラミックによれば、積層セラミックコンデンサの誘電体セラミック層を構成するために用いたとき、誘電体セラミック層の厚みが1μm未満という薄層化が進められても、良好な寿命特性を与えることができるとされている。
【先行技術文献】
【特許文献】
【0006】
特開2010-052964号公報
【発明の概要】
【発明が解決しようとする課題】
【0007】
ところで、内部電極層の材料と、誘電体層の材料とで融点に差があり、通常、内部電極層の材料の方が早く緻密化する傾向がある。このため、誘電体層になる誘電体グリーンシートと、内部電極層になる金属ペーストとが所定の形状になるように、交互に配置された積層体を焼成した場合に、内部電極層の連続率が低下し、所望の設計要領が得られない恐れがあった。そして、内部電極層等を薄層化した場合に、上記傾向がより顕著になる恐れがあった。
【0008】
本開示は、内部電極層の連続率に優れた積層セラミック電子部品を提供することを目的とする。
【課題を解決するための手段】
【0009】
本開示の積層セラミック電子部品は、
第1軸に沿って積層された複数の誘電体層と、
前記第1軸に沿って隣接する前記誘電体層の間にそれぞれ配置された複数の内部電極層と、
前記誘電体層と、前記内部電極層との間に配置された中間領域と、を有し、
前記誘電体層は、一般式ABO
3-α
(0≦α≦1)で表され、ペロブスカイト型構造を有する化合物、およびマンガンを含有し、
前記内部電極層は、主成分としての卑金属元素および銅を含有し、
前記中間領域は、マンガンおよび銅を含有し、
3次元原子プローブ分析した場合に、
前記内部電極層と前記中間領域との境界である第1境界を、酸素の含有量の原子数割合が5at%の位置とし、
前記誘電体層と前記中間領域との境界である第2境界を、酸素の含有量の原子数割合と前記主成分としての卑金属元素の含有量の原子数割合が等しい位置としたとき、
前記中間領域におけるマンガンの含有量の原子数割合の平均値は、前記第2境界から2nm以上5nm以下離れた前記誘電体層の領域である第1基準領域におけるマンガンの含有量の原子数割合の平均値より大である、積層セラミック電子部品。
【発明の効果】
【0010】
本開示によれば、内部電極層の連続率に優れた積層セラミック電子部品を提供することができる。
【図面の簡単な説明】
(【0011】以降は省略されています)
この特許をJ-PlatPat(特許庁公式サイト)で参照する
関連特許
太陽誘電株式会社
コイル部品
2日前
太陽誘電株式会社
コイル部品
3日前
太陽誘電株式会社
全固体電池
9日前
太陽誘電株式会社
コイル部品
2日前
太陽誘電株式会社
導波路装置
9日前
太陽誘電株式会社
感覚提示システム
2か月前
太陽誘電株式会社
生体情報測定装置
2日前
太陽誘電株式会社
セラミック電子部品
2日前
太陽誘電株式会社
積層セラミック電子部品
1か月前
太陽誘電株式会社
積層セラミック電子部品
4日前
太陽誘電株式会社
グルコース濃度推定装置
3日前
太陽誘電株式会社
積層セラミック電子部品
2日前
太陽誘電株式会社
コイル部品および実装基板
3日前
太陽誘電株式会社
電動アシスト車の制御装置
1か月前
太陽誘電株式会社
積層セラミックコンデンサ
3日前
太陽誘電株式会社
センサ装置および取付方法
3日前
太陽誘電株式会社
フィルタ及びマルチプレクサ
2か月前
太陽誘電株式会社
導波路装置およびレーダ装置
9日前
太陽誘電株式会社
フィルタ及びマルチプレクサ
4日前
太陽誘電株式会社
血圧測定装置および血圧測定方法
3日前
太陽誘電株式会社
コイル部品、コイル部品の製造方法
2日前
太陽誘電株式会社
バッテリパック及び車両の制御装置
9日前
太陽誘電株式会社
コイル部品、コイル部品の製造方法
2日前
太陽誘電株式会社
コイル部品及びコイル部品の製造方法
2日前
太陽誘電株式会社
特徴量取得装置および特徴量取得方法
23日前
太陽誘電株式会社
積層セラミックコンデンサ及び回路基板
1か月前
太陽誘電株式会社
積層セラミックコンデンサ及び回路基板
13日前
太陽誘電株式会社
積層セラミックコンデンサ及び回路基板
16日前
太陽誘電株式会社
積層セラミックコンデンサ及び回路基板
5日前
太陽誘電株式会社
積層セラミックコンデンサ及び回路基板
13日前
太陽誘電株式会社
積層セラミックコンデンサ及び回路基板
3日前
太陽誘電株式会社
圧電トランスデューサおよび電気音響装置
11日前
太陽誘電株式会社
積層セラミック電子部品及びその製造方法
1か月前
太陽誘電株式会社
磁性基体及び磁性基体を備えるコイル部品
2日前
太陽誘電株式会社
積層セラミック電子部品及びその製造方法
2日前
太陽誘電株式会社
積層セラミック電子部品およびその製造方法
2日前
続きを見る
他の特許を見る