TOP
|
特許
|
意匠
|
商標
特許ウォッチ
Twitter
他の特許を見る
10個以上の画像は省略されています。
公開番号
2025151100
公報種別
公開特許公報(A)
公開日
2025-10-09
出願番号
2024052345
出願日
2024-03-27
発明の名称
積層セラミック電子部品およびその製造方法
出願人
太陽誘電株式会社
代理人
個人
主分類
H01G
4/30 20060101AFI20251002BHJP(基本的電気素子)
要約
【課題】 耐電圧性と温度特性とを両立する積層セラミック電子部品およびその製造方法を提供する。
【解決手段】 積層セラミック電子部品は、互いに対向する複数の内部電極層12と、複数の内部電極層12のうちいずれかに接し、第1コア部31aおよびその周縁に位置する第1シェル部32aを有し、第1コア部31aが粒界と接する第1誘電体粒子30aと、第2コア部31bおよびその周縁に位置する第2シェル部32bを有し、第1誘電体粒子30aを複数の内部電極層12のうち第1誘電体粒子30aが接する内部電極層12との間に挟んで位置する第2誘電体粒子30bと、を有し、複数の内部電極層12に挟まれて設けられる誘電体層11と、内部電極層12と電気的に接続される外部電極20a,外部電極20bと、を有し、複数の内部電極層12に接する誘電体粒子のうち、第1誘電体粒子30aの存在率は、50%以上である。
【選択図】 図8
特許請求の範囲
【請求項1】
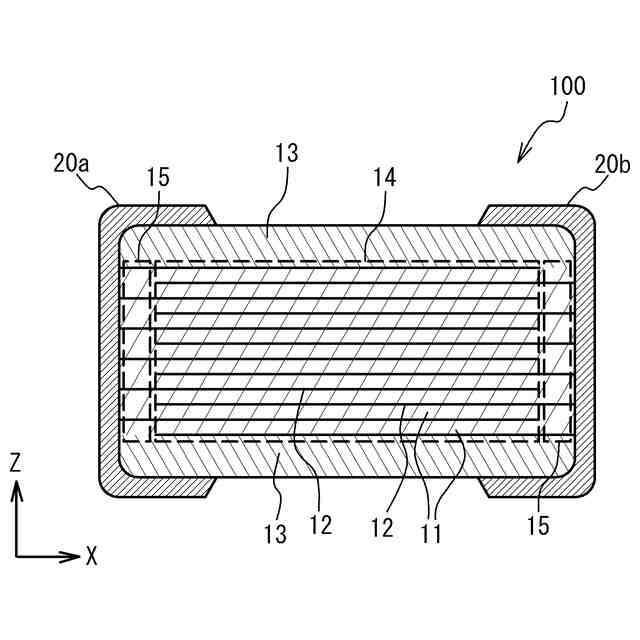
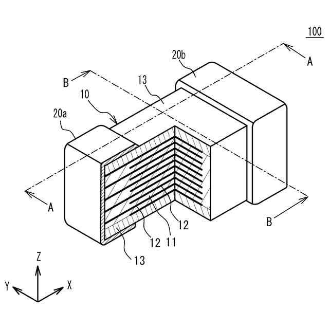
互いに対向する複数の内部電極層と、
前記複数の内部電極層のうちいずれかに接し、第1コア部および前記第1コア部の周縁に位置する第1シェル部を有し、前記第1コア部が粒界と接する第1誘電体粒子と、第2コア部および前記第2コア部の周縁に位置する第2シェル部を有し、前記第1誘電体粒子を前記複数の内部電極層のうち前記第1誘電体粒子が接する内部電極層との間に挟んで位置する第2誘電体粒子と、を有し、前記複数の内部電極層に挟まれて設けられる誘電体層と、
前記内部電極層と電気的に接続される外部電極と、を有し、
前記複数の内部電極層に接する誘電体粒子のうち、前記第1誘電体粒子の存在率は、50%以上である、積層セラミック電子部品。
続きを表示(約 890 文字)
【請求項2】
前記第1シェル部の厚みは、前記第2シェル部の厚みより大きい、請求項1に記載の積層セラミック電子部品。
【請求項3】
前記第1シェル部の厚みは、前記粒界と前記第1コア部との接点と、前記複数の内部電極層と前記第1シェル部との接点とを線で結び、前記第1シェル部上における前記線の長さを50個の前記第1誘電体粒子で測定した平均値である、請求項1に記載の積層セラミック電子部品。
【請求項4】
前記第2シェル部の厚みに対する前記第1シェル部の厚みの比は、3以上である、請求項1に記載の積層セラミック電子部品。
【請求項5】
前記第1シェル部の厚みは、200nm以上であり、
前記第2シェル部の厚みは、100nm以下である、請求項1に記載の積層セラミック電子部品。
【請求項6】
前記第1誘電体粒子は、前記第2誘電体粒子より、炭素、チタンまたはケイ素の少なくとも一つの濃度が高い、請求項1に記載の積層セラミック電子部品。
【請求項7】
前記誘電体層は、希土類元素を1.8at%以上含む、請求項1に記載の積層セラミック電子部品。
【請求項8】
EIA規格におけるX7R特性またはX7S特性を満たす、請求項1に記載の積層セラミック電子部品。
【請求項9】
グリーンシート上に粒成長促進剤を配置する工程と、
前記グリーンシート上に内部電極パターンを形成する工程と、
前記グリーンシートを積層して積層体を得る工程と、
前記積層体を酸素分圧10
-9
atm以上の雰囲気下において6000℃/h以上の昇温速度で焼成して、内部電極層を有する素体を形成する工程と、
前記素体に外部電極を形成する工程と、を含む、積層セラミック電子部品の製造方法。
【請求項10】
前記粒成長促進剤は、カーボン、チタンまたはシリカである、請求項9に記載の積層セラミック電子部品の製造方法。
(【請求項11】以降は省略されています)
発明の詳細な説明
【技術分野】
【0001】
本発明は、積層セラミック電子部品およびその製造方法に関する。
続きを表示(約 1,300 文字)
【背景技術】
【0002】
携帯電話を代表とする高周波通信用システムなどにおいて、ノイズを除去するために、積層セラミックコンデンサ(MLCC:Multi-Layer ceramic capacitor)などの積層セラミック電子部品が用いられている(例えば、特許文献1~4を参照)。
【先行技術文献】
【特許文献】
【0003】
特開2001-291634号公報
特開2006-319205号公報
特開2001-313225号公報
特開2002-080276号公報
【発明の概要】
【発明が解決しようとする課題】
【0004】
近年、環境への配慮による規制強化により、電気自動車市場が拡大している。それに伴い、車載向けの積層セラミック電子部品の需要も益々増加している。車載向けの積層セラミック電子部品に求められる特性として、耐電圧性や温度特性がある。しかしながら、耐電圧性と温度特性とがトレードオフの関係となることが多く、両立させることは通常難しい。
【0005】
本発明は、上記課題に鑑みなされたものであり、耐電圧性と温度特性とを両立することができる積層セラミック電子部品およびその製造方法を提供することを目的とする。
【課題を解決するための手段】
【0006】
本発明に係る積層セラミック電子部品は、互いに対向する複数の内部電極層と、前記複数の内部電極層のうちいずれかに接し、第1コア部および前記第1コア部の周縁に位置する第1シェル部を有し、前記第1コア部が粒界と接する第1誘電体粒子と、第2コア部および前記第2コア部の周縁に位置する第2シェル部を有し、前記第1誘電体粒子を前記複数の内部電極層のうち前記第1誘電体粒子が接する内部電極層との間に挟んで位置する第2誘電体粒子と、を有し、前記複数の内部電極層に挟まれて設けられる誘電体層と、前記内部電極層と電気的に接続される外部電極と、を有し、前記複数の内部電極層に接する誘電体粒子のうち、前記第1誘電体粒子の存在率は、50%以上である。
【0007】
上記積層セラミック電子部品において、前記第1シェル部の厚みは、前記第2シェル部の厚みより大きくてもよい。
【0008】
上記積層セラミック電子部品において、前記第1シェル部の厚みは、前記粒界と前記第1コア部との接点と、前記複数の内部電極層と前記第1シェル部との接点とを線で結び、前記第1シェル部上における前記線の長さを50個の前記第1誘電体粒子で測定した平均値であってもよい。
【0009】
上記積層セラミック電子部品において、前記第2シェル部の厚みに対する前記第1シェル部の厚みの比は、3以上であってもよい。
【0010】
上記積層セラミック電子部品において、前記第1シェル部の厚みは、200nm以上であり、前記第2シェル部の厚みは、100nm以下であってもよい。
(【0011】以降は省略されています)
この特許をJ-PlatPat(特許庁公式サイト)で参照する
関連特許
個人
フレキシブル電気化学素子
5日前
株式会社ユーシン
操作装置
5日前
日新イオン機器株式会社
イオン源
1日前
太陽誘電株式会社
コイル部品
5日前
株式会社GSユアサ
蓄電設備
5日前
オムロン株式会社
電磁継電器
6日前
株式会社GSユアサ
蓄電設備
5日前
ノリタケ株式会社
熱伝導シート
5日前
サクサ株式会社
電池の固定構造
5日前
日東電工株式会社
積層体
6日前
トヨタ自動車株式会社
蓄電装置
5日前
株式会社ダイヘン
搬送装置
5日前
ベストテック株式会社
装置支持具
5日前
古河電気工業株式会社
端子
5日前
東レエンジニアリング株式会社
実装装置
6日前
APB株式会社
二次電池モジュール
5日前
APB株式会社
二次電池モジュール
5日前
太陽誘電株式会社
コイル部品
6日前
太陽誘電株式会社
コイル部品
1日前
エイブリック株式会社
半導体集積回路装置
1日前
太陽誘電株式会社
コイル部品
5日前
本田技研工業株式会社
発電セル
5日前
日東電工株式会社
スイッチ装置
5日前
太陽誘電株式会社
セラミック電子部品
5日前
株式会社AESCジャパン
電池パック
1日前
本田技研工業株式会社
固体電池
1日前
株式会社AESCジャパン
電池パック
1日前
本田技研工業株式会社
固体電池
5日前
TDK株式会社
電子部品
5日前
株式会社村田製作所
コイル部品
5日前
株式会社村田製作所
コイル部品
5日前
本田技研工業株式会社
二次電池
1日前
東洋電装株式会社
スイッチ装置
5日前
デクセリアルズ株式会社
保護素子
6日前
本田技研工業株式会社
全固体電池
1日前
ノリタケ株式会社
導電性ペースト
5日前
続きを見る
他の特許を見る