TOP
|
特許
|
意匠
|
商標
特許ウォッチ
Twitter
他の特許を見る
公開番号
2025148681
公報種別
公開特許公報(A)
公開日
2025-10-08
出願番号
2024048932
出願日
2024-03-26
発明の名称
積層セラミック電子部品
出願人
太陽誘電株式会社
代理人
個人
,
個人
主分類
H01G
4/30 20060101AFI20251001BHJP(基本的電気素子)
要約
【課題】高強度及び高寿命な積層セラミック電子部品を提供する。
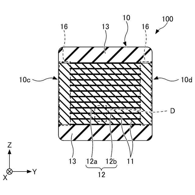
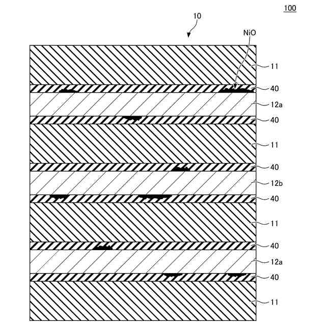
【解決手段】第1軸に沿って積層された複数の誘電体層11と、第1軸に沿って隣接する誘電体層の間にそれぞれ配置された複数の内部電極層12a、12bと、誘電体層と、内部電極層との間に配置された中間領域40と、を有する積層セラミック電子部品100であって、内部電極層は、ニッケル銅合金を含有し、中間領域は、銅を含み、中間領域における銅の濃度は、2at%以上10at%以下にピークを有し、中間領域はまた、内部電極層上にNiO層を部分的に含み、積層セラミック電子部品断面における、内部電極層の総面積に対するNiO層の総面積は、1%以上3.5%以下である。
【選択図】図5
特許請求の範囲
【請求項1】
第1軸に沿って積層された複数の誘電体層と、
前記第1軸に沿って隣接する前記誘電体層の間にそれぞれ配置された複数の内部電極層と、
前記誘電体層と、前記内部電極層との間に配置された中間領域と、を有する積層セラミック電子部品であって、
前記内部電極層は、ニッケル銅合金を含有し、
前記中間領域は、銅を含み、
前記中間領域における前記銅の濃度は、2at%以上10at%以下にピークを有し、
前記中間領域は、前記内部電極層上にNiO層を部分的に含み、
前記積層セラミック電子部品断面における、前記内部電極層の総面積に対する前記NiO層の総面積は、1%以上3.5%以下であることを特徴とする積層セラミック電子部品。
続きを表示(約 290 文字)
【請求項2】
前記中間領域は、前記内部電極層上に銅偏析層を含む、請求項1に記載の積層セラミック電子部品。
【請求項3】
前記銅偏析層が設けられていない領域に、前記NiO層が設けられる、請求項2に記載の積層セラミック電子部品。
【請求項4】
前記ニッケル銅合金は、銅を0.2at%以上5at%以下含む、請求項1又は2に記載の積層セラミック電子部品。
【請求項5】
前記中間領域における前記銅の濃度は、透過型電子顕微鏡を用いたエネルギー分散型X線分光法によって測定される、請求項1又は2に記載の積層セラミック電子部品。
発明の詳細な説明
【技術分野】
【0001】
本発明は、積層セラミック電子部品に関する。
続きを表示(約 1,500 文字)
【背景技術】
【0002】
携帯電話を代表とする高周波通信用システムにおいては、ノイズを除去するために積層セラミックコンデンサが用いられている。また車載電子制御装置等の、人命に関わる電子回路においても積層セラミックコンデンサが使用されており、これまで以上に高い信頼性が求められている。
【0003】
例えば、積層セラミックコンデンサの内部電極用に好適なニッケル粉末と、その効率的な製造方法とを提供することを目的として、原料ニッケル粉末をイオウ化合物で湿式処理した後、乾燥して、イオウの大部分が硫化物の形態で含有されるニッケル粉末を製造する方法が開示されている(例えば、特許文献1参照)。
【0004】
特許文献1に開示された製造方法によれば、粉末の焼結での収縮開始温度を高温化することにより焼結性を改善するとともに、触媒活性が抑制され脱バインダ性に優れた積層セラミックコンデンサの内部電極を得ることができるとされている。
【先行技術文献】
【特許文献】
【0005】
特開2010-043339号公報
【発明の概要】
【発明が解決しようとする課題】
【0006】
一般的な、積層セラミックコンデンサの製造方法においては、積層体の脱バインダ工程において、ニッケル及びニッケル微粒子が有する触媒作用によって有機バインダの分解が急激に進行する。すると、多量のガスが発生し、誘電体層と内部電極層とのデラミネーションや、誘電体層と内部電極層との破損及びクラック等の積層欠陥が生じる場合がある。
【0007】
上記特許文献1を含む従来技術では、このような積層欠陥を避ける目的で、ニッケル微粒子の表面に硫黄を付着させてニッケル表面の触媒活性を低減させ、脱バインダ工程における有機バインダの分解が急激に進行しないようにする方法が提案されている。しかしながら、粒径が0.20μm未満である微細なニッケル粉末が用いられている場合、表面活性が極めて高く、上記のような硫黄を付着させる技術のみでは十分に表面活性を低下させることができないという懸念点があった。また、硫黄を付着させることのみで表面活性を低下させる場合、硫黄の含有量が相対的に高くなり、硫黄による腐食の問題も懸念されていた。
【0008】
そこで、本発明は、高強度及び高寿命な積層セラミック電子部品を提供することを目的とする。
【課題を解決するための手段】
【0009】
課題を解決するための手段としての本発明の積層セラミック電子部品は、
第1軸に沿って積層された複数の誘電体層と、
前記第1軸に沿って隣接する前記誘電体層の間にそれぞれ配置された複数の内部電極層と、
前記誘電体層と、前記内部電極層との間に配置された中間領域と、を有する積層セラミック電子部品であって、
前記内部電極層は、ニッケル銅合金を含有し、
前記中間領域は、銅を含み、
前記中間領域における前記銅の濃度は、2at%以上10at%以下にピークを有し、
前記中間領域は、前記内部電極層上にNiO層を部分的に含み、
前記積層セラミック電子部品断面における、前記内部電極層の総面積に対する前記NiO層の総面積は、1%以上3.5%以下である。
【発明の効果】
【0010】
本発明によれば、高強度及び高寿命な積層セラミック電子部品を提供することができる。
【図面の簡単な説明】
(【0011】以降は省略されています)
この特許をJ-PlatPat(特許庁公式サイト)で参照する
関連特許
太陽誘電株式会社
導波路装置
11日前
太陽誘電株式会社
コイル部品
4日前
太陽誘電株式会社
コイル部品
5日前
太陽誘電株式会社
全固体電池
11日前
太陽誘電株式会社
コイル部品
4日前
太陽誘電株式会社
コイル部品
今日
太陽誘電株式会社
感覚提示システム
2か月前
太陽誘電株式会社
生体情報測定装置
4日前
太陽誘電株式会社
セラミック電子部品
4日前
太陽誘電株式会社
積層セラミック電子部品
4日前
太陽誘電株式会社
積層セラミック電子部品
6日前
太陽誘電株式会社
グルコース濃度推定装置
5日前
太陽誘電株式会社
積層セラミック電子部品
今日
太陽誘電株式会社
積層セラミック電子部品
1か月前
太陽誘電株式会社
電動アシスト車の制御装置
1か月前
太陽誘電株式会社
センサ装置および取付方法
5日前
太陽誘電株式会社
積層セラミックコンデンサ
5日前
太陽誘電株式会社
コイル部品および実装基板
5日前
太陽誘電株式会社
フィルタ及びマルチプレクサ
6日前
太陽誘電株式会社
導波路装置およびレーダ装置
11日前
太陽誘電株式会社
フィルタ及びマルチプレクサ
2か月前
太陽誘電株式会社
血圧測定装置および血圧測定方法
5日前
太陽誘電株式会社
コイル部品、コイル部品の製造方法
4日前
太陽誘電株式会社
バッテリパック及び車両の制御装置
11日前
太陽誘電株式会社
コイル部品、コイル部品の製造方法
4日前
太陽誘電株式会社
特徴量取得装置および特徴量取得方法
25日前
太陽誘電株式会社
コイル部品及びコイル部品の製造方法
4日前
太陽誘電株式会社
積層セラミックコンデンサ及び回路基板
7日前
太陽誘電株式会社
積層セラミックコンデンサ及び回路基板
5日前
太陽誘電株式会社
積層セラミックコンデンサ及び回路基板
15日前
太陽誘電株式会社
積層セラミックコンデンサ及び回路基板
18日前
太陽誘電株式会社
積層セラミックコンデンサ及び回路基板
15日前
太陽誘電株式会社
積層セラミックコンデンサ及び回路基板
1か月前
太陽誘電株式会社
磁性基体及び磁性基体を備えるコイル部品
4日前
太陽誘電株式会社
積層セラミック電子部品及びその製造方法
1か月前
太陽誘電株式会社
圧電トランスデューサおよび電気音響装置
13日前
続きを見る
他の特許を見る