TOP
|
特許
|
意匠
|
商標
特許ウォッチ
Twitter
他の特許を見る
10個以上の画像は省略されています。
公開番号
2025156458
公報種別
公開特許公報(A)
公開日
2025-10-14
出願番号
2025128163,2023189828
出願日
2025-07-31,2019-11-13
発明の名称
画像処理装置、その制御方法及びプログラム
出願人
キヤノン株式会社
代理人
個人
,
個人
,
個人
,
個人
,
個人
主分類
H04N
1/00 20060101AFI20251002BHJP(電気通信技術)
要約
【課題】 画像処理装置でスキャンして生成された画像データを共有するためのチャットサービスのトークルームを指定することができる。
【解決手段】 本発明の画像処理装置は、受信したチャットサーバのトークルームを示す情報に基づいて、受信した画像データを示す情報を前記トークルームに表示するよう制御するチャットサーバと通信する画像処理装置であって、原稿の画像を読み取って、前記画像に基づく画像データを生成する読取手段と、チャットサーバのトークルームを指定する指定手段と、前記読取手段が生成した画像データと前記指定手段によって指定されたトークルームを示す情報を前記チャットサーバに送信する送信手段とを有することを特徴とする。
【選択図】 図6
特許請求の範囲
【請求項1】
受信したチャットサーバのトークルームを示す情報に基づいて、受信した画像データを示す情報を前記トークルームに表示するよう制御するチャットサーバと通信する画像処理装置であって、
原稿の画像を読み取って、前記画像に基づく画像データを生成する読取手段と、
チャットサーバのトークルームを指定する指定手段と、
前記読取手段が生成した画像データと前記指定手段によって指定されたトークルームを示す情報を前記チャットサーバに送信する送信手段とを有することを特徴とする画像処理装置。
発明の詳細な説明
【技術分野】
【0001】
画像処理装置、その制御方法及びプログラムに関する。
続きを表示(約 2,100 文字)
【背景技術】
【0002】
特許文献1には、原稿の画像をスキャンすることによって生成した画像データを共有するために、ネットワーク上にあるファイルサーバに生成した画像データを送信する画像処理装置が開示されている。
【先行技術文献】
【特許文献】
【0003】
特開2019-62353号公報
【発明の概要】
【発明が解決しようとする課題】
【0004】
ユーザがインターネットで公開されているチャットサービスを使用して、スキャンして生成した画像データをチャットサービスのトークルームで共有する場合、以下のような課題がある。例えば、特許文献1のように、生成した画像データをSMB通信等でファイルサーバに送信する画像処理装置では、チャットサービスのトークルームを指定することができず、ユーザが所望のトークルームで画像データを共有することができない。
【0005】
本発明は上記の課題に鑑みてなされたものであり、画像処理装置でスキャンして生成された画像データを共有するためのチャットサービスのトークルームを指定することを目的とする。
【課題を解決するための手段】
【0006】
本発明の画像処理装置は、受信したチャットサーバのトークルームを示す情報に基づいて、受信した画像データを示す情報を前記トークルームに表示するよう制御するチャットサーバと通信する画像処理装置であって、原稿の画像を読み取って、前記画像に基づく画像データを生成する読取手段と、チャットサーバのトークルームを指定する指定手段と、前記読取手段が生成した画像データと前記指定手段によって指定されたトークルームを示す情報を前記チャットサーバに送信する送信手段とを有することを特徴とする。
【発明の効果】
【0007】
画像処理装置でスキャンして生成された画像データを共有するためのチャットサービスのトークルームを指定することができる。
【図面の簡単な説明】
【0008】
本発明のシステム構成の一例を示す図
MFP101のハードウェア構成の一例を示す図
モバイル端末200のハードウェア構成の一例を示す図
メッセージアプリサーバ300のハードウェア構成の一例を示す図
ボットサーバ400のハードウェア構成の一例を示す図
MFP101がスキャンして生成したファイルをメッセージアプリサーバ300に送信するシーケンスの一例を示す図
MFP101で実行されるスキャンtoチャット処理の一例を示すフローチャート
MFP101がスキャンして生成したファイルを、ボットサーバ400を介して、メッセージアプリサーバ300に送信するシーケンスの一例を示す図
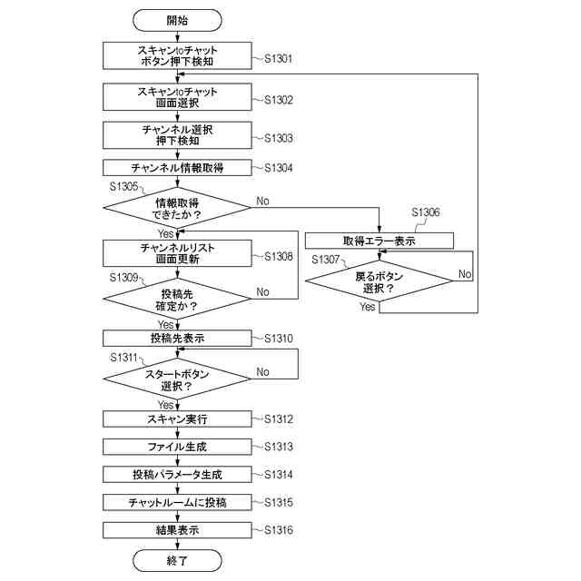
スキャンtoチャット処理の一例を示すフローチャート
ボットサーバ400が画像データをメッセージアプリサーバ300に送信する際の処理の一例を示すフローチャート
メッセージアプリサーバ内のファイル構造の一例を示す図
メッセージアプリのメッセージ画面の一例を示す図
設定登録画面の一例を示す図
MFP101の操作部116に表示されるホーム画面の一例を示す図
スキャンtoチャット処理の画面遷移の一例を示す図
IDとトークン情報との対応づけの一例を示す図
【発明を実施するための形態】
【0009】
以下、本発明を実施するための形態について図面を用いて説明する。なお、以下の実施例において示す構成は一例であり本発明は図示された構成に限定されるものではない。
【実施例】
【0010】
図1は、本発明のシステム構成の一例を示す図である。本実施例のシステム構成は、端末装置の一例であるモバイル端末200とネットワーク100を介して通信可能な画像処理装置であるMFP(Multi Function Peripheral)101とメッセージアプリサーバ300から構成される。また、ボットサーバ400もネットワーク100を介して接続され、通信可能である。メッセージアプリサーバ300は、MFP101、モバイル端末200から送信されたメッセージや画像データを受信し、ユーザ操作によりモバイル端末200や不図示のPC上に表示するチャットサービスを管理するチャットサーバである。ボットサーバ400は、MFP101と接続するメッセージアプリサーバ300にインストールされているボットアプリに対応する情報(トークン情報)との紐づけを行い、MFP101からの要求をメッセージアプリサーバ300に転送する。なお、本実施例のネットワーク100は、インターネットでもよいし、LAN(Local Area Network)でもよい。また、ネットワーク100は、有線でも無線でもよい。
(【0011】以降は省略されています)
この特許をJ-PlatPat(特許庁公式サイト)で参照する
関連特許
キヤノン株式会社
トナー
9日前
キヤノン株式会社
トナー
9日前
キヤノン株式会社
トナー
9日前
キヤノン株式会社
トナー
14日前
キヤノン株式会社
撮像装置
10日前
キヤノン株式会社
記録装置
14日前
キヤノン株式会社
現像装置
7日前
キヤノン株式会社
現像容器
7日前
キヤノン株式会社
現像装置
7日前
キヤノン株式会社
現像容器
7日前
キヤノン株式会社
撮像装置
14日前
キヤノン株式会社
記録装置
7日前
キヤノン株式会社
測距装置
2日前
キヤノン株式会社
定着装置
8日前
キヤノン株式会社
撮影装置
7日前
キヤノン株式会社
光学センサ
9日前
キヤノン株式会社
モジュール
9日前
キヤノン株式会社
カートリッジ
7日前
キヤノン株式会社
情報処理装置
7日前
キヤノン株式会社
画像形成装置
7日前
キヤノン株式会社
画像形成装置
7日前
キヤノン株式会社
画像形成装置
7日前
キヤノン株式会社
画像形成装置
8日前
キヤノン株式会社
画像処理装置
7日前
キヤノン株式会社
カートリッジ
7日前
キヤノン株式会社
画像形成装置
7日前
キヤノン株式会社
画像形成装置
15日前
キヤノン株式会社
画像形成装置
8日前
キヤノン株式会社
画像形成装置
14日前
キヤノン株式会社
画像形成装置
15日前
キヤノン株式会社
画像表示装置
14日前
キヤノン株式会社
吐出素子基板
14日前
キヤノン株式会社
情報処理装置
14日前
キヤノン株式会社
画像形成装置
14日前
キヤノン株式会社
画像形成装置
14日前
キヤノン株式会社
画像形成装置
10日前
続きを見る
他の特許を見る