TOP
|
特許
|
意匠
|
商標
特許ウォッチ
Twitter
他の特許を見る
10個以上の画像は省略されています。
公開番号
2025156519
公報種別
公開特許公報(A)
公開日
2025-10-14
出願番号
2025130365,2022179917
出願日
2025-08-04,2022-11-09
発明の名称
制御装置、制御方法、プログラム及び記憶媒体
出願人
キヤノン株式会社
代理人
個人
,
個人
,
個人
,
個人
,
個人
主分類
H04N
23/69 20230101AFI20251002BHJP(電気通信技術)
要約
【課題】 より適切に撮像装置の制御モードを切り替えること。
【解決手段】 被写体を追尾して撮像するために撮像手段の画角を制御する制御装置。撮像手段により撮像された画像を取得し、取得された画像から被写体を検出する。取得された画像における被写体の位置と設定された目標位置との差分に基づいて、撮像手段の画角制御を実行する。前記差分と差分に対する少なくとも1つの閾値に基づいて、画角制御を実行するか否かを決定し、被写体のサイズ、目標位置、及び少なくとも1つの閾値のうちのいずれかに基づいて、画角制御の制御速度が異なる少なくとも2つの制御モードを切り替えて画角制御を実行する。
【選択図】 図1
特許請求の範囲
【請求項1】
被写体を追尾して撮像するために撮像手段の画角を制御する制御装置であって、
前記撮像手段により撮像された画像を取得する画像取得手段と、
前記画像から前記被写体を検出する検出手段と、
前記画像における前記被写体の位置と前記画像における目標位置との差分に基づいて、前記撮像手段の画角制御を実行する制御手段と、を有し、
前記制御手段は、前記差分と前記差分に対する少なくとも1つの閾値に基づいて、前記画角制御を実行するか否かを決定し、
前記被写体のサイズ、前記目標位置、及び前記少なくとも1つの閾値のうちのいずれかに基づいて、前記画角制御の制御速度が異なる少なくとも2つの制御モードを切り替えて前記画角制御を実行することを特徴とする制御装置。
続きを表示(約 1,300 文字)
【請求項2】
前記制御手段は、前記差分が前記少なくとも1つの閾値より大きい場合に前記撮像手段の画角制御を実行することを特徴とする請求項1に記載の制御装置。
【請求項3】
前記少なくとも2つの制御モードは、前記差分に応じて第1の画角制御速度で前記画角制御を実行する第1の制御モードと、前記差分に応じて前記第1の画角制御よりも制御速度が遅い第2の画角制御速度で前記画角制御を実行する第2の制御モードとを含むことを特徴とする請求項1または2に記載の制御装置。
【請求項4】
前記制御手段は、前記少なくとも1つの閾値に基づいて前記画角制御を実行する場合、
前記少なくとも1つの閾値が所定値以上である場合に、前記第1の制御モードで前記画角制御を実行し、
前記少なくとも1つの閾値が所定値以下である場合に、前記第2の制御モードで前記画角制御を実行することを特徴とする請求項3に記載の制御装置。
【請求項5】
前記制御手段は、前記被写体のサイズに基づいて前記画角制御を実行する場合、
前記被写体のサイズが所定値以上である場合に、前記第1の制御モードで前記画角制御を実行し、
前記被写体のサイズが所定値以下である場合に、第1の制御モードで前記画角制御を実行することを特徴とする請求項3に記載の制御装置。
【請求項6】
前記制御手段は、前記目標位置に基づいて前記画角制御を実行する場合、
前記目標位置と前記画角の中心位置までの距離が所定値以上である場合に、前記第1の制御モードで前記画角制御を実行し、
前記目標位置と前記画角の中心までの距離が所定値以下である場合に、前記第2の制御モードで前記画角制御を実行することを特徴とする請求項3に記載の制御装置。
【請求項7】
前記被写体の目標サイズを設定する設定手段を更に有し、
前記制御手段は、前記被写体のサイズに基づいて前記画角制御を実行する場合、
前記制御手段は、前記目標サイズが所定値以上である場合に、前記に前記第1の制御モードで前記画角制御を実行し、
前記目標サイズが所定値以下である場合に、第1の制御モードで前記画角制御を実行することを特徴とする請求項3に記載の制御装置。
【請求項8】
前記制御手段は、前記差分と前記少なくとも1つの閾値に基づいて、前記画角制御を中止するか否かを決定し、
前記少なくとも1つの閾値のうち、前記画角制御を実行するか否かを決定するための第1の閾値と、前記画角制御を中止するか否かを決定するための第2の閾値とを異ならせることを特徴とする請求項1に記載の制御装置。
【請求項9】
前記第1の閾値よりも前記第2の閾値が小さいことを特徴とする請求項8に記載の制御装置。
【請求項10】
前記制御手段は、前記第1の閾値よりも前記第2の閾値が小さい場合に、前記第1の制御モードで前記画角制御を実行し、
前記第1の閾値よりも前記第2の閾値が大きい場合に、前記第2の制御モードで前記画角制御を実行することを特徴とする請求項3に記載の制御装置。
(【請求項11】以降は省略されています)
発明の詳細な説明
【技術分野】
【0001】
本発明は、制御装置、撮像システム、制御方法、プログラム及び記憶媒体に関する撮像。
続きを表示(約 1,700 文字)
【背景技術】
【0002】
近年、撮像被写体を自動的に追尾して撮像する技術として、追尾対象の動きに合わせて撮像装置のパン・チルト・ズーム(以後、PTZと呼ぶ)操作を行う事で画角を調整し、追尾対象を画角内に収める技術が知られている。
【0003】
特許文献1には、監視領域に侵入した物体を追尾する撮像する監視装置であって、物体の位置を検出する物体検知部と、撮像方向を変更可能な撮像部と、モード切替手段とを有する監視装置が開示されている。特許文献1に記載の監視装置は、物体の移動速度に応じた制御モードを少なくとも2つ有し、いずれかの制御モードに基づいて撮像部の撮像方向を制御する。また、モード切替手段は、物体検知部の検知から求められる物体の移動速度に応じて、低速側から高速側への切り替えと、高速側から低速側への制御モードの切り替えとをそれぞれ所定の切り替え基準に基づいて行う。
【先行技術文献】
【特許文献】
【0004】
特開2019-68183
【発明の概要】
【発明が解決しようとする課題】
【0005】
本発明が解決しようとする課題は、より適切に撮像装置の制御モードを切り替えることである。
【課題を解決するための手段】
【0006】
上記課題を解決するために、本発明の一態様に係る制御装置は、被写体を追尾して撮像するために撮像手段の画角を制御する制御装置であって、前記撮像手段により撮像された画像を取得する画像取得手段と、前記画像から前記被写体を検出する検出手段と、前記画像における前記被写体の位置と前記画像における目標位置との差分に基づいて、前記撮像手段の画角制御を実行する制御手段と、を有し、前記制御手段は、前記差分と前記差分に対する少なくとも1つの閾値に基づいて、前記画角制御を実行するか否かを決定し、前記被写体のサイズ、前記目標位置、及び前記少なくとも1つの閾値のうちのいずれかに基づいて、前記画角制御の制御速度が異なる少なくとも2つの制御モードを切り替えて前記画角制御を実行することを特徴とする。
【発明の効果】
【0007】
本発明によれば、より適切に撮像装置の制御モードを切り替えることができる。
【図面の簡単な説明】
【0008】
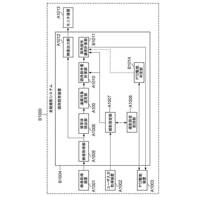
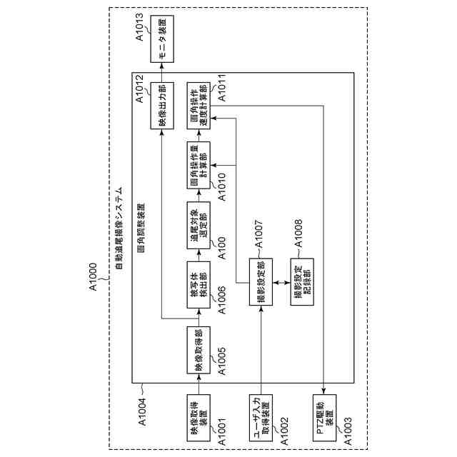
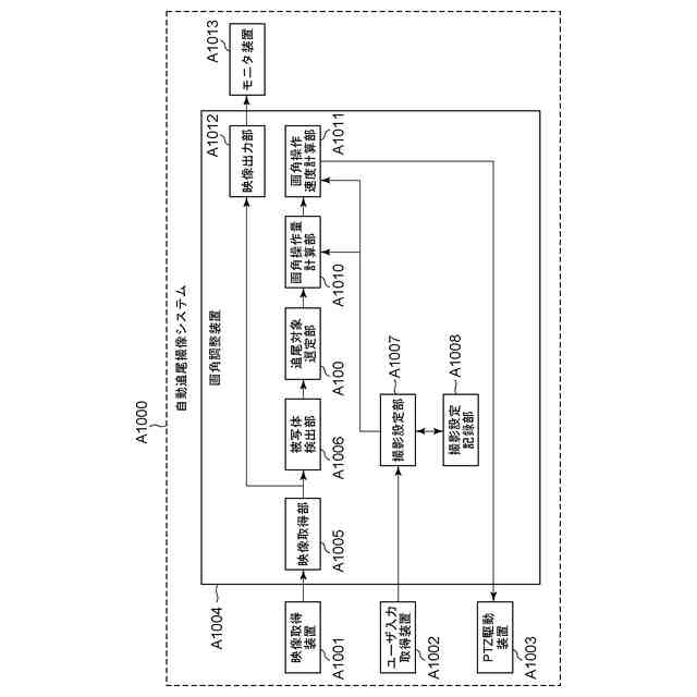
第1実施形態に係る自動追尾撮像システムのブロック構成図
第1実施形態に係る自動追尾撮像システムの撮像設定を模式的に示す図
第1実施形態に係る自動追尾撮像システムの処理手順を示すフローチャート
第1実施形態に係る別の撮像設定例を模式的に示す図
第1実施形態に係る画角操作速度を計算するためのグラフ
第1実施形態に係る画角速度計算を閾値によって切り替えることを模式的に示す図
第1実施形態に係る画角操作速度を計算するためのグラフ
第2実施形態に係る自動追尾撮像システムのブロック構成図
第2実施形態に係る自動追尾撮像システムの処理手順を示すフローチャート
第2実施形態に係る画角操作速度を計算するためのグラフ
第2実施形態に係る画角操作速度を計算するためのグラフ
第2実施形態に係る画角速度計算を閾値によって切り替えることを模式的に示す図
第1の実施形態または第2の実施形態に係る画角調整装置のハードウェアの構成例を示す図。
【発明を実施するための形態】
【0009】
以下、添付図面を参照して、本発明を実施するための形態について詳細に説明する。以下に説明する実施形態は、本発明の実現手段としての一例であり、本発明が適用される装置の構成や各種条件によって適宜修正又は変更されるべきものであり、本発明は以下の実施形態に限定されるものではない。また、後述する各実施形態の一部を適宜組み合わせて構成してもよい。
【0010】
<実施形態1>
本実施形態に係る自動追尾撮像システムの構成例について、図1を参照して説明する。図1は自動追尾撮像システムの機能構成を示すブロック図である。
(【0011】以降は省略されています)
この特許をJ-PlatPat(特許庁公式サイト)で参照する
関連特許
キヤノン株式会社
トナー
9日前
キヤノン株式会社
トナー
9日前
キヤノン株式会社
トナー
14日前
キヤノン株式会社
トナー
9日前
キヤノン株式会社
電子機器
16日前
キヤノン株式会社
撮像装置
10日前
キヤノン株式会社
測距装置
2日前
キヤノン株式会社
撮像装置
14日前
キヤノン株式会社
現像装置
7日前
キヤノン株式会社
撮影装置
7日前
キヤノン株式会社
現像装置
7日前
キヤノン株式会社
記録装置
14日前
キヤノン株式会社
定着装置
8日前
キヤノン株式会社
記録装置
7日前
キヤノン株式会社
定着装置
22日前
キヤノン株式会社
収容装置
22日前
キヤノン株式会社
現像容器
7日前
キヤノン株式会社
現像容器
7日前
キヤノン株式会社
表示装置
21日前
キヤノン株式会社
発光装置
21日前
キヤノン株式会社
電子機器
18日前
キヤノン株式会社
モジュール
9日前
キヤノン株式会社
現像剤容器
15日前
キヤノン株式会社
半導体装置
16日前
キヤノン株式会社
光学センサ
9日前
キヤノン株式会社
画像形成装置
14日前
キヤノン株式会社
画像形成装置
14日前
キヤノン株式会社
画像形成装置
14日前
キヤノン株式会社
情報処理装置
7日前
キヤノン株式会社
画像形成装置
10日前
キヤノン株式会社
情報処理装置
14日前
キヤノン株式会社
画像形成装置
10日前
キヤノン株式会社
画像形成装置
10日前
キヤノン株式会社
画像形成装置
10日前
キヤノン株式会社
画像形成装置
10日前
キヤノン株式会社
画像形成装置
10日前
続きを見る
他の特許を見る