TOP
|
特許
|
意匠
|
商標
特許ウォッチ
Twitter
他の特許を見る
10個以上の画像は省略されています。
公開番号
2025156525
公報種別
公開特許公報(A)
公開日
2025-10-14
出願番号
2025130470,2021185839
出願日
2025-08-05,2021-11-15
発明の名称
情報処理装置、情報処理方法及びプログラム
出願人
キヤノン株式会社
代理人
個人
,
個人
,
個人
,
個人
,
個人
主分類
G06T
7/254 20170101AFI20251002BHJP(計算;計数)
要約
【課題】特定のオブジェクトの選択的な描画を効率よく行うことが可能なボリュメトリックビデオのフォーマットを提供する。
【解決手段】オブジェクトの形状データを含むフレームのシーケンスから成るボリュメトリックビデオデータ、および、前記形状データに対応するオブジェクトそれぞれのフレーム間における変化を示すトラッキング情報を取得する。そして、前記トラッキング情報に基づいて、前記オブジェクトそれぞれと各フレームにおける前記形状データとを関連付けるメタデータを生成し、前記メタデータを含む前記ボリュメトリックビデオデータを出力する。
【選択図】図3
特許請求の範囲
【請求項1】
オブジェクトの形状データを含むフレームのシーケンスから成るボリュメトリックビデオデータを取得する取得手段と、
前記形状データに対応するオブジェクトそれぞれのフレーム間における変化を示すトラッキング情報を取得する取得手段と、
前記トラッキング情報に基づいて、前記オブジェクトそれぞれと各フレームにおける前記形状データとを関連付けるメタデータを生成する生成手段と、
前記メタデータを含む前記ボリュメトリックビデオデータを出力する出力手段と、
を有することを特徴とする情報処理装置。
発明の詳細な説明
【技術分野】
【0001】
本開示の技術は、ボリュメトリックビデオのファイルフォーマットに関する。
続きを表示(約 1,800 文字)
【背景技術】
【0002】
特許文献1は、スポーツのハイライトシーンの分析等を目的として、被写体(オブジェクト)の位置と時間を表すトラッキング情報を動画の各フレームにメタデータとして関連付ける方法を開示している。
【先行技術文献】
【特許文献】
【0003】
特開2000‐106661号公報
【発明の概要】
【発明が解決しようとする課題】
【0004】
近年、撮像空間全体を3Dデータ化することで、コンピュータの中に作り上げられたバーチャル空間内の様々なアングルからの映像を生成できるボリュメトリックビデオ技術が注目されている。このボリュメトリックビデオでは、視聴する際の視点(仮想的なカメラの位置や姿勢、画角など。以下、「仮想視点」と呼ぶ。)を視聴者自身が制御することができる。ここで、例えばスタジアムなど広い空間で行われるサッカーの試合を対象としたボリュメトリックビデオにおいて好適な視聴を実現するためには、仮想視点を見たいシーンに応じて随時制御する必要がある。具体的には、注目する選手の動きを追いかけたり、ボールを画角内に維持したりするための細かな制御が必要になる。また、ボリュメトリックビデオでは特定のオブジェクトだけを視聴する場合は、仮想視点の制御に加え、当該特定のオブジェクトだけを選択的に描画する処理が必要になる。
【0005】
ボリュメトリックビデオのデータにおいては、一般的に1フレームの中に、オブジェクトの三次元形状を表す形状データがそこに映っているオブジェクトの数だけ含まれている。そして、入力された仮想視点に応じて特定のオブジェクトを選択的に描画する際にはどの形状データをどのように処理するかを決める必要があるところ、上記特許文献1の方法でトラッキング情報を各フレームに関連付けるだけでは対処できない。
【0006】
本開示の目的は、特定のオブジェクトの選択的な描画を簡易に行うことを可能とすることである。
【課題を解決するための手段】
【0007】
本開示に係る情報処理装置は、オブジェクトの形状データを含むフレームのシーケンスから成るボリュメトリックビデオデータを取得する取得手段と、前記形状データに対応するオブジェクトそれぞれのフレーム間における変化を示すトラッキング情報を取得する取得手段と、前記トラッキング情報に基づいて、前記オブジェクトそれぞれと各フレームにおける前記形状データとを関連付けるメタデータを生成する生成手段と、前記メタデータを含む前記ボリュメトリックビデオデータを出力する出力手段と、を有することを特徴とする。
【発明の効果】
【0008】
本開示の技術によれば、特定のオブジェクトの選択的な描画を簡易に行うことが可能となる。
【図面の簡単な説明】
【0009】
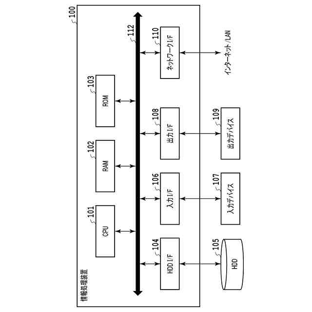
情報処理装置のハードウェア構成の一例を示す図
情報処理装置のソフトウェア構成を示すブロック図
ボリュメトリックビデオに対しメタデータを付す処理の流れを示すフローチャート
(a)及び(b)は、オブジェクトトラッキングの様子を表す模式図
(a)はオブジェクトの一覧情報の一例を示す図、(b)はメタデータの一例を示す図
情報処理装置のソフトウェア構成を示すブロック図
ボリュメトリックビデオに対しメタデータを付す処理の流れを示すフローチャート
チャプタオブジェクトの同定を説明する図
メタデータの一例を示す図
並べ替え処理の結果の一例を示す図
メタデータの一例を示す図
メタデータの一例を示す図
(a)及び(b)はオペレータが使用するUI画面の一例を示す図、
情報処理装置のソフトウェア構成を示すブロック図
オブジェクトを選択的に再生する処理の流れを示すフローチャート
【発明を実施するための形態】
【0010】
以下、本発明を実施するための形態について図面を用いて説明する。なお、以下の実施の形態は特許請求の範囲に係る発明を限定するものでなく、また実施の形態で説明されている特徴の組み合わせの全てが発明の解決手段に必須のものとは限らない。
(【0011】以降は省略されています)
この特許をJ-PlatPat(特許庁公式サイト)で参照する
関連特許
キヤノン株式会社
現像装置
2日前
キヤノン株式会社
画像形成装置
2日前
キヤノン株式会社
画像形成装置
2日前
キヤノン株式会社
電子写真装置
2日前
キヤノン株式会社
インクジェット記録装置
2日前
キヤノン株式会社
情報処理装置およびその制御方法
2日前
キヤノン株式会社
トナー、カートリッジ、及び画像形成装置
2日前
キヤノン株式会社
画像形成装置
2日前
キヤノン株式会社
画像処理装置、画像処理システム、画像処理プログラム及び画像処理方法
2日前
キヤノン株式会社
情報処理装置及びプログラム
2日前
キヤノン株式会社
光学系及びそれを有する撮像装置
2日前
キヤノン株式会社
ズームレンズおよびそれを有する撮像装置
2日前
キヤノン株式会社
画像形成装置、画像形成装置の制御方法及びプログラム
2日前
キヤノン株式会社
連続体ロボット制御システム及び連続体ロボット制御方法
2日前
キヤノン株式会社
情報処理装置、情報処理装置の制御方法ならびにプログラム
2日前
キヤノン株式会社
情報処理装置、情報処理装置の制御方法ならびにプログラム
2日前
キヤノン株式会社
情報処理装置、情報処理装置の制御方法ならびにプログラム
2日前
個人
詐欺保険
5日前
個人
縁伊達ポイン
5日前
個人
地球保全システム
18日前
個人
QRコードの彩色
9日前
個人
残土処理システム
11日前
個人
農作物用途分配システム
4日前
個人
表変換編集支援システム
1か月前
個人
知的財産出願支援システム
12日前
個人
パスワード管理支援システム
1か月前
株式会社キーエンス
受発注システム
17日前
個人
海外支援型農作物活用システム
1か月前
個人
食品レシピ生成システム
17日前
個人
システム及びプログラム
1か月前
個人
AIキャラクター制御システム
1か月前
株式会社キーエンス
受発注システム
17日前
株式会社キーエンス
受発注システム
17日前
キヤノン株式会社
表示システム
17日前
個人
帳票自動生成型SaaSシステム
12日前
個人
音声対話型帳票生成支援システム
1か月前
続きを見る
他の特許を見る