TOP
|
特許
|
意匠
|
商標
特許ウォッチ
Twitter
他の特許を見る
10個以上の画像は省略されています。
公開番号
2025156821
公報種別
公開特許公報(A)
公開日
2025-10-15
出願番号
2024059521
出願日
2024-04-02
発明の名称
液体吐出ヘッド、液体吐出装置、および液体吐出ヘッドの製造方法
出願人
キヤノン株式会社
代理人
弁理士法人谷・阿部特許事務所
主分類
B41J
2/14 20060101AFI20251007BHJP(印刷;線画機;タイプライター;スタンプ)
要約
【課題】先端部分がカールした記録媒体を、その先端から誘導可能であり、かつ、重量の増大を抑制可能な技術を提供する。
【解決手段】液体を吐出する素子基板と、前記素子基板を支持する支持部材と、前記支持部材との間に隙間を設けつつ、前記素子基板を覆って保護する保護カバーと、前記支持部材における前記保護カバーの近傍に設けられ、先端部分がカールした記録媒体の先端の前記隙間への進入を規制しつつ、該先端を前記保護カバーの表面側へ誘導可能なガイド部と、を有するようにした。
【選択図】図5
特許請求の範囲
【請求項1】
液体を吐出する素子基板と、
前記素子基板を支持する支持部材と、
前記支持部材との間に隙間を設けつつ、前記素子基板を覆って保護する保護カバーと、
前記支持部材における前記保護カバーの近傍に設けられ、先端部分がカールした記録媒体の先端の前記隙間への進入を規制しつつ、該先端を前記保護カバーの表面側へ誘導可能なガイド部と、を有することを特徴とする液体吐出ヘッド。
続きを表示(約 660 文字)
【請求項2】
前記ガイド部は、前記保護カバーに対して、前記記録媒体の搬送方向の上流側に隣接して設けられる請求項1に記載の液体吐出ヘッド。
【請求項3】
前記ガイド部はさらに、前記保護カバーに対して、前記液体吐出ヘッドの走査方向の一方側、および前記走査方向の他方側に隣接して設けられる請求項2に記載の液体吐出ヘッド。
【請求項4】
前記ガイド部はさらに、前記保護カバーに対して、前記搬送方向の下流側に隣接して設けられる請求項3に記載の液体吐出ヘッド。
【請求項5】
前記ガイド部は、前記保護カバーと所定距離だけ離間して形成される請求項1に記載の液体吐出ヘッド。
【請求項6】
前記所定距離は、記録媒体の厚さよりも小さい請求項5に記載の液体吐出ヘッド。
【請求項7】
前記ガイド部は、前記保護カバーと接触して形成される請求項1に記載の液体吐出ヘッド。
【請求項8】
前記ガイド部は、前記保護カバーに近づくに従って、前記支持部材側から前記保護カバー側に傾斜する傾斜面を備える請求項1に記載の液体吐出ヘッド。
【請求項9】
前記ガイド部は、鉛直方向において前記保護カバーよりも突出しないように形成される請求項1に記載の液体吐出ヘッド。
【請求項10】
前記ガイド部は、前記保護カバーの隣接する辺の長さ以上の長さで形成される請求項1に記載の液体吐出ヘッド。
(【請求項11】以降は省略されています)
発明の詳細な説明
【技術分野】
【0001】
本開示は、液体吐出ヘッド、液体吐出装置、および液体吐出ヘッドの製造方法に関する。
続きを表示(約 1,400 文字)
【背景技術】
【0002】
特許文献1には、支持部材に支持された記録素子基板の吐出口を外部に露出させつつ、記録素子基板に接続されるフレキシブル配線基板を覆うカバー部材を備えた液体吐出ヘッドが開示されている。このカバー部材には、記録媒体の搬送方向上流側において、先端部分が湾曲(カール)した記録媒体を、搬送中にその先端から、液体吐出ヘッドと支持部(プラテン)との間の空間に誘導するように傾斜するガイド部が形成されている。
【先行技術文献】
【特許文献】
【0003】
特開2022-168641号公報
【発明の概要】
【発明が解決しようとする課題】
【0004】
しかしながら、特許文献1に開示の技術では、カバー部材は、吐出口が形成された領域を除く支持部材の支持面の全体を覆い、かつ、当該支持面から搬送方向上流側および下流側に張り出して形成されている。このため、カバー部材が大型化し、液体吐出ヘッドの重量が増大してしまっていた。
【0005】
本開示は、上記課題に鑑みてなされたものであり、先端部分がカールした記録媒体を、その先端から誘導可能であり、かつ、重量の増大を抑制可能な技術を提供することを目的とする。
【課題を解決するための手段】
【0006】
上記目的を達成するために、本開示による液体吐出ヘッドの一実施形態は、液体を吐出する素子基板と、前記素子基板を支持する支持部材と、前記支持部材との間に隙間を設けつつ、前記素子基板を覆って保護する保護カバーと、前記支持部材における前記保護カバーの近傍に設けられ、先端部分がカールした記録媒体の先端の前記隙間への進入を規制しつつ、該先端を前記保護カバーの表面側へ誘導可能なガイド部と、を有することを特徴とする。
【発明の効果】
【0007】
本開示によれば、先端部分がカールした記録媒体を、その先端から誘導することができ、かつ、重量の増大を抑制することができるようになる。
【図面の簡単な説明】
【0008】
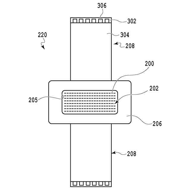
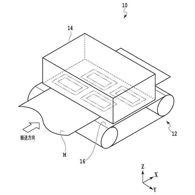
液体吐出装置の概略構成図。
液体吐出ヘッドの外観図。
吐出ユニットの概略構成図。
支持部材での吐出ユニットの支持状態を説明する図。
ガイド部を説明する図。
他の実施形態によるガイド部を説明する図。
他の実施形態による液体吐出装置の概略構成図。
他の実施形態によるガイド部を説明する図。
図8のガイド部の変形例を示す図。
ガイド部の変形例を示す図。
ガイド部の変形例を示す図。
ガイド部の変形例を示す図。
【発明を実施するための形態】
【0009】
以下、添付の図面を参照しながら、液体吐出ヘッド、液体吐出装置、および液体吐出ヘッドの製造方法の実施形態の一例を説明する。なお、以下の実施形態は、本開示を限定するものではなく、また、本実施形態で説明されている特徴の組合せのすべてが本開示の解決手段に必須のものとは限らない。また、本実施形態に記載されている構成要素の位置、形状などはあくまで一例であり、この発明をそれらのみに限定する趣旨のものではない。
【0010】
(第1実施形態)
まず、図1乃至図5を参照しながら、第1実施形態による液体吐出ヘッドについて説明する。
(【0011】以降は省略されています)
この特許をJ-PlatPat(特許庁公式サイト)で参照する
関連特許
キヤノン株式会社
トナー
11日前
キヤノン株式会社
トナー
16日前
キヤノン株式会社
トナー
11日前
キヤノン株式会社
トナー
11日前
キヤノン株式会社
記録装置
9日前
キヤノン株式会社
定着装置
10日前
キヤノン株式会社
現像装置
9日前
キヤノン株式会社
現像容器
9日前
キヤノン株式会社
測距装置
4日前
キヤノン株式会社
現像装置
9日前
キヤノン株式会社
現像容器
9日前
キヤノン株式会社
撮像装置
16日前
キヤノン株式会社
電子機器
18日前
キヤノン株式会社
記録装置
16日前
キヤノン株式会社
撮影装置
9日前
キヤノン株式会社
撮像装置
12日前
キヤノン株式会社
現像装置
2日前
キヤノン株式会社
現像剤容器
17日前
キヤノン株式会社
光学センサ
11日前
キヤノン株式会社
半導体装置
18日前
キヤノン株式会社
モジュール
11日前
キヤノン株式会社
画像表示装置
16日前
キヤノン株式会社
画像形成装置
5日前
キヤノン株式会社
画像形成装置
3日前
キヤノン株式会社
画像処理装置
17日前
キヤノン株式会社
画像形成装置
12日前
キヤノン株式会社
画像形成装置
2日前
キヤノン株式会社
画像形成装置
10日前
キヤノン株式会社
表示システム
17日前
キヤノン株式会社
画像形成装置
17日前
キヤノン株式会社
映像表示装置
11日前
キヤノン株式会社
カートリッジ
9日前
キヤノン株式会社
画像形成装置
16日前
キヤノン株式会社
画像形成装置
16日前
キヤノン株式会社
画像形成装置
10日前
キヤノン株式会社
画像形成装置
17日前
続きを見る
他の特許を見る