TOP
|
特許
|
意匠
|
商標
特許ウォッチ
Twitter
他の特許を見る
10個以上の画像は省略されています。
公開番号
2025156835
公報種別
公開特許公報(A)
公開日
2025-10-15
出願番号
2024059546
出願日
2024-04-02
発明の名称
調光装置
出願人
豊田合成株式会社
代理人
個人
,
個人
主分類
E06B
9/24 20060101AFI20251007BHJP(戸,窓,シャッタまたはローラブラインド一般;はしご)
要約
【課題】調光装置の薄型化を図る。
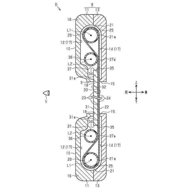
【解決手段】調光装置Dは、前後方向に対し直交する方向へ互いに離間した状態で配置された一対の可動ローラ20と、両可動ローラ20に架け渡されたループ状の偏光フィルム22とを備える。偏光フィルム22は、それぞれ偏光軸を有し、かつ前後方向に互いに対向する第1偏光部23及び第2偏光部24を、両可動ローラ20の間に有する。第1偏光部23は第2偏光部24の前方に位置する。両可動ローラ20の間であり、かつ第1偏光部23の前方には、偏光フィルム22よりも剛性の高い透明なシート31が配置される。第1偏光部23は、第2偏光部24及びシート31に隣接する部分を有する。可動ローラ20とシート31との間であり、かつ第1偏光部23の前方には、第1偏光部23を第2偏光部24に近付ける側へ偏光フィルム22を押圧することにより、張力を付与するテンションローラ36が配置される。
【選択図】図1
特許請求の範囲
【請求項1】
利用者に対向する方向を前後方向とし、かつ前記前後方向のうち、前記利用者に近い側を前側とし、かつ前記利用者から遠い側を後側とした場合、
前記前後方向に対し直交する方向に互いに平行に離間した状態で配置された一対の可動ローラと、一対の前記可動ローラに架け渡されたループ状の偏光フィルムとを備え、
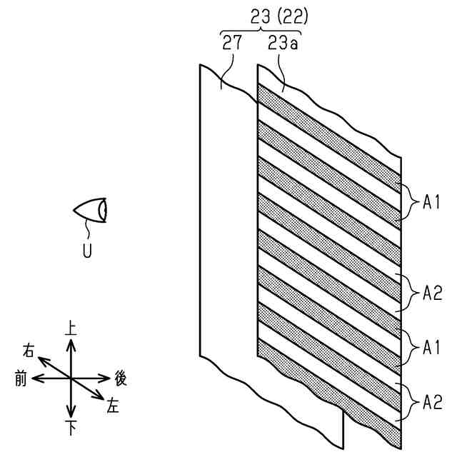
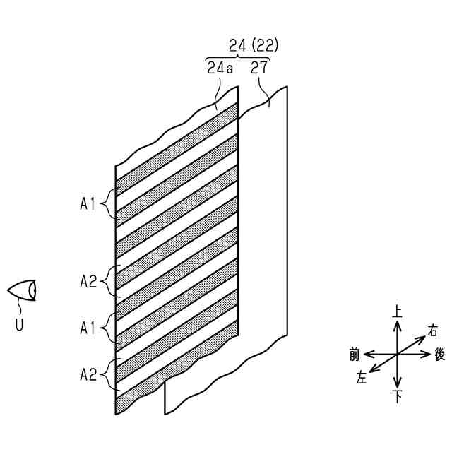
前記偏光フィルムは、それぞれ偏光軸を有し、かつ前記前後方向に互いに対向する第1偏光部及び第2偏光部を、一対の前記可動ローラの間に有し、
前記第1偏光部は、前記第2偏光部の前方に位置し、
一対の前記可動ローラの回動に伴い、前記第1偏光部及び前記第2偏光部が、一対の前記可動ローラの配置方向に沿って、互いに反対方向へ移動することにより、前記第1偏光部及び前記第2偏光部における光の透過の程度を調整する調光装置であって、
一対の前記可動ローラの間であり、かつ前記第1偏光部の前方には、前記偏光フィルムよりも剛性の高い透明なシートが配置され、
前記第1偏光部は、前記第2偏光部及び前記シートに隣接する部分を有しており、
少なくとも一方の前記可動ローラと前記シートとの間であり、かつ前記第1偏光部よりも前方には、前記第1偏光部を前記第2偏光部に近付ける側へ前記偏光フィルムを押圧することにより、前記偏光フィルムに張力を付与するテンションローラが配置されている調光装置。
続きを表示(約 790 文字)
【請求項2】
前記シートの後面は、一対の前記可動ローラのそれぞれの外周面の後端に対し、前記前後方向における同一の箇所又は隣接する箇所に位置している、請求項1に記載の調光装置。
【請求項3】
前記テンションローラは、前記偏光フィルムのうち、前記可動ローラと前記シートとの間の部分を、前記可動ローラ側へ押圧することにより、前記偏光フィルムに前記張力を付与するものであり、
前記テンションローラの外周面の後端は、前記シートの前記後面に対し、前記前後方向における同一の箇所又は隣接する箇所に位置している、請求項2に記載の調光装置。
【請求項4】
一対の主枠部を有するフレームをさらに備える調光装置であって、
各主枠部内には、前記可動ローラが回動可能に支持されるとともに、前記配置方向における前記シートの端部が入り込んでおり、
さらに、前記偏光フィルムの一部は、各主枠部内で前記シートの前記端部の後方に位置しており、
少なくとも一方の前記主枠部は、前記偏光フィルムのうち、前記主枠部内で前記シートの前記端部の後方に位置する部分の後側に設けられ、かつ前方へ突出する突部を備えている、請求項1~請求項3のいずれか1項に記載の調光装置。
【請求項5】
利用者に対向する方向を前後方向とした場合、
それぞれ偏光軸を有し、かつ前記前後方向に互いに対向する一対の偏光部を有する偏光フィルムが用いられ、
一対の前記偏光部が、前記前後方向に対し直交する方向に沿って、互いに反対方向へ移動することにより、一対の前記偏光部における光の透過の程度を調整する調光装置であって、
一対の前記偏光部の周縁部にはフレームが設けられ、
前記フレーム外では、一対の前記偏光部の間隔が1mm以下である調光装置。
発明の詳細な説明
【技術分野】
【0001】
本発明は調光装置に関する。
続きを表示(約 2,000 文字)
【背景技術】
【0002】
偏光の光学的性質を利用することにより、光の透過の程度を調整する調光装置が知られている。
ここで、調光装置が利用者に対向する方向を前後方向とする。前後方向のうち、利用者に近い側を前側とし、かつ利用者から遠い側を後側とする。
【0003】
上記調光装置として、前後方向に対し直交する方向に互いに離間した状態で配置された一対の可動ローラと、上記一対の可動ローラに架け渡されたループ状の偏光フィルムとを備えるものが、例えば、特許文献1に記載されている。
【0004】
偏光フィルムは、それぞれ偏光軸を有し、かつ前後方向に互いに対向する第1偏光部及び第2偏光部を、一対の可動ローラの間に有する。
上記調光装置では、一対の可動ローラの回動に伴い、第1偏光部及び第2偏光部が、一対の可動ローラの配置方向に沿って、互いに反対方向へ移動する。この移動により、第1偏光部及び第2偏光部における光の透過の程度が調整される。
【0005】
上記調光装置は、さらに、2本で対をなす押さえローラ(テンションローラ)を備える。上記押さえローラは、上記配置方向における両可動ローラの間の2箇所であって、各可動ローラに接近する箇所に設けられる。各対における2本の押さえローラは、前後方向における第1偏光部及び第2偏光部の両側に配置される。各対における2本の押さえローラは、第1偏光部及び第2偏光部を、前後方向における内側へ押し付けることにより、偏光フィルムに張力を付与するとともに、前後方向における第1偏光部及び第2偏光部の間隔を狭くする。これは、間隔が大きいと、調光装置に調光機能を効果的に発揮させることが困難になるためである。
【先行技術文献】
【特許文献】
【0006】
特開平10-61351号公報
【発明の概要】
【発明が解決しようとする課題】
【0007】
ところが、特許文献1に記載された調光装置では、上述したように、押さえローラとして、2本で対をなすものが用いられる。対毎の2本の押さえローラは、前後方向に並べられた状態で配置される。そのため、前後方向における調光装置の寸法が増加する。その結果、例えば、調光装置を室内の窓際に設置する場合、窓から室内側への調光装置の飛び出し量が多くなる。調光装置の設置がしづらくなる。
【課題を解決するための手段】
【0008】
上記課題を解決するための調光装置の各態様を記載する。
[態様1]利用者に対向する方向を前後方向とし、かつ前記前後方向のうち、前記利用者に近い側を前側とし、かつ前記利用者から遠い側を後側とした場合、前記前後方向に対し直交する方向に互いに平行に離間した状態で配置された一対の可動ローラと、一対の前記可動ローラに架け渡されたループ状の偏光フィルムとを備え、前記偏光フィルムは、それぞれ偏光軸を有し、かつ前記前後方向に互いに対向する第1偏光部及び第2偏光部を、一対の前記可動ローラの間に有し、前記第1偏光部は、前記第2偏光部の前方に位置し、一対の前記可動ローラの回動に伴い、前記第1偏光部及び前記第2偏光部が、一対の前記可動ローラの配置方向に沿って、互いに反対方向へ移動することにより、前記第1偏光部及び前記第2偏光部における光の透過の程度を調整する調光装置であって、一対の前記可動ローラの間であり、かつ前記第1偏光部の前方には、前記偏光フィルムよりも剛性の高い透明なシートが配置され、前記第1偏光部は、前記第2偏光部及び前記シートに隣接する部分を有しており、少なくとも一方の前記可動ローラと前記シートとの間であり、かつ前記第1偏光部よりも前方には、前記第1偏光部を前記第2偏光部に近付ける側へ前記偏光フィルムを押圧することにより、前記偏光フィルムに張力を付与するテンションローラが配置されている調光装置。
【0009】
上記の構成によれば、第2偏光部は、一対の可動ローラの間に位置する。第1偏光部は、一対の可動ローラの間において、第2偏光部の前方に位置する。
テンションローラは、第1偏光部を第2偏光部に近付ける側へ偏光フィルムを押圧する。この押圧により、第1偏光部及び第2偏光部の前後方向における間隔が狭められる。また、テンションローラは、上記押圧により、偏光フィルムに張力を付与する。この張力により、第1偏光部及び第2偏光部は、上記間隔の狭い状態に維持される。
【0010】
また、シートは、自身の後面に第1偏光部が接触されると、第1偏光部及び第2偏光部が前方へ移動するのを規制する。また、シートは、上記規制を、自身の広い後面で行う。そのため、上記移動規制効果として大きな効果が得られる。
(【0011】以降は省略されています)
この特許をJ-PlatPat(特許庁公式サイト)で参照する
関連特許
豊田合成株式会社
調光装置
3日前
豊田合成株式会社
ガラスラン
15日前
豊田合成株式会社
ガラスラン
15日前
豊田合成株式会社
機器制御装置
15日前
豊田合成株式会社
車両用外装品
15日前
豊田合成株式会社
乗員保護装置
9日前
豊田合成株式会社
車両用内装品
17日前
豊田合成株式会社
車両用内装品
17日前
豊田合成株式会社
乗員保護装置
15日前
豊田合成株式会社
空調用レジスタ
16日前
豊田合成株式会社
電動液体ポンプ
15日前
豊田合成株式会社
空調用レジスタ
16日前
豊田合成株式会社
立体エアバッグ
15日前
豊田合成株式会社
空調用レジスタ
16日前
豊田合成株式会社
電動液体ポンプ
15日前
豊田合成株式会社
電動液体ポンプ
15日前
豊田合成株式会社
電動液体ポンプ
15日前
豊田合成株式会社
エアバッグ装置
9日前
豊田合成株式会社
電動液体ポンプ
15日前
豊田合成株式会社
車両の前部構造体
3日前
豊田合成株式会社
車両の音出力装置
19日前
豊田合成株式会社
ステアリング装置
11日前
豊田合成株式会社
把持検知システム
11日前
豊田合成株式会社
ステアリング装置
10日前
豊田合成株式会社
ステアリング装置
9日前
豊田合成株式会社
ステアリング装置
10日前
豊田合成株式会社
把持検知システム
15日前
豊田合成株式会社
車両用体験システム
10日前
豊田合成株式会社
コンテンツ体験装置
10日前
豊田合成株式会社
コンソールボックス
17日前
豊田合成株式会社
コンソールボックス
17日前
豊田合成株式会社
コンソールボックス
17日前
豊田合成株式会社
電磁波透過性積層体
17日前
豊田合成株式会社
助手席用乗員保護装置
10日前
豊田合成株式会社
スタックマニホールド
15日前
豊田合成株式会社
車両用リッド開閉装置
9日前
続きを見る
他の特許を見る