TOP
|
特許
|
意匠
|
商標
特許ウォッチ
Twitter
他の特許を見る
公開番号
2025144588
公報種別
公開特許公報(A)
公開日
2025-10-03
出願番号
2024044305
出願日
2024-03-20
発明の名称
電動液体ポンプ
出願人
豊田合成株式会社
代理人
弁理士法人 共立特許事務所
主分類
F04C
2/10 20060101AFI20250926BHJP(液体用容積形機械;液体または圧縮性流体用ポンプ)
要約
【課題】電動液体ポンプの性能を維持しつつ、製造コストの低減および軽量化を図り得る技術を提供する。
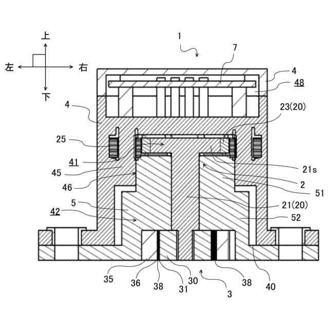
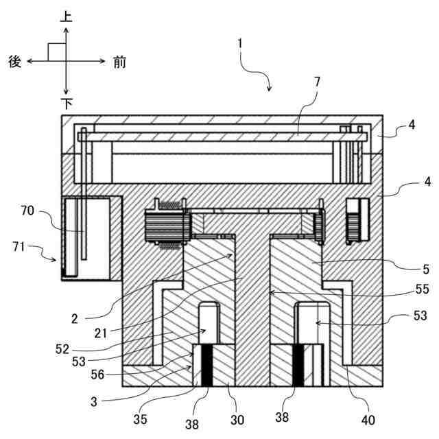
【解決手段】モータロータ20と、ステータ25と、を有する電動モータ2と、インナロータ30と、アウタロータ35と、を有する液体ポンプ3と、箱状をなし、ステータ25とを収容する第1収容室41と、モータロータ20の軸方向の他の一部を収容する第2収容室42と、第1収容室41と第2収容室42との間に設けられている区画壁45と、モータケース4と、孔状連絡部46に挿入され芯出しボデー部51と、芯出しボデー部51に連続し第2収容室42に収容される一般ボデー部52と、芯出しボデー部51と一般ボデー部52とに貫通形成され磁石部23とインナロータ30との間の位置でシャフト21の軸方向の一部を支持する軸受部と、を有するボデー5とを具備し、インナロータ30またはアウタロータ35は熱硬化性樹脂製である、電動液体ポンプ1。
【選択図】図2
特許請求の範囲
【請求項1】
シャフトと前記シャフトの軸方向の一端部に一体化されている磁石部とを有するモータロータと、前記磁石部の径方向外側または径方向内側に配置され前記モータロータを回転させるステータと、を有する電動モータと、
外歯を有し前記シャフトの軸方向の他端部に一体化されているインナロータと、前記外歯に噛合する内歯を有し吸入通路から液体が吸入されるとともに吐出通路に向けて液体が吐出される隙間容積部を前記インナロータとの間に形成するアウタロータと、を有する液体ポンプと、
箱状をなし、前記磁石部を含む前記モータロータの軸方向の一部と前記ステータとを収容する第1収容室と、前記第1収容室に連絡し前記モータロータの軸方向の他の一部を収容する第2収容室と、前記第1収容室と前記第2収容室とを連絡する孔状連絡部を有し前記第1収容室と前記第2収容室との間に設けられている区画壁と、を内部に有し、前記第1収容室と前記第2収容室と前記孔状連絡部とに液体が循環するモータケースと、
前記孔状連絡部に挿入され芯出しされる芯出しボデー部と、前記芯出しボデー部に連続し前記第2収容室に収容される一般ボデー部と、前記芯出しボデー部と前記一般ボデー部とに貫通形成され前記磁石部と前記インナロータとの間の位置で前記シャフトの軸方向の一部を支持する軸受部と、を有するボデーと、を具備し、
前記インナロータまたは前記アウタロータは熱硬化性樹脂製である、電動液体ポンプ。
続きを表示(約 630 文字)
【請求項2】
シャフトと前記シャフトの軸方向の一端部に一体化されている磁石部とを有するモータロータと、前記磁石部の径方向外側または径方向内側に配置され前記モータロータを回転させるステータと、を有する電動モータと、
外歯を有し前記シャフトの軸方向の他端部に一体化されているインナロータと、前記外歯に噛合する内歯を有し吸入通路から液体が吸入されるとともに吐出通路に向けて液体が吐出されるロータ室を前記インナロータとの間に形成するアウタロータと、を有する液体ポンプと、
箱状をなし、前記液体ポンプおよび前記シャフトを収容するケースと、を具備し、
前記インナロータまたは前記アウタロータは熱硬化性樹脂製である、電動液体ポンプ。
【請求項3】
前記インナロータおよび前記アウタロータは熱硬化性樹脂製である、請求項1または請求項2に記載の電動液体ポンプ。
【請求項4】
前記熱硬化性樹脂はフェノール樹脂を含む、請求項1または請求項2に記載の電動液体ポンプ。
【請求項5】
前記熱硬化性樹脂は、全体を100質量%としたときに30質量%以上90質量%以下となる量の補強繊維および/または無機フィラーを含む、請求項4に記載の電動液体ポンプ。
【請求項6】
前記インナロータおよび前記アウタロータは射出成形または圧縮成形されてなる、請求項1または請求項2に記載の電動液体ポンプ。
発明の詳細な説明
【技術分野】
【0001】
本発明はオイル等の液体を輸送するための電動液体ポンプに関する。
続きを表示(約 1,200 文字)
【背景技術】
【0002】
オイル等の液体を輸送するための電動液体ポンプとして、駆動源である電動モータと、当該電動モータのシャフトに接続されポンプ機能を実現するインナロータおよびアウタロータと、具備するものが知られている(例えば、特許文献1~特許文献3参照)。
【0003】
この種の電動液体ポンプにおいては、電動モータのシャフトが回転することで、当該シャフトに一体化されているインナロータが回転する。インナロータの回転に伴い当該インナロータと噛合しているアウタロータが回転する。これにより、液体を吸入および吐出するポンプ機能が発現する。
【先行技術文献】
【特許文献】
【0004】
特開2022-95085号公報
特開2022-67808号公報
特開2014-173444号公報
【発明の概要】
【発明が解決しようとする課題】
【0005】
電動液体ポンプにおいて、インナロータおよびアウタロータには高い寸法精度が要求される。
一般に、当該インナロータおよびアウタロータは焼結金属を加工して製造されるところ、当該焼結金属の加工には特殊な設備やノウハウが必要である。したがって、焼結金属を加工してインナロータおよびアウタロータを製造し得るメーカーは限られており、焼結金属が加工されてなるインナロータおよびアウタロータは高価である。
【0006】
また、焼結金属を得るためには、混合金属粉を圧縮成形したものを焼結炉で焼結する工程を要するために、焼結金属自体の製造コストが高い問題もある。
【0007】
さらには、金属製のインナロータおよびアウタロータは重量が大きいために、金属製のインナモータおよびアウタロータを用いた電動液体ポンプは軽量化し難い問題もある。
【0008】
ところで、上記した特許文献1および特許文献2には、インナロータおよびアウタロータを合成樹脂製にすることが提案されている。
樹脂材料は金属に比べて成形性に優れかつ軽量であるために、樹脂性のインナロータおよびアウタロータを用いることにより、電動液体ポンプの製造コストを低減しかつ当該電動液体ポンプを軽量化することが可能になると考えられる。
【0009】
ところで特許文献1および特許文献2には、インナロータおよびアウタロータに用いる樹脂材料の種類につき具体的な開示はないが、合成樹脂として一般的な熱可塑性樹脂材料は、耐熱性等の化学的性質や耐摩耗性等の機械的性質において金属に著しく劣る問題がある。
【0010】
つまり、インナロータおよびアウタロータとして樹脂製のものを用いることで、インナロータおよびアウタロータの性能が低下して電動液体ポンプの性能を維持し難くなる虞がある。
(【0011】以降は省略されています)
この特許をJ-PlatPat(特許庁公式サイト)で参照する
関連特許
豊田合成株式会社
着座装置
21日前
豊田合成株式会社
発光素子
1か月前
豊田合成株式会社
表示装置
1か月前
豊田合成株式会社
操作装置
1か月前
豊田合成株式会社
殺菌装置
19日前
豊田合成株式会社
ガラスラン
12日前
豊田合成株式会社
ガラスラン
5日前
豊田合成株式会社
半導体素子
27日前
豊田合成株式会社
ガラスラン
5日前
豊田合成株式会社
流体殺菌装置
19日前
豊田合成株式会社
機器制御装置
5日前
豊田合成株式会社
車両用外装品
5日前
豊田合成株式会社
樹脂成形装置
13日前
豊田合成株式会社
車両用内装品
7日前
豊田合成株式会社
流体殺菌装置
19日前
豊田合成株式会社
乗員保護装置
5日前
豊田合成株式会社
車両用内装品
7日前
豊田合成株式会社
流体殺菌装置
29日前
豊田合成株式会社
車両用外装品
1か月前
豊田合成株式会社
車両用外装品
1か月前
豊田合成株式会社
車載照明装置
1か月前
豊田合成株式会社
電動液体ポンプ
5日前
豊田合成株式会社
電動液体ポンプ
5日前
豊田合成株式会社
電動液体ポンプ
5日前
豊田合成株式会社
空調用レジスタ
6日前
豊田合成株式会社
電動液体ポンプ
5日前
豊田合成株式会社
空調用レジスタ
6日前
豊田合成株式会社
電動液体ポンプ
5日前
豊田合成株式会社
立体エアバッグ
20日前
豊田合成株式会社
立体エアバッグ
5日前
豊田合成株式会社
車両の前部構造
1か月前
豊田合成株式会社
ミスト噴射装置
1か月前
豊田合成株式会社
空調用レジスタ
6日前
豊田合成株式会社
車両の音出力装置
9日前
豊田合成株式会社
ステアリング装置
今日
豊田合成株式会社
把持検知システム
1日前
続きを見る
他の特許を見る