TOP
|
特許
|
意匠
|
商標
特許ウォッチ
Twitter
他の特許を見る
10個以上の画像は省略されています。
公開番号
2025143838
公報種別
公開特許公報(A)
公開日
2025-10-02
出願番号
2024043291
出願日
2024-03-19
発明の名称
空調用レジスタ
出願人
豊田合成株式会社
代理人
個人
,
個人
主分類
B60H
1/34 20060101AFI20250925BHJP(車両一般)
要約
【課題】吹出口の幅が小さい場合であっても、空調用空気の風向を表示する部分の視認性が向上する。
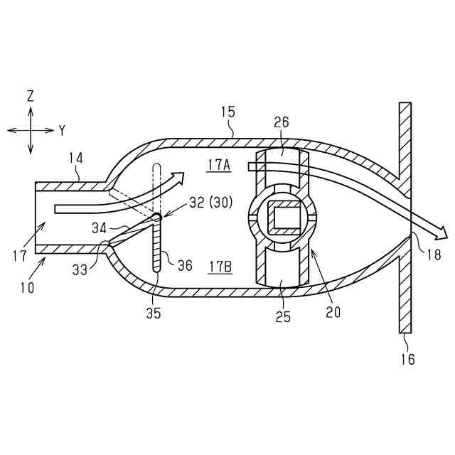
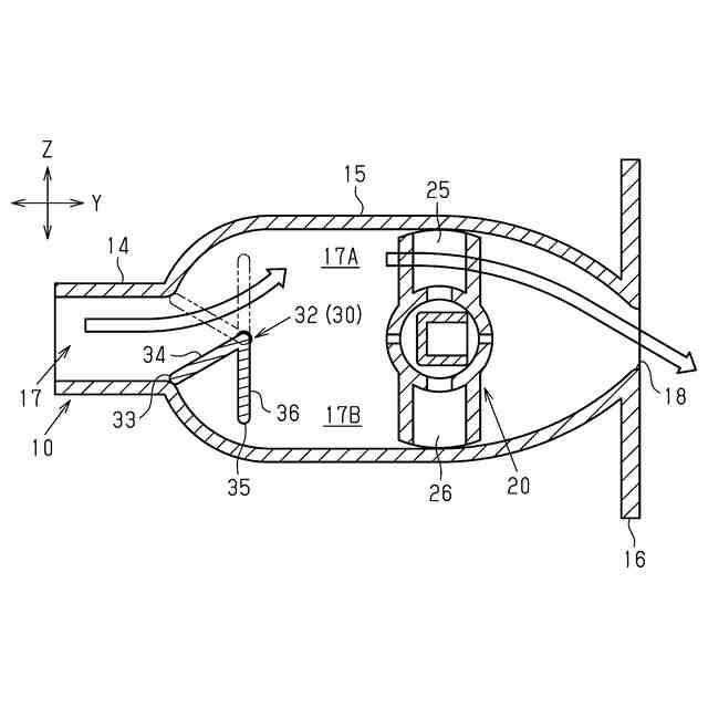
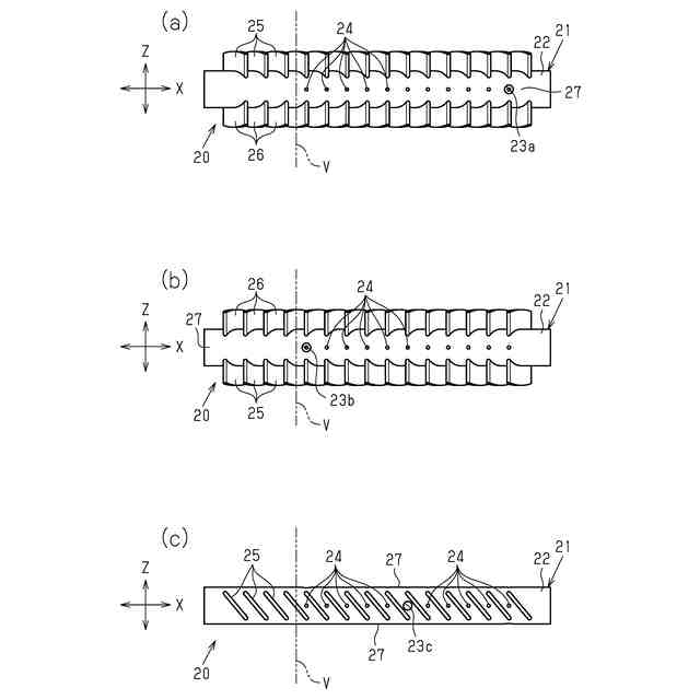
【解決手段】空調用レジスタは、空調用空気を吹き出す吹出口18を含む通風路を有するリテーナ10と、リテーナ10内に設けられる下流フィンシャフト20と、発光装置50とを備えている。下流フィンシャフト20は、吹出口18の開口面の面方向である車幅方向Xに延在する第1軸線を中心に回転可能に構成される下流シャフト21と、下流シャフト21の外周面に突設されて第1軸線に直交する仮想平面に対して傾斜している下流フィン25,26とを有している。発光装置50は、下流シャフト21に設けられるとともに、吹出口18を通じて視認可能であり、空調用空気の風向を表示する複数の発光表示部51と、発光表示部51を発光させる光源52とを有している。
【選択図】図1
特許請求の範囲
【請求項1】
空調用空気を吹き出す吹出口を含む通風路を有するリテーナと、
前記リテーナ内に設けられるフィンシャフトと、
発光装置と、を備えており、
前記フィンシャフトは、
前記吹出口の開口面の面方向である第1方向に延在する軸線を中心に回転可能に構成されるシャフトと、
前記シャフトの外周面に突設されて前記軸線に直交する仮想平面に対して傾斜しているフィンと、を有しており、
前記発光装置は、
前記シャフト及び前記フィンの少なくとも一方に設けられるとともに、前記吹出口を通じて視認可能であり、前記空調用空気の風向を表示する複数の発光表示部と、
前記発光表示部を発光させる光源と、を有している、
空調用レジスタ。
続きを表示(約 430 文字)
【請求項2】
前記シャフトは、前記第1方向に延在する筒状の周壁を有しており、
前記光源は、前記周壁の外部に設けられており、
前記発光装置は、前記周壁の内部に設けられ、前記光源から出射される光を前記周壁の内部に導く導光体を有しており、
前記発光表示部は、前記周壁に設けられ、前記導光体からの光を透過させる透光部であり、
複数の前記透光部は、前記周壁の周方向において互いに異なる位置に設けられている、
請求項1に記載の空調用レジスタ。
【請求項3】
複数の前記透光部は、前記吹出口と対向する位置にあるときの前記第1方向における位置が、前記吹出口を通じて吹き出される前記空調用空気の前記第1方向における風向と対応している、
請求項2に記載の空調用レジスタ。
【請求項4】
前記透光部は、前記周壁を貫通する孔である、
請求項2または請求項3に記載の空調用レジスタ。
発明の詳細な説明
【技術分野】
【0001】
本発明は、空調用レジスタに関する。
続きを表示(約 1,600 文字)
【背景技術】
【0002】
自動車には、空調用空気を車室内に吹き出す空調用レジスタが設けられている(例えば特許文献1参照)。
特許文献1に記載のベント構造は、ケース枠体と、ケース枠体内において回動自在に支持された回転軸部材と、回転軸部材に一体に形成された回転フィン部材とを備えている。回転フィン部材は、回転軸部材に傾斜配置されている。回転軸部材の回動により、回転フィン部材の傾斜方向を変えることで空調用空気の風向が変更される。
【0003】
各回転フィン部材及び回転軸部材には、吹出口から吹き出される空調用空気の風向を表示する風向表示部としての絵が印刷などにより形成されている。
【先行技術文献】
【特許文献】
【0004】
特開2009-208496号公報
【発明の概要】
【発明が解決しようとする課題】
【0005】
特許文献1に記載の風向表示部は、各回転フィン部材及び回転軸部材に印刷などにより形成されている。このため、視認性において改善の余地がある。特に、吹出口の幅が小さい空調用レジスタにおいては、吹出口を通じて風向表示部を乗員が視認しにくいという問題がある。
【課題を解決するための手段】
【0006】
上記課題を解決するための空調用レジスタの各態様を記載する。
[態様1]
空調用空気を吹き出す吹出口を含む通風路を有するリテーナと、
前記リテーナ内に設けられるフィンシャフトと、
発光装置と、を備えており、
前記フィンシャフトは、
前記吹出口の開口面の面方向である第1方向に延在する軸線を中心に回転可能に構成されるシャフトと、
前記シャフトの外周面に突設されて前記軸線に直交する仮想平面に対して傾斜しているフィンと、を有しており、
前記発光装置は、
前記シャフト及び前記フィンの少なくとも一方に設けられるとともに、前記吹出口を通じて視認可能であり、前記空調用空気の風向を表示する複数の発光表示部と、
前記発光表示部を発光させる光源と、を有している、
空調用レジスタ。
【0007】
同構成によれば、フィンシャフトを構成するシャフト及びフィンの少なくとも一方に設けられた発光表示部が発光すると、使用者は、吹出口を通じて発光表示部を視認することで空調用空気の風向を把握することができる。したがって、吹出口の幅が小さい場合であっても、空調用空気の風向を表示する部分の視認性が向上する。
【0008】
[態様2]
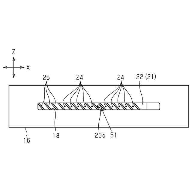
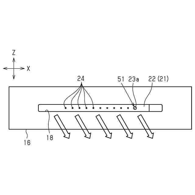
前記シャフトは、前記第1方向に延在する筒状の周壁を有しており、
前記光源は、前記周壁の外部に設けられており、
前記発光装置は、前記周壁の内部に設けられ、前記光源から出射される光を前記周壁の内部に導く導光体を有しており、
前記発光表示部は、前記周壁に設けられ、前記導光体からの光を透過させる透光部であり、
複数の前記透光部は、前記周壁の周方向において互いに異なる位置に設けられている、
態様1に記載の空調用レジスタ。
【0009】
同構成によれば、シャフトの周壁の外部に設けられた光源から出射される光が、導光体を通じて周壁の内部に導かれるとともに、周壁に設けられた透光部を通じてシャフトの外部に放射される。このように、上記構成によれば、フィンシャフトの外部に光源を設けながらも、シャフトの周壁に設けられた透光部を発光させることができる。
【0010】
[態様3]
複数の前記透光部は、前記吹出口と対向する位置にあるときの前記第1方向における位置が、前記吹出口を通じて吹き出される前記空調用空気の前記第1方向における風向と対応している、
態様2に記載の空調用レジスタ。
(【0011】以降は省略されています)
この特許をJ-PlatPat(特許庁公式サイト)で参照する
関連特許
豊田合成株式会社
着座装置
17日前
豊田合成株式会社
表示装置
1か月前
豊田合成株式会社
操作装置
1か月前
豊田合成株式会社
発光素子
1か月前
豊田合成株式会社
殺菌装置
15日前
豊田合成株式会社
ガラスラン
1日前
豊田合成株式会社
ガラスラン
1日前
豊田合成株式会社
ガラスラン
8日前
豊田合成株式会社
半導体素子
23日前
豊田合成株式会社
流体殺菌装置
15日前
豊田合成株式会社
乗員保護装置
1か月前
豊田合成株式会社
車載照明装置
1か月前
豊田合成株式会社
車両用内装品
3日前
豊田合成株式会社
車両用外装品
1か月前
豊田合成株式会社
乗員保護装置
1か月前
豊田合成株式会社
情報処理装置
1か月前
豊田合成株式会社
樹脂成形装置
9日前
豊田合成株式会社
流体殺菌装置
15日前
豊田合成株式会社
機器制御装置
1日前
豊田合成株式会社
車両用外装品
1日前
豊田合成株式会社
流体殺菌装置
1か月前
豊田合成株式会社
流体殺菌装置
25日前
豊田合成株式会社
車両用外装品
29日前
豊田合成株式会社
流体殺菌装置
1か月前
豊田合成株式会社
車両用外装品
29日前
豊田合成株式会社
乗員保護装置
1日前
豊田合成株式会社
車両用内装品
3日前
豊田合成株式会社
立体エアバッグ
16日前
豊田合成株式会社
発光エンブレム
1か月前
豊田合成株式会社
立体エアバッグ
1日前
豊田合成株式会社
車両の前部構造
1か月前
豊田合成株式会社
ミスト噴射装置
1か月前
豊田合成株式会社
空調用レジスタ
2日前
豊田合成株式会社
電動液体ポンプ
1日前
豊田合成株式会社
電動液体ポンプ
1日前
豊田合成株式会社
電動液体ポンプ
1日前
続きを見る
他の特許を見る