TOP
|
特許
|
意匠
|
商標
特許ウォッチ
Twitter
他の特許を見る
公開番号
2025152213
公報種別
公開特許公報(A)
公開日
2025-10-09
出願番号
2024054003
出願日
2024-03-28
発明の名称
ステアリング装置
出願人
豊田合成株式会社
代理人
個人
主分類
B62D
1/06 20060101AFI20251002BHJP(鉄道以外の路面車両)
要約
【課題】作動時に所定箇所を光らせる構成としていても、把持時の蝕感を良好として、快適に操舵可能なステアリング装置を提供すること。
【解決手段】回転操舵時に把持する把持部2を有して、把持部において運転者から視認可能な所定位置に、作動時に可視光を発光可能とされる表示装置20を、配設させる構成のステアリング装置1。把持部が、断面略円形状とされて、中央側に配置される芯材12と、芯材の周囲を覆う被覆層13と、被覆層の外周側を覆うシート状の表皮層14と、を備える。表示装置が、把持部において運転者側となる上面側の領域に配設されて、可視光を上方に向かって放射可能な構成とされるとともに、外周側を、周囲の被覆層とともに、不透明であって、かつ、透光性を有した基材から形成される表皮層によって覆われている。
【選択図】図3
特許請求の範囲
【請求項1】
回転操舵時に把持する把持部を有して、該把持部において運転者から視認可能な所定位置に、作動時に可視光を発光可能とされる表示装置を、配設させる構成とされて、
前記把持部が、断面略円形状とされて、中央側に配置される芯材と、該芯材の周囲を覆う被覆層と、該被覆層の外周側を覆うシート状の表皮層と、を備えるステアリング装置において、
前記表示装置が、前記把持部において前記運転者側となる上面側の領域に配設されて、前記可視光を上方に向かって放射可能な構成とされるとともに、外周側を、周囲の前記被覆層とともに、不透明であって、かつ、透光性を有した基材から形成される前記表皮層によって覆われていることを特徴とするステアリング装置。
続きを表示(約 770 文字)
【請求項2】
前記表示装置が、基板と、該基板に取り付けられて点灯時に可視光を発光する可視光光源と、該可視光光源から発光される可視光を拡散させる導光体と、該導光体を保持する保持部材と、を備える構成とされて、
前記導光体が、前記運転者側となる上端側に、前記可視光光源の点灯時に発光される可視光を上方に出射させる出射面を、有し、
前記保持部材が、非透光素材から形成されて、前記導光体の周囲を、前記出射面を除いて覆うように構成され、
前記保持部材における外周面と、前記導光体における前記出射面と、が、前記把持部の断面において、前記被覆層の外周面から連なるように形成されて、前記表皮層の内周面と当接するように構成されていることを特徴とする請求項1に記載のステアリング装置。
【請求項3】
前記表示装置が、基板と、該基板に取り付けられて点灯時に可視光を発光する可視光光源と、該可視光光源から発光される可視光を拡散させる導光体と、非透光素材から形成されて該導光体を保持する保持部材と、透光性を有した素材から形成されて前記導光体の少なくとも上方を覆うカバー部と、を備える構成とされ、
前記保持部材における外周面と、前記カバー部の外周面と、が、前記把持部の断面において、前記被覆層の外周面から連なるように形成されて、前記表皮層の内周面と当接するように構成されていることを特徴とする請求項1に記載のステアリング装置。
【請求項4】
前記導光体が、前記可視光光源から発光される前記可視光を入射させる入射面を、下端側に配設させるとともに、該下端側領域を前記可視光光源側に張り出させるように、断面形状を略L字形状として、構成されていることを特徴とする請求項2または3に記載のステアリング装置。
発明の詳細な説明
【技術分野】
【0001】
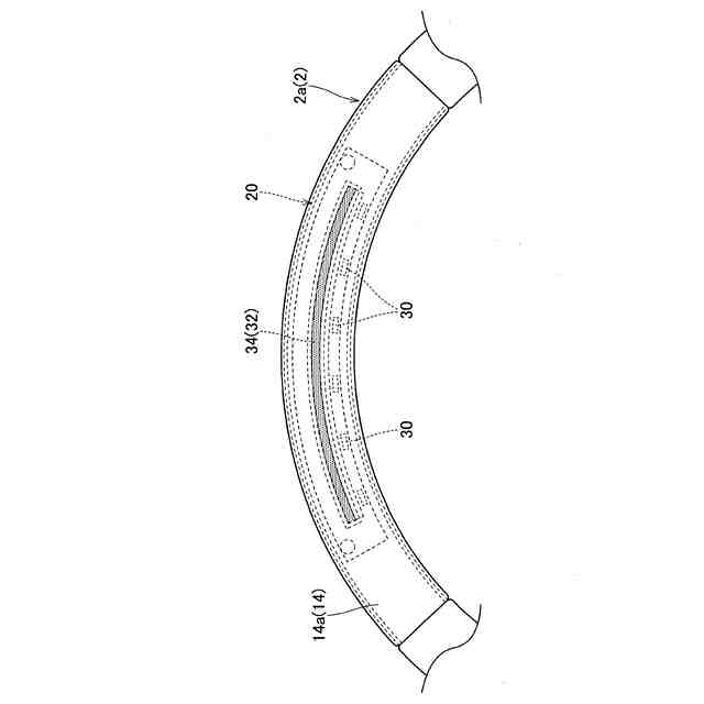
本発明は、回転操舵時に把持する把持部を有して、把持部において運転者から視認可能な所定位置に、表示装置を、配設させる構成のステアリング装置に関する。
続きを表示(約 2,200 文字)
【背景技術】
【0002】
従来、把持部に表示装置を配設させているステアリング装置としては、把持部としてのリング部における運転者側となる上面側に、表示装置としてのライトバーを配設させる構成のものがあった(例えば、特許文献1参照)。具体的には、従来のステアリング装置では、ライトバーは、点灯して可視光を発光する可視光光源と、可視光光源から発光される可視光を拡散させる導光体と、を有して、導光体の上端から、可視光を、運転者側となる上方に出射させる構成であった。
【先行技術文献】
【特許文献】
【0003】
特開2021-113040公報
【発明の概要】
【発明が解決しようとする課題】
【0004】
しかし、従来のステアリング装置では、ライトバーは、導光体の外周側(上方側)を覆うカバーを、備えており、このカバーは、合成樹脂製とされていた。従来のステアリング装置では、把持部において、ライトバーを除いた部位の外表面側には、合成皮革や人工皮革、天然皮革等からなる表皮層が、配設されている。すなわち、従来のステアリング装置では、把持部の把持時に、ライトバーの配置領域では、ライトバーを構成する合成樹脂製のカバーと、表皮層と、が掌に触れることとなる。そのため、ライトバーの配置領域を把持する際の蝕感が良好ではなく、改善の余地があった。
【0005】
本発明は、上述の課題を解決するものであり、作動時に所定箇所を光らせる構成としていても、把持時の蝕感を良好として、快適に操舵可能なステアリング装置を提供することを目的とする。
【課題を解決するための手段】
【0006】
本発明に係るステアリング装置は、回転操舵時に把持する把持部を有して、把持部において運転者から視認可能な所定位置に、作動時に可視光を発光可能とされる表示装置を、配設させる構成とされて、
把持部が、断面略円形状とされて、中央側に配置される芯材と、芯材の周囲を覆う被覆層と、被覆層の外周側を覆うシート状の表皮層と、を備えるステアリング装置において、
表示装置が、把持部において運転者側となる上面側の領域に配設されて、可視光を上方に向かって放射可能な構成とされるとともに、外周側を、周囲の被覆層とともに、不透明であって、かつ、透光性を有した基材から形成される表皮層によって覆われていることを特徴とする。
【0007】
本発明のステアリング装置では、把持部における運転者側となる上面側の領域に、表示装置を配設させている構成であるものの、この表示装置は、周囲の被覆層とともに、外周側を、表皮層によって覆われている。すなわち、本発明のステアリング装置では、表示装置が外部に露出しておらず、表示装置の配置領域であっても、把持部の外周側は、表皮層によって覆われることから、運転時に表示装置の配置領域を把持することとなっても、掌には、表皮層のみが触れることとなり、表示装置の配置領域を把持する際の蝕感が良好である。また、この表皮層は、不透明であって、かつ、透光性を有した基材から形成されていることから、表示装置の作動時に、上方に向かって放射される可視光を透過させることができ、表示装置の作動状態を、安定して視認することができる。さらに、表示装置の非作動時には、表示装置を外部から視認不能であることから、意匠性も良好である。
【0008】
したがって、本発明のステアリング装置では、作動時に所定箇所を光らせる構成としていても、把持時の蝕感を良好として、快適に操舵することができる。
【0009】
具体的には、本発明のステアリング装置では、表示装置を、基板と、基板に取り付けられて点灯時に可視光を発光する可視光光源と、可視光光源から発光される可視光を拡散させる導光体と、導光体を保持する保持部材と、を備える構成とし、
導光体が、運転者側となる上端側に、可視光光源の点灯時に発光される可視光を上方に出射させる出射面を、有し、
保持部材を、非透光素材から形成されて、導光体の周囲を出射面を除いて覆うように構成し、
保持部材における外周面と、導光体における出射面と、を、把持部の断面において、被覆層の外周面から連なるように形成して、表皮層の内周面と当接するように構成することが、好ましい。
【0010】
本発明のステアリング装置では、表示装置が、外周側を、表皮層によって覆われる構成であることから、導光体を備える構成とする場合にも、導光体の表面側を、従来使用されていたカバーによって覆わなくともよく、導光体を保持している保持部材の外周面と、導光体における上端側の部位から構成される出射面と、の外周側を、直接、表皮層によって覆うような構成とすることもできる。ステアリング装置をこのような構成とすれば、従来のステアリング装置において使用されていた導光体を覆うカバーを配設させなくともよく、部品点数の増大を抑制して、簡便な構成とすることができる。また、導光体の出射面と保持部材の外周面とを、被覆層の外周面から連なるように形成していることから、把持部の把持時に、表示装置の配置領域や、表示装置と被覆層との境界部位等が運転者の手に触れることとなっても、滑らかな触感を得ることができて、触感が良好である。
(【0011】以降は省略されています)
この特許をJ-PlatPat(特許庁公式サイト)で参照する
関連特許
豊田合成株式会社
調光装置
3日前
豊田合成株式会社
ガラスラン
15日前
豊田合成株式会社
ガラスラン
22日前
豊田合成株式会社
ガラスラン
15日前
豊田合成株式会社
樹脂成形装置
23日前
豊田合成株式会社
乗員保護装置
15日前
豊田合成株式会社
車両用内装品
17日前
豊田合成株式会社
車両用外装品
15日前
豊田合成株式会社
機器制御装置
15日前
豊田合成株式会社
乗員保護装置
9日前
豊田合成株式会社
車両用内装品
17日前
豊田合成株式会社
電動液体ポンプ
15日前
豊田合成株式会社
空調用レジスタ
16日前
豊田合成株式会社
電動液体ポンプ
15日前
豊田合成株式会社
空調用レジスタ
16日前
豊田合成株式会社
空調用レジスタ
16日前
豊田合成株式会社
電動液体ポンプ
15日前
豊田合成株式会社
電動液体ポンプ
15日前
豊田合成株式会社
立体エアバッグ
15日前
豊田合成株式会社
電動液体ポンプ
15日前
豊田合成株式会社
エアバッグ装置
9日前
豊田合成株式会社
把持検知システム
11日前
豊田合成株式会社
ステアリング装置
10日前
豊田合成株式会社
把持検知システム
15日前
豊田合成株式会社
ステアリング装置
9日前
豊田合成株式会社
車両の音出力装置
19日前
豊田合成株式会社
ステアリング装置
11日前
豊田合成株式会社
ステアリング装置
10日前
豊田合成株式会社
車両の前部構造体
3日前
豊田合成株式会社
コンテンツ体験装置
10日前
豊田合成株式会社
車両用体験システム
10日前
豊田合成株式会社
電磁波透過性積層体
17日前
豊田合成株式会社
コンソールボックス
17日前
豊田合成株式会社
コンソールボックス
17日前
豊田合成株式会社
コンソールボックス
17日前
豊田合成株式会社
助手席用乗員保護装置
10日前
続きを見る
他の特許を見る