TOP
|
特許
|
意匠
|
商標
特許ウォッチ
Twitter
他の特許を見る
公開番号
2025140362
公報種別
公開特許公報(A)
公開日
2025-09-29
出願番号
2024039713
出願日
2024-03-14
発明の名称
車両の音出力装置
出願人
豊田合成株式会社
代理人
個人
,
個人
主分類
B60Q
5/00 20060101AFI20250919BHJP(車両一般)
要約
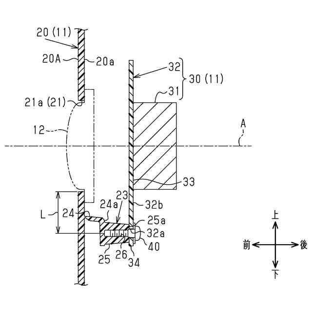
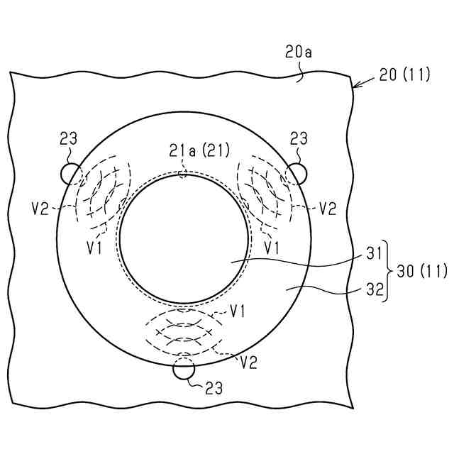
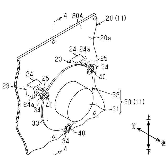
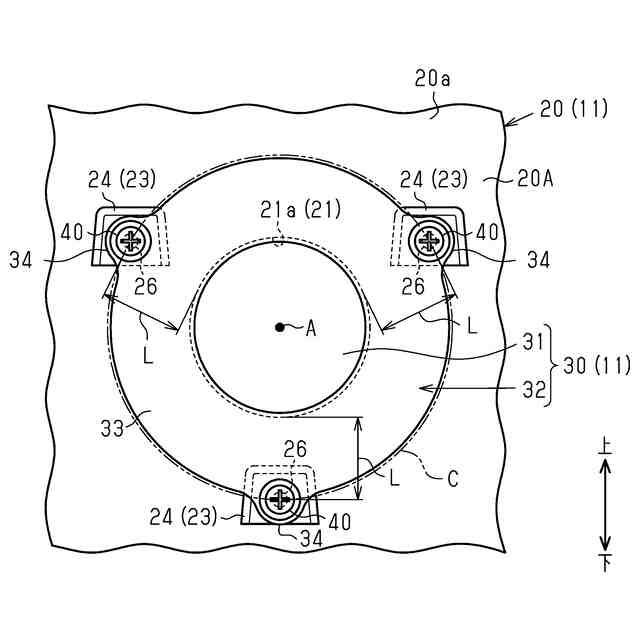
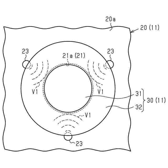
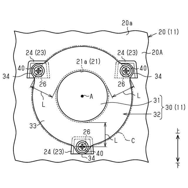
【課題】外装部材本体に貫通孔が設けられている場合であっても、車両の外方に向けて出力される音の音圧レベルが小さくなることを抑制できる車両の音出力装置を提供する。
【解決手段】車両の音出力装置11は、車両の外殻の一部を構成する外装部材本体20Aと、外装部材本体20Aの内面20aから突出する複数の連結部23とを有する外装部材20と、複数の連結部23により外装部材本体20Aに連結され、通電により所定の周波数にて振動する振動装置30とを備える。外装部材本体20Aには、第1開口部21が設けられている。第1開口部21は、複数の連結部23に囲まれる位置にある。連結部23と第1開口部21の縁部21aとの間の距離Lは、連結部23から縁部21aに伝播される第1振動と、縁部21aにて反射されて連結部23に戻る第2振動とが互いに強め合う大きさに設定されている。
【選択図】図3
特許請求の範囲
【請求項1】
車両の外殻の一部を構成する外装部材本体と、前記外装部材本体の内面から突出する複数の連結部と、を有する外装部材と、
複数の前記連結部により前記外装部材本体に連結され、通電により所定の周波数にて振動する振動装置と、を備える車両の音出力装置であって、
前記外装部材本体には、貫通孔が設けられており、
前記貫通孔は、複数の前記連結部に囲まれる位置にあり、
前記連結部と前記貫通孔の縁部との間の距離は、前記連結部から前記縁部に伝播される第1振動と、前記縁部にて反射されて前記連結部に戻る第2振動とが互いに強め合う大きさに設定されている、
車両の音出力装置。
続きを表示(約 180 文字)
【請求項2】
複数の前記連結部の各々と前記縁部との間の距離が、同一に設定されている、
請求項1に記載の車両の音出力装置。
【請求項3】
複数の前記連結部は、前記外装部材本体の内面上に位置する仮想円の円周上に配置されており、
前記貫通孔は、前記仮想円の中心を含むように配置されている、
請求項2に記載の車両の音出力装置。
発明の詳細な説明
【技術分野】
【0001】
本発明は、車両の音出力装置に関する。
続きを表示(約 1,300 文字)
【背景技術】
【0002】
特許文献1には、車両の周囲に警報音を発する警報音発生装置が記載されている。この警報音発生装置は、音響電気信号を機械的振動に変換する振動子を有する振動ユニットと、音響電気信号を振動ユニットに供給するための音響信号供給手段とを有している。
【0003】
振動ユニットは、車両の外部に露出するバンパ等のボディ構成部材の裏面に振動子が押し当てられた状態で取り付けられている。
こうした警報音発生装置は、振動子の振動によりボディ構成部材の全体を振動させることで、車両の周囲に警報音を放射する。
【0004】
また、特許文献2には、フロントバンパの開口の内部に充電口構造が設置された車両が記載されている。
【先行技術文献】
【特許文献】
【0005】
特開2011-246109号公報
特開2012-232707号公報
【発明の概要】
【発明が解決しようとする課題】
【0006】
ところで、特許文献2に記載のようにバンパ等の外装部材に開口が設けられた車両に対して、特許文献1に記載の警報音発生装置を適用する場合、例えば以下の問題が生じる。すなわち、振動ユニットは、外装部材の裏面に振動子が押し当てられた状態で取り付けられる都合上、開口と重なる位置には取り付けができない。
【0007】
また、開口を設けることにより外装部材の振動に寄与する面積が減少すると、車両の周囲に放射される警報音の音圧レベルが小さくなるといった別の問題が生じる。
【課題を解決するための手段】
【0008】
上記課題を解決するための車両の音出力装置の各態様を記載する。
[態様1]車両の外殻の一部を構成する外装部材本体と、前記外装部材本体の内面から突出する複数の連結部と、を有する外装部材と、複数の前記連結部により前記外装部材本体に連結され、通電により所定の周波数にて振動する振動装置と、を備える車両の音出力装置であって、前記外装部材本体には、貫通孔が設けられており、前記貫通孔は、複数の前記連結部に囲まれる位置にあり、前記連結部と前記貫通孔の縁部との間の距離は、前記連結部から前記縁部に伝播される第1振動と、前記縁部にて反射されて前記連結部に戻る第2振動とが互いに強め合う大きさに設定されている、車両の音出力装置。
【0009】
上記構成によれば、振動装置から入力された所定の周波数の振動は、複数の連結部を介して貫通孔の縁部に伝播するとともに当該縁部を振動させる。そして、縁部の振動に伴い発生する所定の周波数の音が、車両の外方に向けて出力される。
【0010】
ここで、上記構成によれば、連結部から縁部に伝播される第1振動と、縁部にて反射されて連結部に戻る第2振動とが互いに強め合う。このため、車両の外方に向けて出力される音の音圧レベルを大きくすることができる。
(【0011】以降は省略されています)
この特許をJ-PlatPat(特許庁公式サイト)で参照する
関連特許
豊田合成株式会社
着座装置
18日前
豊田合成株式会社
表示装置
1か月前
豊田合成株式会社
操作装置
1か月前
豊田合成株式会社
発光素子
1か月前
豊田合成株式会社
殺菌装置
16日前
豊田合成株式会社
ガラスラン
2日前
豊田合成株式会社
ガラスラン
2日前
豊田合成株式会社
ガラスラン
9日前
豊田合成株式会社
半導体素子
24日前
豊田合成株式会社
流体殺菌装置
16日前
豊田合成株式会社
乗員保護装置
1か月前
豊田合成株式会社
車載照明装置
1か月前
豊田合成株式会社
車両用内装品
4日前
豊田合成株式会社
車両用外装品
1か月前
豊田合成株式会社
乗員保護装置
1か月前
豊田合成株式会社
情報処理装置
1か月前
豊田合成株式会社
樹脂成形装置
10日前
豊田合成株式会社
流体殺菌装置
16日前
豊田合成株式会社
機器制御装置
2日前
豊田合成株式会社
車両用外装品
2日前
豊田合成株式会社
流体殺菌装置
1か月前
豊田合成株式会社
流体殺菌装置
26日前
豊田合成株式会社
車両用外装品
1か月前
豊田合成株式会社
流体殺菌装置
1か月前
豊田合成株式会社
車両用外装品
1か月前
豊田合成株式会社
乗員保護装置
2日前
豊田合成株式会社
車両用内装品
4日前
豊田合成株式会社
立体エアバッグ
17日前
豊田合成株式会社
発光エンブレム
1か月前
豊田合成株式会社
立体エアバッグ
2日前
豊田合成株式会社
車両の前部構造
1か月前
豊田合成株式会社
ミスト噴射装置
1か月前
豊田合成株式会社
空調用レジスタ
3日前
豊田合成株式会社
電動液体ポンプ
2日前
豊田合成株式会社
電動液体ポンプ
2日前
豊田合成株式会社
電動液体ポンプ
2日前
続きを見る
他の特許を見る