TOP
|
特許
|
意匠
|
商標
特許ウォッチ
Twitter
他の特許を見る
10個以上の画像は省略されています。
公開番号
2025156591
公報種別
公開特許公報(A)
公開日
2025-10-14
出願番号
2025134220,2024036998
出願日
2025-08-12,2020-08-31
発明の名称
車両用表示装置、表示方法及びプログラム
出願人
トヨタ自動車株式会社
代理人
弁理士法人太陽国際特許事務所
主分類
B60K
35/23 20240101AFI20251002BHJP(車両一般)
要約
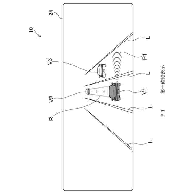
【課題】車線変更が行われる場合に、乗員に安心感を与えることができる車両用表示装置を得る。
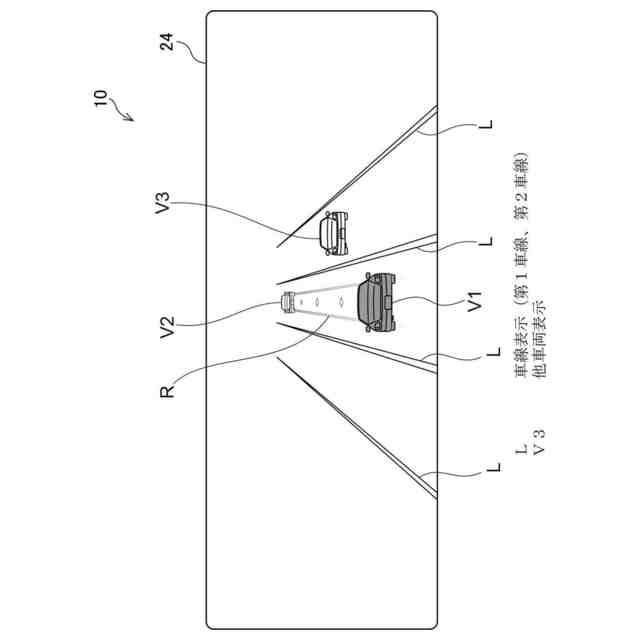
【解決手段】車両用表示装置10は、車両が走行する第一車線および車線変更先の第二車線に対応する車線表示Lと第二車線の状況を含む周辺情報の取得を開始することを示す図形のみからなり文字を伴わない第一確認表示P1とを表示部24に表示させ、表示部から第一確認表示を消去したあとに、車両が走行する第一車線および車線変更先の第二車線に対応する車線表示と車両の車線変更後の目標位置を示し且つ第二車線を表す画像にのみ表示された図形のみからなり文字を伴わない第二確認表示とを表示部に表示させる制御部を備える。
【選択図】図5
特許請求の範囲
【請求項1】
車両の車室内に設けられた表示部と、
制御部と、
を備え、
前記制御部が、
前記車両が走行する第一車線および車線変更先の第二車線に対応する車線表示と前記第二車線の状況を含む周辺情報の取得を開始することを示す図形のみからなり文字を伴わない第一確認表示とを前記表示部に表示させ、
前記表示部から前記第一確認表示を消去したあとに、前記車両が走行する前記第一車線および車線変更先の前記第二車線に対応する前記車線表示と前記車両の車線変更後の目標位置を示し且つ前記第二車線を表す画像にのみ表示された図形のみからなり文字を伴わない第二確認表示とを前記表示部に表示させる車両用表示装置。
続きを表示(約 1,100 文字)
【請求項2】
前記制御部は、前記第一確認表示を表示したのちに、前記周辺情報に基づく判定により前記車両の車線変更後の目標位置までの車線変更が可能である旨の判定結果を取得した場合に、当該判定結果に基づいて、前記第二確認表示を表示させる請求項1に記載の車両用表示装置。
【請求項3】
前記制御部は、前記第二車線上の前記車両と異なる他の車両に対応する他車両表示を前記車線表示に重ねると共に、前記第二確認表示を前記他車両表示の前方側又は後方側の重ならない位置で前記表示部に表示させる請求項1又は請求項2に記載の車両用表示装置。
【請求項4】
前記表示部は、インストルメントパネルにおける運転席の車両前方に設けられたメータディスプレイ装置のメータディスプレイ、又は当該メータディスプレイの車両上方側でヘッドアップディスプレイ装置によって投影された投影面のうち少なくとも一方である請求項1~請求項3の何れか1項に記載の車両用表示装置。
【請求項5】
前記第一確認表示は、前記第二車線に向かって凸となる形状の画像が、前記第一車線側から前記第二車線に向かって動くように見える画像である、
請求項1に記載の車両用表示装置。
【請求項6】
前記車両が自動運転を実行可能である請求項1又は請求項2に記載の車両用表示装置。
【請求項7】
コンピュータが、
車両の車室内に設けられた表示部に、
前記車両が走行する第一車線および車線変更先の第二車線に対応する車線表示と前記第二車線の状況を含む周辺情報の取得を開始することを示す図形のみからなり文字を伴わない第一確認表示とを前記表示部に表示させ、
前記表示部から前記第一確認表示を消去したあとに、前記車両が走行する前記第一車線および車線変更先の前記第二車線に対応する前記車線表示と前記車両の車線変更後の目標位置を示し且つ前記第二車線を表す画像にのみ表示された図形のみからなり文字を伴わない第二確認表示とを前記表示部に表示させる表示方法。
【請求項8】
車両の車室内に設けられた表示部に、前記車両が走行する第一車線および車線変更先の第二車線に対応する車線表示と前記第二車線の状況を含む周辺情報の取得を開始することを示す図形のみからなり文字を伴わない第一確認表示とを前記表示部に表示させる処理、及び、
前記表示部から前記第一確認表示を消去したあとに、前記車両が走行する前記第一車線および車線変更先の前記第二車線に対応する前記車線表示と前記車両の車線変更後の目標位置を示し且つ前記第二車線を表す画像にのみ表示された図形のみからなり文字を伴わない第二確認表示とを前記表示部に表示させる処理をコンピュータに実行させるプログラム。
発明の詳細な説明
【技術分野】
【0001】
本開示は、車両用表示装置、表示方法及びプログラムに関する。
続きを表示(約 1,400 文字)
【背景技術】
【0002】
下記特許文献1には、車両の自動運転(運転制御)で車線変更が行われる場合に、車線変更に関する情報を表示する車両用表示装置が記載されている。この車両用表示装置では、走行中の車線から変更予定の車線への方向を示す矢印等の画像を表示し、車線変更の開始前と開始後の状態とで矢印の画像を異なる態様で表示している。従って、乗員は、車線変更先の車線と、車線変更が開始される前の状態、車線変更が開始された後の状態を知ることができる。
【先行技術文献】
【特許文献】
【0003】
特開2020-044988号公報
【発明の概要】
【発明が解決しようとする課題】
【0004】
しかしながら、特許文献1に記載の技術では、車両が車線変更先の車線の状況を認識できているか否かを乗員が知ることができない。従って、車線変更中に乗員が不安を感じる場合があった。
【0005】
本開示は、上記の点に鑑みてなされたものであり、車線変更が行われる場合に、乗員に安心感を与えることができる車両表示装置を提供することを目的とする。
【課題を解決するための手段】
【0006】
請求項1に係る車両用表示装置は、車両の車室内に設けられた表示部と、制御部と、を備え、前記制御部が、前記車両が走行する第一車線および車線変更先の第二車線に対応する車線表示と前記第二車線の状況を含む周辺情報の取得を開始することを示す図形のみからなり文字を伴わない第一確認表示とを前記表示部に表示させ、前記表示部から前記第一確認表示を消去したあとに、前記車両が走行する前記第一車線および車線変更先の前記第二車線に対応する前記車線表示と前記車両の車線変更後の目標位置を示し且つ前記第二車線を表す画像にのみ表示された図形のみからなり文字を伴わない第二確認表示とを前記表示部に表示させる。
【0007】
請求項1に係る車両用表示装置では、車室の室内に表示部が設けられている。また、車両用表示装置は、制御部を有している。この制御部は、自車両が走行する第一車線および車線変更先の第二車線に対応する車線表示と第二車線の状況を含む周辺情報の取得を開始することを示す第一確認表示とを表示部に表示させる。これにより、乗員は、第一確認表示を見ることで、車線変更の前に車両が周辺情報を取得していることを把握できるため、安心感を得ることができる。
【0008】
なお、自動運転とは、アクセル、ブレーキ、方向指示器、ステアリング等の操作の一部又は全てが自動的に行われる車両の走行態様である。
【0009】
さらに請求項1に係る車両用表示装置では、車線表示とともに車両の車線変更後の目標位置を示す第二確認表示が表示される。このため、乗員は、第二確認表示を見ることにより、車線変更後の目標位置が車両によって確認されたことを把握できるため、安心感を得ることができる。
【0010】
請求項2に係る車両用表示装置は、請求項1に記載の構成において、前記制御部は、前記第一確認表示を表示したのちに、前記周辺情報に基づく判定により前記車両の車線変更後の目標位置までの車線変更が可能である旨の判定結果を取得した場合に、当該判定結果に基づいて、前記第二確認表示を表示させる。
(【0011】以降は省略されています)
この特許をJ-PlatPat(特許庁公式サイト)で参照する
関連特許
トヨタ自動車株式会社
車両
11日前
トヨタ自動車株式会社
電池
12日前
トヨタ自動車株式会社
電池
13日前
トヨタ自動車株式会社
車両
10日前
トヨタ自動車株式会社
車両
3日前
トヨタ自動車株式会社
電池
3日前
トヨタ自動車株式会社
椅子
6日前
トヨタ自動車株式会社
方法
6日前
トヨタ自動車株式会社
車両
5日前
トヨタ自動車株式会社
方法
6日前
トヨタ自動車株式会社
電動車
13日前
トヨタ自動車株式会社
電動車
6日前
トヨタ自動車株式会社
ケース
12日前
トヨタ自動車株式会社
モータ
4日前
トヨタ自動車株式会社
電磁弁
6日前
トヨタ自動車株式会社
固定子
11日前
トヨタ自動車株式会社
飛行体
3日前
トヨタ自動車株式会社
電動車
17日前
トヨタ自動車株式会社
加熱器
10日前
トヨタ自動車株式会社
電動車
17日前
トヨタ自動車株式会社
電動車
17日前
トヨタ自動車株式会社
車載装置
10日前
トヨタ自動車株式会社
搬送装置
3日前
トヨタ自動車株式会社
路側装置
12日前
トヨタ自動車株式会社
バッテリ
11日前
トヨタ自動車株式会社
駆動装置
3日前
トヨタ自動車株式会社
通話装置
10日前
トヨタ自動車株式会社
製造装置
11日前
トヨタ自動車株式会社
制御装置
10日前
トヨタ自動車株式会社
充電設備
3日前
トヨタ自動車株式会社
ロボット
13日前
トヨタ自動車株式会社
車両構造
10日前
トヨタ自動車株式会社
監視装置
11日前
トヨタ自動車株式会社
判定装置
6日前
トヨタ自動車株式会社
端末装置
3日前
トヨタ自動車株式会社
二次電池
11日前
続きを見る
他の特許を見る