TOP
|
特許
|
意匠
|
商標
特許ウォッチ
Twitter
他の特許を見る
公開番号
2025157114
公報種別
公開特許公報(A)
公開日
2025-10-15
出願番号
2025008476
出願日
2025-01-21
発明の名称
優先度の調停に起因する同時のオーディオ出力
出願人
トヨタ自動車株式会社
代理人
個人
,
個人
,
個人
,
個人
,
個人
,
個人
,
個人
主分類
H04R
3/12 20060101AFI20251007BHJP(電気通信技術)
要約
【課題】デバイス、プログラム及び方法を提供する。
【解決手段】優先度の調停に起因する同時のオーディオ出力の実装は、増幅器と通信する前方、後方スピーカが第1のアプリケーションからのオーディオ出力中に第2のアプリケーションからのオーディオ出力要求を受信し、第1、第2のアプリケーションの各々のリソース要件情報を取得し、ヘッドユニット及び増幅器が同時のオーディオ出力に関する各アプリケーションのリソース要件を満たすか判定し、ヘッドユニット及び増幅器が同時オーディオ出力に充分なリソースを有するとの判定に応じて第1のチャネルを修正し、前方又は後方スピーカ入力のうちの一方を除去するよう増幅器に命令し、第1のチャネルから除去された前方又は後方スピーカ入力のうち一方に出力するために第2のチャネルを第2のアプリケーションに関連付けて増幅器に命令し、オーディオ送信を有効にするように第2のアプリケーションに命令する。
【選択図】図5
特許請求の範囲
【請求項1】
少なくとも1つのプロセッサに動作を行わせるためのコンピュータプログラムであって、前記動作は、
増幅器と通信する前方スピーカ及び後方スピーカが第1のアプリケーションからのオーディオを出力する間に、第2のアプリケーションからのオーディオを出力するための要求を受信することと、
前記第1のアプリケーション及び前記第2のアプリケーションの各々について、リソース要件を表す情報を取得することと、
ヘッドユニット及び増幅器が同時のオーディオ出力に関する各アプリケーションの前記リソース要件を満たすのに充分なリソースを有するかどうかを判定することと、
前記ヘッドユニット及び前記増幅器が同時のオーディオ出力に充分なリソースを有すると判定したことに応じて、第1のチャネルを修正して前方スピーカ入力又は後方スピーカ入力のうちの一方を除去するように前記増幅器に命令することと、
前記第1のチャネルから除去された前記前方スピーカ入力又は前記後方スピーカ入力のうちの前記一方に出力するために第2のチャネルを前記第2のアプリケーションに関連付けるように前記増幅器に命令することと、
オーディオ送信を有効にするように前記第2のアプリケーションに命令することと、
を含む、コンピュータプログラム。
続きを表示(約 1,300 文字)
【請求項2】
前記リソース要件は、インターフェースリソース要件とデコードリソース要件とを含む、請求項1に記載のコンピュータプログラム。
【請求項3】
前記デコードリソース要件は、ハードウェアデコーダ要件を含む、請求項2に記載のコンピュータプログラム。
【請求項4】
前記インターフェースリソース要件は、タッチスクリーン要件を含む、請求項2又は3に記載のコンピュータプログラム。
【請求項5】
前記インターフェースリソース要件は、前方スピーカ要件を含む、請求項2又は3に記載のコンピュータプログラム。
【請求項6】
前記リソース要件は、プライバシ要件又はセキュリティ要件のうちの一方を含む、請求項1又は2に記載のコンピュータプログラム。
【請求項7】
前記動作は、
ユーザ嗜好情報を取得することと、
前記ユーザ嗜好情報が同時のオーディオ出力を禁止するかどうかを判定することと、
を更に含む、請求項1又は2に記載のコンピュータプログラム。
【請求項8】
前記動作は、
前記要求の受信に応じてオーディオ出力をミュートすることと、
前記第2のアプリケーションがオーディオデータを送信していると判定したことに応じて前記オーディオ出力をミュート解除することと、
を更に含む、請求項1又は2に記載のコンピュータプログラム。
【請求項9】
前記第2のチャネルは、前記第2のアプリケーションに対応するオーディオビットレート、サンプリングレート、バッファサイズ、又はイコライザ設定のうちの少なくとも1つを有する、請求項1又は2に記載のコンピュータプログラム。
【請求項10】
プロセッサによって実行される方法であって、
増幅器と通信する前方スピーカ及び後方スピーカが第1のアプリケーションからのオーディオを出力する間に、第2のアプリケーションからのオーディオを出力するための要求を受信することと、
前記第1のアプリケーション及び前記第2のアプリケーションの各々について、リソース要件を表す情報を取得することと、
ヘッドユニット及び増幅器が同時のオーディオ出力に関する各アプリケーションの前記リソース要件を満たすのに充分なリソースを有するかどうかを判定することと、
前記ヘッドユニット及び前記増幅器が同時のオーディオ出力に充分なリソースを有すると判定したことに応じて、第1のチャネルを修正して前方スピーカ入力又は後方スピーカ入力のうちの一方を除去するように前記増幅器に命令することと、
前記第1のチャネルから除去された前記前方スピーカ入力又は前記後方スピーカ入力のうちの前記一方に出力するために第2のチャネルを前記第2のアプリケーションに関連付けるように前記増幅器に命令することと、
オーディオ送信を有効にするように前記第2のアプリケーションに命令することと、
を含む、方法。
(【請求項11】以降は省略されています)
発明の詳細な説明
【背景技術】
【0001】
車両に設置されたオーディオ出力デバイス、例えば、スピーカ又はスピーカシステムは、複数のアプリケーションによって使用される。一部のアプリケーションは、ラジオ、予め記録された物理媒体、インターネットなどから絶え間ないオーディオストリームを生成する無フラッタ(non-flutter)アプリケーションである。一部のアプリケーションは、ナビゲーション、警告などに関する断続的なオーディオデータを生成するフラッタ(flutter)アプリケーションである。任意の所与の時間において、複数のアプリケーションは、オーディオ出力デバイス又はビデオ出力デバイス、例えば、タッチスクリーンによる出力に関する要求を送信し得る。
続きを表示(約 2,900 文字)
【図面の簡単な説明】
【0002】
本開示の態様は、以下の詳細な説明を添付の図を用いて読むことで最もよく理解される。業界における標準的な慣行に従って、様々な特徴は縮尺通りに描かれているわけではないことに留意されたい。実際、説明を明確にするために、様々な特徴の寸法は任意で増加又は減少し得る。
【0003】
図1は、主題の開示の少なくとも一部の実施形態に係る、優先度の調停に起因する同時のオーディオ出力に関する概略図である。
図2は、主題の開示の少なくとも一部の実施形態に係る、優先度の調停に起因する同時のオーディオ出力に関する情報フローである。
図3は、主題の開示の少なくとも一部の実施形態に係る、優先度の調停に起因する同時のオーディオ出力に関する動作フローである。
図4は、主題の開示の少なくとも一部の実施形態に係る、同時のオーディオ出力要件情報を取得して、要件が満たされるかどうかを判定するための動作フローである。
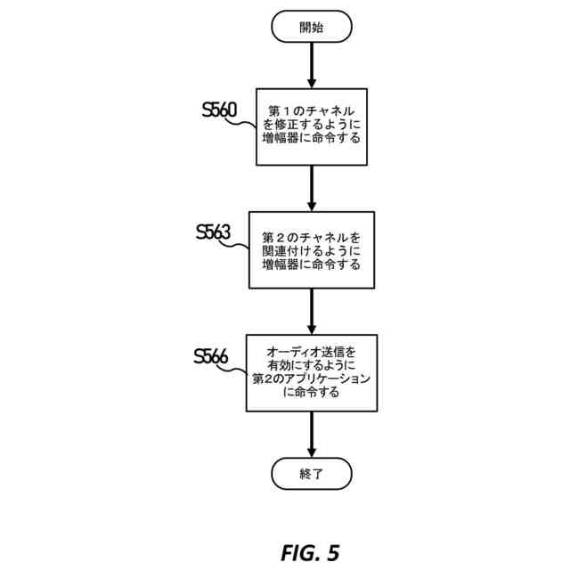
図5は、主題の開示の少なくとも一部の実施形態に係る、同時のオーディオ出力を実装するための動作フローである。
図6は、本発明の少なくとも一部の実施形態に係る、優先度の調停に起因する同時のオーディオ出力に関するハードウェア構成のブロック図である。
【発明を実施するための形態】
【0004】
以下の開示は、提供される主題の異なる特徴を実装するために、多数の異なる実施形態又は例を提供する。本開示を簡略化するために、構成要素、値、動作、材料、配置、又は同種のものに関する具体例が以下に記載される。もちろん、これらは単なる例であって、限定することを意図したものではない。他の構成要素、値、動作、材料、配置、又は同種のものが想定される。加えて、本開示は、様々な例で参照番号及び/又は参照文字を繰り返し得る。この繰り返しは、簡略化及び明確化を目的としたものであって、それ自体で、説明される様々な実施形態及び/又は構成間の関係を規定するものではない。
【0005】
発明者に既知である一部の車両では、出力デバイスは制限されており、したがって、アプリケーションによる、出力デバイスに出力するための要求は、メディエーションルールを介して処理される。このような車両において、調停マネージャは、スクリーン出力、基本的な音出力、及び割り込み音出力に関して、メディエーションライブラリに記憶されたメディエーションルールに基づいてアプリケーション間の優先度を判断して、アプリケーション間のコンフリクトを解消する。調停マネージャは、アプリケーションマネージャを介して判断結果を各アプリケーションに送信する。
【0006】
本明細書に記載される少なくとも一部の実施形態では、単にアプリケーションのうちの1つを選択して全ての出力デバイスを利用するのではなく、アプリケーションマネージャは、同時の出力が可能であるかどうかを判定し、同時の出力について条件が認められると判定したことに応じて、アプリケーションマネージャは、車両の前方スピーカに対する或るアプリケーションのオーディオ送信を、車両の後方スピーカに対する別のアプリケーションのオーディオ送信と同時に可能にする。
【0007】
一部の車両、例えば、RSE(後部座席エンターテインメント)準拠車両モデルは、前方スピーカ及び後方スピーカ間で同時の異なるオーディオストリームの出力をサポートするが、オーディオストリームの全ての組み合わせが同時の再生についての条件を満たしているわけではない。例えば、内部計算リソースの制約は、複数のオーディオストリームをデコードするためのヘッドユニットの容量を制限する。また、特定のアプリケーション、例えば、スマートフォンアプリケーションは、ヘッドユニットインターフェースの使用を必要とするが、一部のヘッドユニットインターフェースは、2つのアプリケーションインターフェースをサポートしない。
【0008】
少なくとも一部の実施形態では、アプリケーションマネージャ又は調停マネージャは、オーディオに使用される任意の車両機器の仕様、例えば、ヘッドユニット、増幅器、スピーカ、及び任意の他の車載機器の利用可能なリソース及び能力をチェックするように構成される。少なくとも一部の実施形態では、アプリケーションマネージャ又は調停マネージャは、車両のオーディオ再生状況に対する任意の変更に応じて、車両におけるどのスピーカを通じて、どのアプリケーションが、オーディオ、例えば、基本的なオーディオ、割り込みオーディオ、エマージェンシコールオーディオなどを送信するかを決定するように構成される。
【0009】
少なくとも一部の実施形態では、アプリケーションは、オーディオデータの生成に応じて、アプリケーションマネージャ又は調停マネージャによって提供されるインターフェースにオーディオ調停の要求を送信し、アプリケーションマネージャ又は調停マネージャによって決定される調停結果に従ってオーディオ再生を行う。少なくとも一部の実施形態では、オーディオ調停は、オーディオに使用されるどの車両機器の仕様も考慮することなくアプリケーションがオーディオを再生することを可能にする。
【0010】
少なくとも一部の実施形態では、ヘッドユニットが、第1のオーディオの生成アプリケーションから全てのスピーカにオーディオを出力するように増幅器を既に設定している間に、オーディオ調停が始まる。少なくとも一部の実施形態では、オーディオ調停は、ヘッドユニットが第2のオーディオの生成アプリケーションからオーディオを出力するための要求を受信するとトリガされる。少なくとも一部の実施形態では、ヘッドユニットは、各アプリケーションからの情報を読み取って、例えば、両方のアプリケーションにインターフェースを提供するのに充分な表示リソースが存在するかどうか、両方のオーディオストリームをデコードするのに充分なデコードリソース、特にメモリが存在するかどうか、任意のプライバシ又はセキュリティ制限が同時の再生を妨げるかどうかなどをチェックすることによって、同時の再生が可能であるかどうかを判定する。少なくとも一部の実施形態では、ヘッドユニットは、同時の再生が可能であると判定したことに応じて、第1のチャネルを修正して前方スピーカ入力又は後方スピーカ入力を除去するように増幅器に命令する。少なくとも一部の実施形態では、ヘッドユニットは、次いで、除去されたスピーカ入力に対して第2のチャネルを確保するように増幅器に命令する。少なくとも一部の実施形態では、ヘッドユニットは、第2のチャネルの確保に応じて、オーディオ送信を有効にするように第2のアプリケーションに命令する。
(【0011】以降は省略されています)
この特許をJ-PlatPat(特許庁公式サイト)で参照する
関連特許
トヨタ自動車株式会社
車両
11日前
トヨタ自動車株式会社
車両
6日前
トヨタ自動車株式会社
電池
4日前
トヨタ自動車株式会社
椅子
7日前
トヨタ自動車株式会社
車両
18日前
トヨタ自動車株式会社
方法
7日前
トヨタ自動車株式会社
車体
今日
トヨタ自動車株式会社
方法
7日前
トヨタ自動車株式会社
電池
14日前
トヨタ自動車株式会社
車両
12日前
トヨタ自動車株式会社
電池
13日前
トヨタ自動車株式会社
車両
4日前
トヨタ自動車株式会社
電動車
14日前
トヨタ自動車株式会社
固定子
12日前
トヨタ自動車株式会社
電解液
18日前
トヨタ自動車株式会社
電動車
18日前
トヨタ自動車株式会社
電動車
18日前
トヨタ自動車株式会社
電動車
7日前
トヨタ自動車株式会社
電磁弁
7日前
トヨタ自動車株式会社
電動車
18日前
トヨタ自動車株式会社
飛行体
4日前
トヨタ自動車株式会社
モータ
5日前
トヨタ自動車株式会社
加熱器
11日前
トヨタ自動車株式会社
ケース
13日前
トヨタ自動車株式会社
搬送装置
4日前
トヨタ自動車株式会社
塗工装置
12日前
トヨタ自動車株式会社
路側装置
13日前
トヨタ自動車株式会社
判定装置
7日前
トヨタ自動車株式会社
充電設備
4日前
トヨタ自動車株式会社
蓄電装置
13日前
トヨタ自動車株式会社
端末装置
4日前
トヨタ自動車株式会社
バッテリ
12日前
トヨタ自動車株式会社
駆動装置
4日前
トヨタ自動車株式会社
バッテリ
12日前
トヨタ自動車株式会社
制御装置
13日前
トヨタ自動車株式会社
乾燥装置
4日前
続きを見る
他の特許を見る