TOP
|
特許
|
意匠
|
商標
特許ウォッチ
Twitter
他の特許を見る
公開番号
2025157532
公報種別
公開特許公報(A)
公開日
2025-10-15
出願番号
2025124650,2022115552
出願日
2025-07-25,2022-07-20
発明の名称
電極合材層の製造方法
出願人
トヨタ自動車株式会社
代理人
弁理士法人深見特許事務所
主分類
H01M
4/139 20100101AFI20251007BHJP(基本的電気素子)
要約
【課題】剥離強度が向上した電極の製造方法を提供すること。
【解決手段】活物質およびバインダを乾式法で混合することにより、第1複合材料を作製する工程と、前記第1複合材料および導電材を乾式法で混合することにより、第2複合材料を作製する工程と、集電箔の表面に前記第2複合材料を塗布することにより、電極合材層を形成する工程と、を備え、前記第2複合材料の塗布は、静電スクリーン印刷により行われ、前記バインダは、カルボキシメチルセルロース、スチレンブタジエンラバー、ポリフッ化ビニリデン、ポリテトラフルオロエチレン、および、ポリアクリル酸からなる群から選択される少なくとも1種からなる、電極合材層の製造方法。
【選択図】図3
特許請求の範囲
【請求項1】
活物質およびバインダを乾式法で混合することにより、第1複合材料を作製する工程と、
前記第1複合材料および導電材を乾式法で混合することにより、第2複合材料を作製する工程と、
集電箔の表面に前記第2複合材料を塗布することにより、電極合材層を形成する工程と、
を備え、
前記第2複合材料の塗布は、静電スクリーン印刷により行われ、
前記バインダは、カルボキシメチルセルロース、スチレンブタジエンラバー、ポリフッ化ビニリデン、ポリテトラフルオロエチレン、および、ポリアクリル酸からなる群から選択される少なくとも1種からなる、電極合材層の製造方法。
続きを表示(約 77 文字)
【請求項2】
前記第1複合材料および前記第2複合材料は、メカノケミカル処理により複合化されてなる、請求項1に記載の電極合材層の製造方法。
発明の詳細な説明
【技術分野】
【0001】
本開示は、電極の製造方法に関する。
続きを表示(約 1,100 文字)
【背景技術】
【0002】
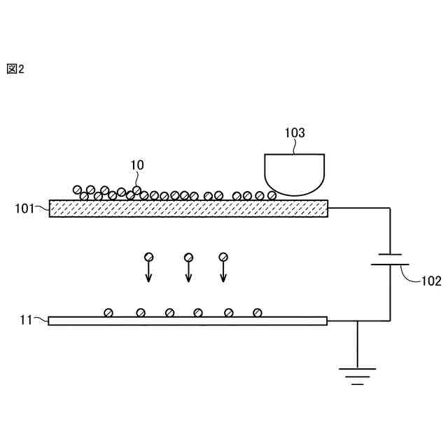
特許文献1(特開2020-149862号公報)には、活物質およびバインダを含む電極合材材料を磁性キャリアに付着させ、マグネットロールにより搬送し、マグネットロールと集電箔を担持させたバックアップロールとの間に電位差を生じさせ、静電気力により電極合材材料のみを集電箔に付着させる、電極の製造方法が開示されている。
【先行技術文献】
【特許文献】
【0003】
特開2020-149862号公報
【発明の概要】
【発明が解決しようとする課題】
【0004】
従来、電極の製造方法としては、活物質とバインダ等の添加剤とを溶媒に溶解させて塗布液を調製し、該塗布液を集電箔の表面に塗布し、乾燥させることにより、活物質層を集電箔の表面に形成する湿式法が用いられてきた。一方、溶媒を用いずに、活物質と添加物とを混練し、圧縮成形する乾式法も知られている。
【0005】
乾式法では、乾燥工程が不要になるため、エネルギー量が少なくなるという利点がある。しかし、溶媒を使用しないため、バインダの分散が難しくなり、活物質とバインダとの接触面積が低下する。また、湿式法のように、溶媒が乾燥により揮発する際に、活物質の表面にバインダが偏析することが起こらないため、付着力が発揮されない。このように、乾式法では、剥離強度が低くなるという不都合があった。
【0006】
したがって、本開示の目的は、剥離強度が向上した電極の製造方法を提供することである。
【課題を解決するための手段】
【0007】
〔1〕 活物質およびバインダを乾式法で混合することにより、第1複合材料を作製する工程と、
前記第1複合材料および導電材を乾式法で混合することにより、第2複合材料を作製する工程と、
集電箔の表面に前記第2複合材料を塗布することにより、電極合材層を形成する工程と、
前記電極合材層を圧縮することにより、電極を形成する工程と、を備える、電極の製造方法。
【0008】
活物質およびバインダを、導電材を添加する前に予め混合することにより、活物質の表面にバインダが付着する。これにより、活物質とバインダとの接触面積が増加し、剥離強度が向上するものと考えられる。
【0009】
〔2〕 前記第1複合材料および前記第2複合材料は、メカノケミカル処理により複合化されてなる、〔1〕に記載の電極の製造方法。
【0010】
〔3〕 前記第2複合材料の塗布は、静電スクリーン印刷により行われる、〔1〕または〔2〕に記載の電極の製造方法。
(【0011】以降は省略されています)
この特許をJ-PlatPat(特許庁公式サイト)で参照する
関連特許
トヨタ自動車株式会社
方法
3日前
トヨタ自動車株式会社
電池
10日前
トヨタ自動車株式会社
電池
9日前
トヨタ自動車株式会社
椅子
3日前
トヨタ自動車株式会社
方法
3日前
トヨタ自動車株式会社
車両
7日前
トヨタ自動車株式会社
車両
8日前
トヨタ自動車株式会社
車両
2日前
トヨタ自動車株式会社
電磁弁
3日前
トヨタ自動車株式会社
電動車
10日前
トヨタ自動車株式会社
固定子
8日前
トヨタ自動車株式会社
電動車
3日前
トヨタ自動車株式会社
モータ
1日前
トヨタ自動車株式会社
ケース
9日前
トヨタ自動車株式会社
加熱器
7日前
トヨタ自動車株式会社
ロボット
10日前
トヨタ自動車株式会社
制御装置
7日前
トヨタ自動車株式会社
通話装置
7日前
トヨタ自動車株式会社
蓄電装置
7日前
トヨタ自動車株式会社
二次電池
8日前
トヨタ自動車株式会社
バッテリ
8日前
トヨタ自動車株式会社
判定装置
3日前
トヨタ自動車株式会社
車載装置
7日前
トヨタ自動車株式会社
バッテリ
8日前
トヨタ自動車株式会社
蓄電装置
9日前
トヨタ自動車株式会社
路側装置
9日前
トヨタ自動車株式会社
塗工装置
8日前
トヨタ自動車株式会社
電動車両
1日前
トヨタ自動車株式会社
車両構造
7日前
トヨタ自動車株式会社
監視装置
8日前
トヨタ自動車株式会社
製造装置
8日前
トヨタ自動車株式会社
制御装置
9日前
トヨタ自動車株式会社
電池パック
10日前
トヨタ自動車株式会社
電池パック
10日前
トヨタ自動車株式会社
三角表示板
7日前
トヨタ自動車株式会社
ガスタンク
7日前
続きを見る
他の特許を見る