TOP
|
特許
|
意匠
|
商標
特許ウォッチ
Twitter
他の特許を見る
10個以上の画像は省略されています。
公開番号
2025158320
公報種別
公開特許公報(A)
公開日
2025-10-17
出願番号
2024060744
出願日
2024-04-04
発明の名称
物品搬送設備
出願人
株式会社ダイフク
代理人
弁理士法人R&C
主分類
B65G
1/04 20060101AFI20251009BHJP(運搬;包装;貯蔵;薄板状または線条材料の取扱い)
要約
【課題】昇降搬送装置が上側昇降装置と下側昇降装置との2つの昇降装置を備える構成において、複数の物品を昇降搬送装置により階層搬送装置から搬出装置へ搬送する場合に、昇降搬送装置による物品の搬送効率を高めやすい技術の実現が望まれる。
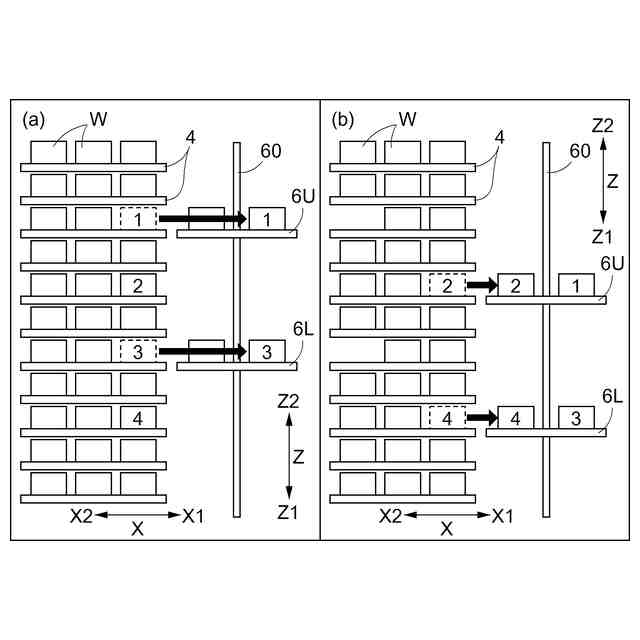
【解決手段】物品搬送設備は、複数階層に配置された階層搬送装置4と、物品Wを上下方向Zに搬送する昇降搬送装置と、搬出装置と、を備える。昇降搬送装置は、上側昇降装置6Uと下側昇降装置6Lとを備える。制御システムは、上側昇降装置6U及び下側昇降装置6Lのそれぞれが受け取る物品Wを選択する選択処理として、上側昇降装置6Uが受け取る物品Wが配置された階層搬送装置4のうちで最も下側Z1の階層搬送装置4が、下側昇降装置6Lが受け取る物品Wが配置された階層搬送装置4のうちで最も上側Z2の階層搬送装置4よりも上側Z2となるようにする第1選択処理を実行する。
【選択図】図4
特許請求の範囲
【請求項1】
上下方向に並ぶように複数階層に配置された階層搬送装置と、
前記階層搬送装置から受け取った物品を上下方向に搬送する昇降搬送装置と、
前記昇降搬送装置から受け取った前記物品を搬出する搬出装置と、
前記階層搬送装置及び前記昇降搬送装置を制御する制御システムと、を備えた物品搬送設備であって、
前記昇降搬送装置は、昇降経路に沿って上下方向に移動する上側昇降装置と、前記上側昇降装置よりも下側において前記昇降経路に沿って上下方向に移動する下側昇降装置と、を備え、
前記上側昇降装置及び前記下側昇降装置は、それぞれ複数の前記物品を保持できるように構成され、
前記制御システムは、前記上側昇降装置及び前記下側昇降装置のそれぞれが受け取る前記物品を選択する選択処理として、前記上側昇降装置が受け取る前記物品が配置された前記階層搬送装置のうちで最も下側の前記階層搬送装置が、前記下側昇降装置が受け取る前記物品が配置された前記階層搬送装置のうちで最も上側の前記階層搬送装置よりも上側となるようにする第1選択処理を実行する、物品搬送設備。
続きを表示(約 910 文字)
【請求項2】
前記制御システムは、前記選択処理として前記第1選択処理が実行できない場合には、前記上側昇降装置が受け取る前記物品が配置された前記階層搬送装置のうちで最も下側の前記階層搬送装置が、前記下側昇降装置が受け取る前記物品が配置された前記階層搬送装置のうちで最も上側の前記階層搬送装置と同じとなるようにする第2選択処理を、前記選択処理として実行する、請求項1に記載の物品搬送設備。
【請求項3】
前記制御システムは、前記第1選択処理及び前記第2選択処理の双方で、前記上側昇降装置及び前記下側昇降装置が保持できる最大数の前記物品を受け取ることができない場合には、前記上側昇降装置及び前記下側昇降装置が保持できる最大数未満の前記物品を受け取るように前記第1選択処理又は前記第2選択処理を実行し、残りの前記物品を次の前記第1選択処理又は前記第2選択処理の対象とする、請求項2に記載の物品搬送設備。
【請求項4】
前記搬出装置は、予め定められた上下方向の位置において前記上側昇降装置及び前記下側昇降装置のそれぞれから前記物品を受け取るように構成され、
前記制御システムは、複数の前記物品を予め定められた引渡順序で前記上側昇降装置及び前記下側昇降装置から前記搬出装置に引き渡す引渡処理を実行するように構成され、
前記制御システムは、前記上側昇降装置及び前記下側昇降装置のそれぞれにおいて、前記引渡順序に応じた連続する順序で前記物品が保持されるように、前記選択処理を実行する、請求項1から3のいずれか一項に記載の物品搬送設備。
【請求項5】
前記搬出装置が前記上側昇降装置及び前記下側昇降装置のそれぞれから前記物品を受け取る上下方向の位置が、前記昇降経路の上下方向の全域のうちで、上下方向の一方側である上下方向第1側に偏って配置され、
前記制御システムは、前記選択処理において、前記上側昇降装置及び前記下側昇降装置のうちの前記上下方向第1側に配置された方が、前記引渡順序が後側の前記物品を保持するようにする、請求項4に記載の物品搬送設備。
発明の詳細な説明
【技術分野】
【0001】
本発明は、上下方向に並ぶように複数階層に配置された階層搬送装置と、階層搬送装置から受け取った物品を上下方向に搬送する昇降搬送装置と、昇降搬送装置から受け取った物品を搬出する搬出装置と、を備えた物品搬送設備に関する。
続きを表示(約 2,500 文字)
【背景技術】
【0002】
上記のような物品搬送設備の一例が、特開2022-94209号公報(特許文献1)に開示されている。以下、この背景技術の説明では、特許文献1における符号を括弧内に引用する。特許文献1には、階層搬送装置としての出庫用コンベヤ(25)と、昇降搬送装置としての出庫用昇降装置(13)と、搬出装置としての出庫ステーション(9)と、を備えた自動倉庫(100)が開示されている。出庫用昇降装置(13)は、物品としての荷物(W)が載置される昇降台(63)と、昇降台(63)を昇降させる昇降機構(65)と、を備えている。
【0003】
自動倉庫(100)から荷物(W)を出庫する場合、出庫用昇降装置(13)は、出庫対象の荷物(W)がある棚段(21)に昇降台(63)を昇降させて、当該棚段(21)に配置された出庫用コンベヤ(25)から荷物(W)を受け取る。そして、出庫用昇降装置(13)は、出庫ステーション(9)の位置まで昇降台(63)を昇降させて、荷物(W)を出庫ステーション(9)に引き渡す。特許文献1の自動倉庫(100)では、1つのオーダーに含まれる荷物(W)がそろうと、当該オーダーに含まれる複数の荷物(W)が自動倉庫(100)から出庫される。そして、特許文献1の自動倉庫(100)では、荷物(W)の入庫時に、1つのオーダーに含まれる複数の荷物(W)を上限値以下の複数の棚段(21)に分散させて入庫位置を決定することで、出庫効率の向上を図っている。
【先行技術文献】
【特許文献】
【0004】
特開2022-94209号公報
【発明の概要】
【発明が解決しようとする課題】
【0005】
ところで、昇降搬送装置が、上側昇降装置と下側昇降装置との2つの昇降装置を備える構成とすることが考えられる。このような構成においても、複数の物品(特許文献1では、1つのオーダーに含まれる複数の荷物)を昇降搬送装置により階層搬送装置から搬出装置に搬送する場合に、昇降搬送装置による物品の搬送効率(特許文献1では、出庫効率)を向上できることが望ましい。しかしながら、特許文献1には、昇降搬送装置が上側昇降装置と下側昇降装置との2つの昇降装置を備える構成について記載されていない。
【0006】
そこで、昇降搬送装置が上側昇降装置と下側昇降装置との2つの昇降装置を備える構成において、複数の物品を昇降搬送装置により階層搬送装置から搬出装置へ搬送する場合に、昇降搬送装置による物品の搬送効率を高めやすい技術の実現が望まれる。
【課題を解決するための手段】
【0007】
本開示に係る物品搬送設備は、上下方向に並ぶように複数階層に配置された階層搬送装置と、前記階層搬送装置から受け取った物品を上下方向に搬送する昇降搬送装置と、前記昇降搬送装置から受け取った前記物品を搬出する搬出装置と、前記階層搬送装置及び前記昇降搬送装置を制御する制御システムと、を備えた物品搬送設備であって、前記昇降搬送装置は、昇降経路に沿って上下方向に移動する上側昇降装置と、前記上側昇降装置よりも下側において前記昇降経路に沿って上下方向に移動する下側昇降装置と、を備え、前記上側昇降装置及び前記下側昇降装置は、それぞれ複数の前記物品を保持できるように構成され、前記制御システムは、前記上側昇降装置及び前記下側昇降装置のそれぞれが受け取る前記物品を選択する選択処理として、前記上側昇降装置が受け取る前記物品が配置された前記階層搬送装置のうちで最も下側の前記階層搬送装置が、前記下側昇降装置が受け取る前記物品が配置された前記階層搬送装置のうちで最も上側の前記階層搬送装置よりも上側となるようにする第1選択処理を実行する。
【0008】
本構成によれば、複数の物品を昇降搬送装置により階層搬送装置から搬出装置へ搬送する場合に、第1選択処理を実行することで、上側昇降装置が階層搬送装置から物品を受け取る上下方向の範囲と、下側昇降装置が階層搬送装置から物品を受け取る上下方向の範囲とが重複しないようにできる。これにより、上側昇降装置が階層搬送装置から物品を受け取る受け取り動作の実行期間と、下側昇降装置が階層搬送装置から物品を受け取る受け取り動作の実行期間とを重複させやすい。従って、昇降搬送装置による物品の搬送効率を高めやすい。
【0009】
物品搬送設備の更なる特徴と利点は、図面を参照して説明する実施形態についての以下の記載から明確となる。
【図面の簡単な説明】
【0010】
物品搬送設備の一部の斜視図
制御ブロック図
上側昇降装置及び下側昇降装置における物品の保持パターンを示す図
昇降搬送装置による階層搬送装置からの物品の受け取り動作の説明図
昇降搬送装置による搬出装置への物品の引き渡し動作の説明図
昇降搬送装置による物品の受け取り動作の一態様を示す図
昇降搬送装置による物品の受け取り動作の一態様を示す図
パターン1に対応する階層搬送装置における物品の配置パターンを示す図
パターン2に対応する階層搬送装置における物品の配置パターンを示す図
パターン3に対応する階層搬送装置における物品の配置パターンを示す図
パターン4に対応する階層搬送装置における物品の配置パターンを示す図
パターン5に対応する階層搬送装置における物品の配置パターンを示す図
パターン6に対応する階層搬送装置における物品の配置パターンを示す図
昇降搬送装置による物品の受け取り動作の一態様を示す図
昇降搬送装置による物品の受け取り動作の一態様を示す図
昇降搬送装置による物品の受け取り動作の一態様を示す図
昇降搬送装置による物品の受け取り動作の一態様を示す図
【発明を実施するための形態】
(【0011】以降は省略されています)
この特許をJ-PlatPat(特許庁公式サイト)で参照する
関連特許
株式会社ダイフク
洗車機
14日前
株式会社ダイフク
作業設備
7日前
株式会社ダイフク
物品搬送設備
5日前
株式会社ダイフク
非接触給電設備
今日
株式会社ダイフク
物品搬送設備及び物品搬送設備の保守方法
5日前
株式会社ダイフク
駆動伝達装置及び駆動伝達装置を備えた昇降装置
6日前
個人
収容箱
3か月前
個人
コンベア
5か月前
個人
ゴミ収集器
6か月前
個人
段ボール箱
7か月前
個人
段ボール箱
6か月前
個人
容器
9か月前
個人
パウチ補助具
12か月前
個人
バンド
1か月前
個人
角筒状構造体
5か月前
個人
土嚢運搬器具
8か月前
個人
宅配システム
6か月前
個人
楽ちんハンド
4か月前
個人
閉塞装置
10か月前
個人
包装容器
1か月前
個人
コード類収納具
8か月前
個人
廃棄物収容容器
2か月前
個人
お薬の締結装置
5か月前
個人
積み重ね用補助具
2か月前
個人
貯蔵サイロ
6か月前
株式会社バンダイ
物品
14日前
個人
蓋閉止構造
3か月前
個人
把手付米袋
4か月前
個人
蓋閉止構造
3か月前
個人
ゴミ処理機
9か月前
株式会社和気
包装用箱
8か月前
株式会社コロナ
梱包材
5か月前
個人
袋入り即席麺
7か月前
三甲株式会社
容器
1か月前
株式会社イシダ
搬送装置
6か月前
個人
介護用コップ
2か月前
続きを見る
他の特許を見る