TOP
|
特許
|
意匠
|
商標
特許ウォッチ
Twitter
他の特許を見る
10個以上の画像は省略されています。
公開番号
2025158361
公報種別
公開特許公報(A)
公開日
2025-10-17
出願番号
2024060841
出願日
2024-04-04
発明の名称
車両用表示制御装置、車両用表示制御システム、車両用表示制御方法、及び車両用表示制御プログラム
出願人
株式会社デンソー
代理人
弁理士法人サトー
主分類
B60K
35/29 20240101AFI20251009BHJP(車両一般)
要約
【課題】レベルIII以上の自動運転中に運転に無関係な運転無関係情報及び車両情報を乗員の快適性又は利便性を保ちつつ表示できるようにした車両用表示制御装置、車両用表示制御システム、車両用表示制御方法、及び車両用表示制御プログラムを提供する。
【解決手段】制御部11は、自動運転レベル入力部11cにより自動運転レベルを入力する。制御部11は、表示制御部11bによりPtoPディスプレイ2へ表示制御する。
制御部11は、自動運転レベルがレベルIII以上の最中又はレベルIII以上へ切替えされたときにおいて、エンタメ情報を運転手に向けて表示するとき、エンタメ情報の表示態様に応じて車両情報の表示態様を変化させる。
【選択図】図3A
特許請求の範囲
【請求項1】
自動運転レベルを入力する自動運転レベル入力部(11c)と、
表示装置(2、2a~2e)へ表示制御する表示制御部(11b)と、を備え、
前記表示制御部は、前記自動運転レベルがレベルIII以上の最中又は前記レベルIII以上へ切替えされたときにおいて、運転無関係情報を運転手に向けて表示するとき、前記運転無関係情報の表示態様に応じて車両情報の表示態様を変化させる車両用表示制御装置。
続きを表示(約 1,200 文字)
【請求項2】
前記表示制御部は、前記車両情報を消去しないように連続的に変化させるときに、元の前記車両情報を残しつつ他の表示領域に前記車両情報を表示した後、前記元の車両情報の表示領域の前記車両情報を消去する請求項1記載の車両用表示制御装置。
【請求項3】
前記表示制御部は、前記運転無関係情報を運転手の前方に表示させるとき、前記運転無関係情報と共に前記車両情報を運転手の前方に表示させる請求項1記載の車両用表示制御装置。
【請求項4】
前記表示装置は、前記自動運転レベルがレベルゼロ、I、又はIIの場合にメータ情報を表示させるメータ表示領域を備え、
前記表示制御部は、前記レベルIIIの最中に前記運転無関係情報を前記メータ表示領域に表示させ、前記運転無関係情報の表示態様と、運転手の視線を検知した視線検知情報とに応じて、前記車両情報の表示態様を変化させる請求項1記載の車両用表示制御装置。
【請求項5】
前記表示制御部は、
前記車両情報の表示態様を確定した後、運転手状態検出部(22)により運転手の視線又は姿勢を検出した運転手状態検出情報が変化したとき、前記運転手状態検出情報に応じて前記車両情報の表示態様を変化させる請求項1記載の車両用表示制御装置。
【請求項6】
前記表示制御部は、
運転手状態検出部(22)により運転手の状態が検出できなくなった場合、前記車両情報の表示個所を増やす請求項1記載の車両用表示制御装置。
【請求項7】
前記表示制御部は、
運転手状態検出部(22)により運転手の状態が検出できなくなった場合、前記車両情報の表示を大きくする請求項1記載の車両用表示制御装置。
【請求項8】
前記表示制御部は、
運転手状態検出部(22)により運転手の状態が検出できなくなった場合、前記運転無関係情報の表示を停止して運転手へ報知する請求項1記載の車両用表示制御装置。
【請求項9】
周辺状況検出部(23、24)による車両の周辺状況に変化が生じたか否かを判定する周辺状況判定部(11d)を備え、
前記表示制御部は、前記周辺状況判定部により変化を生じたと判定されたときに運転手に通知する必要があると判定した場合、運転手が視認しやすくなるように前記車両情報の表示を変化させる請求項1記載の車両用表示制御装置。
【請求項10】
周辺状況検出部(23、24)による車両の周辺状況に変化が生じたか否かを判定する周辺状況判定部(11d)を備え、
前記表示制御部は、前記周辺状況判定部により変化を生じたと判定されたときに運転手に通知する必要があると判定した場合、前記車両情報の表示を強調させる請求項1記載の車両用表示制御装置。
(【請求項11】以降は省略されています)
発明の詳細な説明
【技術分野】
【0001】
本発明は、車両用表示制御装置、車両用表示制御システム、車両用表示制御方法、及び車両用表示制御プログラムに関する。
続きを表示(約 2,600 文字)
【背景技術】
【0002】
一般に、車両の自動運転技術はレベルゼロからレベルVまでレベル分けされており、近年では、高速道路の走行など限定された範囲に限りシステムに運転を任せるレベルIIIまで実現している。自動運転のレベルIII以上においては、運転手は運転状況から目を離すことができ周辺監視義務がなくなる。このため、レベルIII以上の自動運転中には、運転手は運転とは無関係な映画などの他のコンテンツを自由に楽しむことができる。
【先行技術文献】
【特許文献】
【0003】
特開2017-222271号公報
【発明の概要】
【発明が解決しようとする課題】
【0004】
レベルIII以上の自動運転中に運転手に向けてコンテンツを表示する際、運転手にとって見やすい場所に表示することが望ましい。他方、レベルIIIの自動運転中においては、車両情報の一部の車速の情報のように、運転手から視認可能な位置に常に表示し続けなければならない情報もある。したがって、運転に無関係なコンテンツ(運転無関係情報相当)と車両情報とを、乗員の快適性又は利便性を保ちつつ表示させることが望ましい。
【0005】
本開示は、上記事情に鑑みてなされたもので、その目的は、レベルIII以上の自動運転中に運転に無関係な運転無関係情報及び車両情報を乗員の快適性又は利便性を保ちつつ表示できるようにした車両用表示制御装置、車両用表示制御システム、車両用表示制御方法、及び車両用表示制御プログラムを提供することにある。
【課題を解決するための手段】
【0006】
請求項1記載の発明によれば、自動運転レベル入力部は自動運転レベルを入力し、表示制御部は、表示装置へ表示制御する。表示制御部は、自動運転レベルがレベルIII以上の最中又はレベルIII以上へ切替えされたときにおいて、運転無関係情報を運転手に向けて表示するとき、運転無関係情報の表示態様に応じて車両情報の表示態様を変化させている。運転無関係情報の表示態様に応じて車両情報の表示態様を変化させているため、乗員の快適性又は利便性を保ちつつ表示できるようになる。
【図面の簡単な説明】
【0007】
第1実施形態におけるコックピットシステムの外観構成図
第1実施形態におけるPtoPディスプレイの構成及び制御イメージを示す図
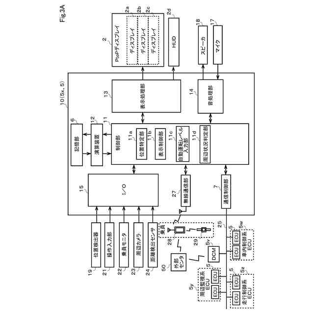
第1実施形態における車両用表示制御システムを概略的に示すブロック図
第1実施形態におけるハードウェア、ソフトウェアの構造の説明図
第1実施形態における処理内容を概略的に示すフローチャート
第1実施形態における報知態様を示す模式図その1
第1実施形態における報知態様を示す模式図その2
第1実施形態における報知態様を示す模式図その3
第1実施形態における報知態様を示す模式図その4
第1実施形態における報知態様を示す模式図その5
第1実施形態における報知態様を示す模式図その6
第1実施形態における報知態様を示す模式図その7
第1実施形態における報知態様を示す模式図その8
第1実施形態における報知態様を示す模式図その9
第1実施形態における報知態様を示す模式図その10
第1実施形態における報知態様を示す模式図その11
第1実施形態における報知態様を示す模式図その12
第1実施形態における報知態様を示す模式図その13
第1実施形態における報知態様を示す模式図その14
第1実施形態における報知態様を示す模式図その15
第1実施形態における報知態様を示す模式図その16
第1実施形態における報知態様を示す模式図その17
第1実施形態における報知態様を示す模式図その18
第1実施形態における報知態様を示す模式図その19
第1実施形態における報知態様を示す模式図その20
第1実施形態における報知態様を示す模式図その21
第1実施形態における報知態様を示す模式図その22
第1実施形態における報知態様を示す模式図その23
第2実施形態におけるコックピットシステムの外観構成図
第3実施形態におけるコックピットシステムの外観構成図
第4実施形態におけるコックピットシステムの外観構成図
第5実施形態におけるコックピットシステムの外観構成図
第6実施形態におけるハードウェア、ソフトウェアの構造の説明図
【発明を実施するための形態】
【0008】
以下、車両用表示制御装置、車両用表示制御システム、車両用表示制御方法、及び車両用表示制御プログラムについての幾つかの実施形態を説明する。各実施形態の間で同一機能を奏する部分については同一符号を付して説明を省略することがある。
【0009】
(第1実施形態)
第1実施形態について図1ないし図27を参照しながら説明する。図1及び図2に示すように、車両用表示制御システム1は、ピラートゥピラーディスプレイ2を備えるコックピットシステム4を用いて構成される。以下、ピラートゥピラーディスプレイ2を、PtoPディスプレイ2と称す。
【0010】
図1及び図2に示すように、表示装置としてのPtoPディスプレイ2は、複数のディスプレイ2a~2cを隣り合わせて横長になるように構成されている。PtoPディスプレイ2の各ディスプレイ2a~2cは、液晶ディスプレイ又は有機ELディスプレイ等により構成され、車両の左ピラーPLと右ピラーPRとの間にかけてダッシュボードに設けられる大型ディスプレイである。PtoPディスプレイ2の表示領域は、少なくとも運転手席前領域に設けられる運転席前(以下、D席前と称す)ディスプレイ2aの表示領域、他の乗員席前領域に設けられる乗員席前(以下、P席前と称す)ディスプレイ2cの表示領域、中間領域に設けられるセンタインフォメーションディスプレイ(CID)2bの表示領域を含む。
(【0011】以降は省略されています)
この特許をJ-PlatPat(特許庁公式サイト)で参照する
関連特許
株式会社デンソーウェーブ
筐体
7日前
株式会社デンソー
車載器
20日前
株式会社デンソー
回転機
7日前
株式会社デンソー
接合体
1か月前
株式会社デンソー
電子装置
14日前
株式会社デンソー
ステータ
20日前
株式会社デンソー
ステータ
20日前
株式会社デンソー
ステータ
1か月前
株式会社デンソー
電子装置
15日前
株式会社デンソー
反力装置
14日前
株式会社デンソー
ねじ部材
20日前
株式会社デンソー
太陽電池
1か月前
株式会社デンソー
検出装置
6日前
株式会社デンソー
ステータ
1か月前
株式会社デンソーエレクトロニクス
発音装置
24日前
株式会社デンソーエレクトロニクス
発音装置
1か月前
株式会社デンソー
電子装置
24日前
株式会社デンソー
農業用装置
16日前
株式会社デンソー
レーダ装置
13日前
株式会社デンソー
半導体装置
20日前
株式会社デンソー
レーダ装置
24日前
株式会社デンソーテン
インバータ
14日前
株式会社デンソー
半導体装置
2日前
株式会社デンソー
熱交換装置
今日
株式会社デンソー
電流センサ
7日前
株式会社デンソー
車載システム
14日前
株式会社デンソー
車載システム
14日前
株式会社デンソー
電力変換装置
28日前
株式会社デンソー
車両制御装置
14日前
株式会社デンソー
フィルタ回路
28日前
株式会社デンソー
運航管理装置
13日前
株式会社デンソー
電圧検出回路
今日
株式会社デンソー
電波吸収装置
24日前
株式会社デンソー
運転支援装置
15日前
株式会社デンソー
衝突予測装置
15日前
株式会社デンソー
電力変換装置
16日前
続きを見る
他の特許を見る