TOP
|
特許
|
意匠
|
商標
特許ウォッチ
Twitter
他の特許を見る
10個以上の画像は省略されています。
公開番号
2025159349
公報種別
公開特許公報(A)
公開日
2025-10-20
出願番号
2025009493
出願日
2025-01-22
発明の名称
端末及び通信方法
出願人
株式会社NTTドコモ
代理人
弁理士法人ITOH
主分類
H04W
72/0453 20230101AFI20251010BHJP(電気通信技術)
要約
【課題】スイッチングパターンを用いたFDDキャリアとSDLキャリアとのスイッチングにおいて適切かつ柔軟なスイッチングギャップを設定する。
【解決手段】端末は、上りリンク通信及び下りリンク通信をサポートする第1のキャリアと下りリンク通信のみをサポートする第2のキャリアとのスイッチングにおけるスイッチングギャップに関する情報を含む端末能力情報を、基地局に送信する送信部と、前記スイッチングギャップに関する情報に基づいて、前記スイッチングギャップに関する情報に基づいて設定されたスイッチングギャップを含むスイッチングパターンを用いて、前記第1のキャリアと前記第2のキャリアとのスイッチングを実行する制御部と、を備える。
【選択図】図5
特許請求の範囲
【請求項1】
上りリンク通信及び下りリンク通信をサポートする第1のキャリアと下りリンク通信のみをサポートする第2のキャリアとのスイッチングにおけるスイッチングギャップに関する情報を含む端末能力情報を、基地局に送信する送信部と、
前記スイッチングギャップに関する情報に基づいて、前記スイッチングギャップに関する情報に基づいて設定されたスイッチングギャップを含むスイッチングパターンを用いて、前記第1のキャリアと前記第2のキャリアとのスイッチングを実行する制御部と、を備える端末。
続きを表示(約 850 文字)
【請求項2】
前記スイッチングギャップに関する情報は、前記スイッチングギャップの必要有無、前記スイッチングギャップの長さ又は前記スイッチングギャップ中の他バンドにおけるインターラプションの有無の少なくとも一つを含む、請求項1に記載の端末。
【請求項3】
前記第1のキャリアから前記第2のキャリアにスイッチングする場合と前記第2のキャリアから前記第1のキャリアにスイッチングする場合とで、前記スイッチングギャップの必要有無、前記スイッチングギャップの長さ又は前記インターラプションの有無を示す設定値は異なる、請求項2に記載の端末。
【請求項4】
前記基地局から、前記スイッチングギャップの位置を示す情報を受信する受信部を備え、
前記スイッチングギャップの位置を示す情報は、前記スイッチングギャップが前記第1のキャリア側又は前記第2のキャリア側のいずれに位置するのかを示す、請求項1に記載の端末。
【請求項5】
前記受信部は、前記基地局により設定された前記スイッチングギャップの長さを示す情報を、前記基地局から受信し、
前記基地局により設定された前記スイッチングギャップの長さは、前記端末能力情報に含まれる前記スイッチングギャップの長さと同じ又はより長い、請求項4に記載の端末。
【請求項6】
端末により実行される通信方法であって、
上りリンク通信及び下りリンク通信をサポートする第1のキャリアと下りリンク通信のみをサポートする第2のキャリアとのスイッチングにおけるスイッチングギャップに関する情報を含む端末能力情報を、基地局に送信するステップと、
前記スイッチングギャップに関する情報に基づいて、前記スイッチングギャップに関する情報に基づいて設定されたスイッチングギャップを含むスイッチングパターンを用いて、前記第1のキャリアと前記第2のキャリアとのスイッチングを実行するステップと、を備える、通信方法。
発明の詳細な説明
【技術分野】
【0001】
本発明は、無線通信システムにおける端末及び通信方法に関する。
続きを表示(約 2,100 文字)
【背景技術】
【0002】
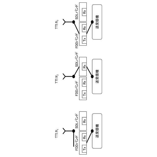
移動通信システムにおいて、低周波数帯 (Low Band)はその優れた伝搬特性により、都市部の屋内トラフィックや郊外・農村部の広範なトラフィック収容において重要な役割を果たしている。しかしながら、従来、800MHz帯のFDD (Frequency Division Duplex)バンド (Band n5) と700MHz帯のSDL (Supplemental DownLink)バンド (Band n29) のような低周波数同士のキャリアアグリゲーション (CA (Carrier Aggregation))は、端末の送受信回路設計や制御の複雑性のため実現されていなかった。
【0003】
3GPP(登録商標)(3rd Generation Partnership Project)では、端末の実装の複雑性を解消し、低周波数帯でのキャリアアグリゲーション (LBCA)を実現するために、Semi-static(半静的)スイッチングパターンを用いて、FDDキャリアとSDLキャリアとを時分割スイッチングする方法が検討されている。Semi-staticスイッチングパターンを用いたFDDキャリアとSDLキャリアとのスイッチングにおいて、適切なスイッチングギャップを設定することが求められる。
【先行技術文献】
【非特許文献】
【0004】
3GPP TS 38.300 V18.4.0(2024-12)
3GPP TS 38.401 V18.4.0(2024-12)
【発明の概要】
【発明が解決しようとする課題】
【0005】
しかしながら、このようなFDDキャリアとSDLキャリアとのスイッチングにおけるスイッチングギャップをどのように設定すべきか規定されていない。その結果、適切なスイッチングギャップが確保されない場合、通信品質が低下したり、遅延が増大したりする可能性がある。
【課題を解決するための手段】
【0006】
本実施形態における端末は、上りリンク通信及び下りリンク通信をサポートする第1のキャリアと下りリンク通信のみをサポートする第2のキャリアとのスイッチングにおけるスイッチングギャップに関する情報を含む端末能力情報を、基地局に送信する送信部と、前記スイッチングギャップに関する情報に基づいて、前記スイッチングギャップに関する情報に基づいて設定されたスイッチングギャップを含むスイッチングパターンを用いて、前記第1のキャリアと前記第2のキャリアとのスイッチングを実行する制御部と、を備える。
【発明の効果】
【0007】
本実施形態によれば、スイッチングパターンを用いたFDDキャリアとSDLキャリアとのスイッチングにおいて適切かつ柔軟なスイッチングギャップの設定を可能とする。
【図面の簡単な説明】
【0008】
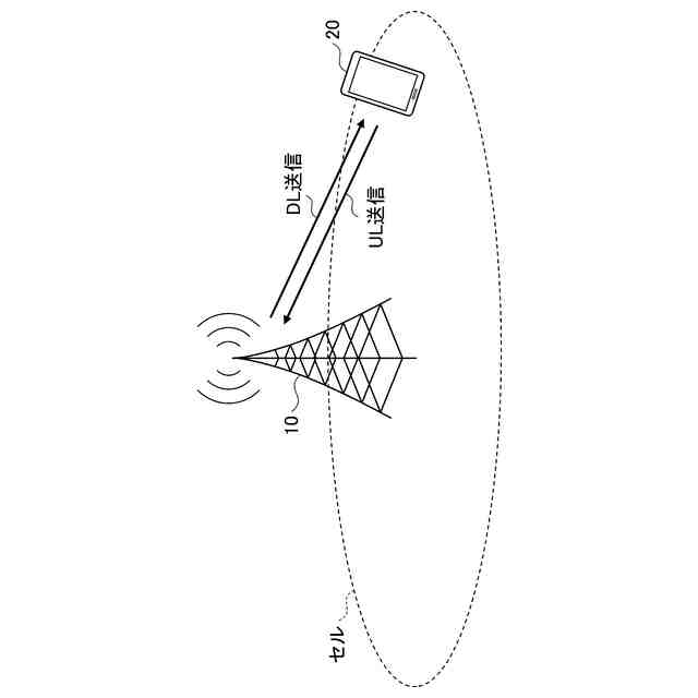
本実施形態における無線通信システムを説明するための図である。
FDDバンドとSDLバンドとのスイッチングの動作の一例を示す図である。
本実施形態における端末の動作の一例を示す図である。
実施例1における端末及び基地局の動作の一例を示す図である。
実施例1におけるSemi-staticスイッチングパターン及びスイッチングギャップの一例を示す図である。
実施例2における端末及び基地局の動作の一例を示す図である。
実施例2におけるSemi-staticスイッチングパターン及びスイッチングギャップの一例を示す図である。
実施例2におけるSemi-staticスイッチングパターン及びスイッチングギャップの一例を示す図である。
実施例2におけるSemi-staticスイッチングパターン及びスイッチングギャップの一例を示す図である。
本実施形態における基地局の機能構成の一例を示す図である。
本実施形態における端末の機能構成の一例を示す図である。
本実施形態における基地局又は端末のハードウェア構成の一例を示す図である。
本実施形態における車両の構成の一例を示す図である。
【発明を実施するための形態】
【0009】
以下、図面を参照して本実施形態を説明する。なお、以下で説明する実施の形態は一例であり、本発明が適用される実施の形態は、以下の実施の形態に限られない。
【0010】
本実施形態の無線通信システムは、既存技術を用いて動作する。既存技術は、例えば、3GPP規格のような通信規格に基づく無線通信技術である。既存技術は、例えばNR(New Radio)であるが、既存のNRに限られない。本明細書で使用する用語「NR」は、特に断らない限り、NR(5G)以降の方式(例えば、6G)を含む広い意味を有するものとする。
(【0011】以降は省略されています)
特許ウォッチbot のツイートを見る
この特許をJ-PlatPat(特許庁公式サイト)で参照する
関連特許
株式会社NTTドコモ
情報処理装置
1日前
株式会社NTTドコモ
端末及び通信方法
5日前
株式会社NTTドコモ
無線通信ノード、および、無線通信方法
1日前
個人
イヤーマフ
5日前
個人
監視カメラシステム
14日前
キーコム株式会社
光伝送線路
15日前
サクサ株式会社
中継装置
20日前
WHISMR合同会社
収音装置
1か月前
サクサ株式会社
中継装置
21日前
個人
スキャン式車載用撮像装置
14日前
キヤノン株式会社
撮像装置
2か月前
アイホン株式会社
電気機器
1か月前
キヤノン電子株式会社
画像読取装置
1か月前
サクサ株式会社
無線通信装置
20日前
キヤノン電子株式会社
画像読取装置
13日前
株式会社リコー
画像形成装置
2か月前
株式会社リコー
画像形成装置
7日前
株式会社リコー
画像形成装置
1か月前
サクサ株式会社
無線通信装置
20日前
個人
ワイヤレスイヤホン対応耳掛け
1か月前
サクサ株式会社
無線システム
19日前
個人
映像表示装置、及びARグラス
今日
株式会社リコー
画像形成装置
2か月前
日本電気株式会社
海底分岐装置
15日前
個人
発信機及び発信方法
19日前
ブラザー工業株式会社
読取装置
2か月前
株式会社ニコン
撮像装置
3か月前
キヤノン株式会社
撮像システム
1か月前
パテントフレア株式会社
水中電波通信法
2か月前
キヤノン電子株式会社
シート材搬送装置
2か月前
沖電気工業株式会社
画像形成装置
1か月前
沖電気工業株式会社
画像形成装置
22日前
DXO株式会社
情報処理システム
2か月前
国立大学法人電気通信大学
小型光学装置
2か月前
シャープ株式会社
端末装置
12日前
キヤノン電子株式会社
画像処理システム
13日前
続きを見る
他の特許を見る