TOP
|
特許
|
意匠
|
商標
特許ウォッチ
Twitter
他の特許を見る
公開番号
2025163131
公報種別
公開特許公報(A)
公開日
2025-10-28
出願番号
2025128373,2023512561
出願日
2025-07-31,2021-04-06
発明の名称
無線通信ノード、および、無線通信方法
出願人
株式会社NTTドコモ
代理人
個人
,
個人
,
個人
主分類
H04W
76/15 20180101AFI20251021BHJP(電気通信技術)
要約
【課題】無線アクセスと無線バックホールとを設定する無線通信ノード及び無線通信方法を提供する。
【解決手段】無線通信システムにおいて、無線通信ノード(100B)は、下位ノードとの無線リンクに割り当てられるリソースの種類を示すリソース情報をネットワークから受信し、当該リソース情報に基づいて無線リンクを設定し、時間方向における時間リソースの種類と、少なくとも一部の時間リソースについて、周波数方向における周波数リソースの種類とを示すリソース情報または時間方向における位置と周波数方向における位置との組み合わせ毎のリソースの種類を少なくとも一部の時間リソースについて示すリソース情報を受信する。
【選択図】図6
特許請求の範囲
【請求項1】
下位ノードとの無線リンクに割り当てられるリソースの種類を示すリソース情報を中央装置から受信する受信部と、
前記リソース情報に基づいて前記無線リンクを設定する制御部とを備え、
前記制御部は、スロットの各シンボルに対して、リソースタイプを示す周波数領域の前記リソース情報に基づく設定を適用する無線通信ノード。
続きを表示(約 500 文字)
【請求項2】
前記制御部は、前記無線通信ノードが前記スロットにおける同時送受信を実行する場合、前記設定を適用する請求項1に記載の無線通信ノード。
【請求項3】
前記リソース情報は、対応する時間リソースが子ノードと接続されるDU child link用として常に利用可能な無線リソースであることを示す「Hard」、対応する時間リソースのDU child link用としての利用可否が親ノードによって明示的または暗黙的に制御される無線リソースであることを示す「Soft」、或いは利用不可な無線リソースであることを示す「NA」の何れかのリソースタイプであるかを明示的に示す請求項1に記載の無線通信ノード。
【請求項4】
下位ノードとの無線リンクに割り当てられるリソースの種類を示すリソース情報を中央装置から受信する受信ステップと、
前記リソース情報に基づいて前記無線リンクを設定する制御ステップとを含み、
前記制御ステップでは、スロットの各シンボルに対して、リソースタイプを示す周波数領域の前記リソース情報に基づく設定を適用する無線通信方法。
発明の詳細な説明
【技術分野】
【0001】
本開示は、無線アクセスと無線バックホールとを設定する無線通信ノードに関する。
続きを表示(約 1,800 文字)
【背景技術】
【0002】
3rd Generation Partnership Project(3GPP)は、5th generation mobile communication system(5G、New Radio(NR)またはNext Generation(NG)とも呼ばれる)を仕様化し、さらに、Beyond 5G、5G Evolution或いは6Gと呼ばれる次世代の仕様化も進めている。
【0003】
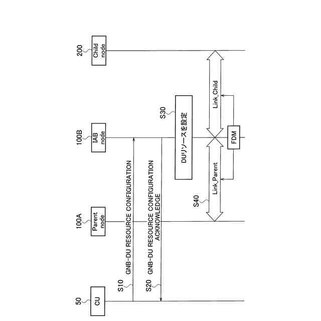
例えば、NRの無線アクセスネットワーク(RAN)では、端末(User Equipment, UE)への無線アクセスと、無線基地局(gNB)などの無線通信ノード間の無線バックホールとが統合されたIntegrated Access and Backhaul(IAB)が規定されている(非特許文献1参照)。
【0004】
IABでは、IABノードは、親ノード(IABドナーと呼ばれてもよい)と接続するための機能であるMobile Termination(MT)と、子ノードまたはUEと接続するための機能であるDistributed Unit(DU)とを有する。
【0005】
3GPPのRelease 17では、親ノード~IABノード間の無線リンク(Link_parent)、つまり、MTと、IABノード~子ノード間の無線リンク(Link_child)、つまり、DUとにおいて、周波数分割多重(FDM)を用いた同時送受信をサポートすることが予定されている。
【先行技術文献】
【非特許文献】
【0006】
3GPP TS 38.213 V16.1.0, 3rd Generation Partnership Project; Technical Specification Group Radio Access Network; NR; Physical layer procedures for control (Release 16)、3GPP、2020年3月
【発明の概要】
【0007】
FDMを用いたMT及びDUにおける同時送受信を実現するために、ネットワークから、時間方向および周波数方向におけるリソースの種類(Hard/Soft/NA(Not Available)など)を示すリソース情報をIABノードへ送信する等を規定することが考えられ得るが、TDM(時間分割多重)とFDMが共存する場合、従前の仕様でサポートされない場合の対処など、後方互換性の問題等をクリアする必要がある。
【0008】
そこで、以下の開示は、このような状況に鑑みてなされたものであり、MTとDUとにおいて、TDMと共存する場合であってもFDMを用いた適切な同時送受信を実行し得る無線通信ノードの提供を目的とする。
【0009】
本開示の一態様は、下位ノードとの無線リンクに割り当てられるリソースの種類を示すリソース情報をネットワークから受信する受信部(無線受信部162)と、前記リソース情報に基づいて前記無線リンクを設定する制御部(制御部190)とを備え、前記受信部は、時間方向における時間リソースの種類と、少なくとも一部の時間リソースについての、周波数方向における周波数リソースの種類とを示す前記リソース情報、または、時間方向における位置と周波数方向における位置との組み合わせ毎の前記リソースの種類を、少なくとも一部の時間リソースについて示す前記リソース情報を受信する無線通信ノード(無線通信ノード100B)である。
【0010】
本開示の一態様は、下位ノードとの無線リンクに割り当てられるリソースの種類を示すリソース情報をネットワークから受信する受信部(無線受信部162と、前記リソース情報に基づいて前記無線リンクを設定する制御部(制御部190)とを備え、前記受信部は、時間方向における時間リソースの種類と、少なくとも一部の時間リソースについての、周波数方向における周波数リソースの種類とを示す前記リソース情報、または、時間方向における位置と周波数方向における位置との組み合わせ毎の前記リソースの種類を、少なくとも一部の時間リソースについて示す前記リソース情報を受信する無線通信ノード(無線通信ノード100B)である。
【図面の簡単な説明】
(【0011】以降は省略されています)
特許ウォッチbot のツイートを見る
この特許をJ-PlatPat(特許庁公式サイト)で参照する
関連特許
個人
イヤーマフ
8日前
個人
監視カメラシステム
17日前
キーコム株式会社
光伝送線路
18日前
個人
スイッチシステム
2日前
WHISMR合同会社
収音装置
1か月前
サクサ株式会社
中継装置
23日前
サクサ株式会社
中継装置
24日前
個人
スキャン式車載用撮像装置
17日前
アイホン株式会社
電気機器
1か月前
キヤノン株式会社
撮像装置
2か月前
サクサ株式会社
無線通信装置
23日前
個人
映像表示装置、及びARグラス
3日前
個人
ワイヤレスイヤホン対応耳掛け
1か月前
サクサ株式会社
無線通信装置
23日前
キヤノン電子株式会社
画像読取装置
1か月前
株式会社リコー
画像形成装置
2か月前
キヤノン電子株式会社
画像読取装置
2日前
ヤマハ株式会社
放音制御装置
2日前
株式会社リコー
画像形成装置
10日前
キヤノン電子株式会社
画像読取装置
16日前
サクサ株式会社
無線システム
22日前
株式会社リコー
画像形成装置
2か月前
株式会社リコー
画像形成装置
2か月前
個人
発信機及び発信方法
22日前
ブラザー工業株式会社
読取装置
2か月前
日本電気株式会社
海底分岐装置
18日前
キヤノン株式会社
撮像システム
1か月前
パテントフレア株式会社
超高速電波通信
1か月前
国立大学法人電気通信大学
小型光学装置
2か月前
沖電気工業株式会社
画像形成装置
1か月前
沖電気工業株式会社
画像形成装置
25日前
キヤノン電子株式会社
画像処理システム
16日前
株式会社NTTドコモ
端末
18日前
株式会社小糸製作所
画像照射装置
2か月前
シャープ株式会社
端末装置
15日前
株式会社NTTドコモ
端末
18日前
続きを見る
他の特許を見る