TOP
|
特許
|
意匠
|
商標
特許ウォッチ
Twitter
他の特許を見る
公開番号
2025159990
公報種別
公開特許公報(A)
公開日
2025-10-22
出願番号
2024062916
出願日
2024-04-09
発明の名称
車両側部構造
出願人
トヨタ自動車株式会社
代理人
弁理士法人太陽国際特許事務所
主分類
B62D
25/20 20060101AFI20251015BHJP(鉄道以外の路面車両)
要約
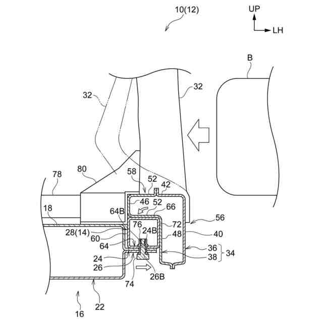
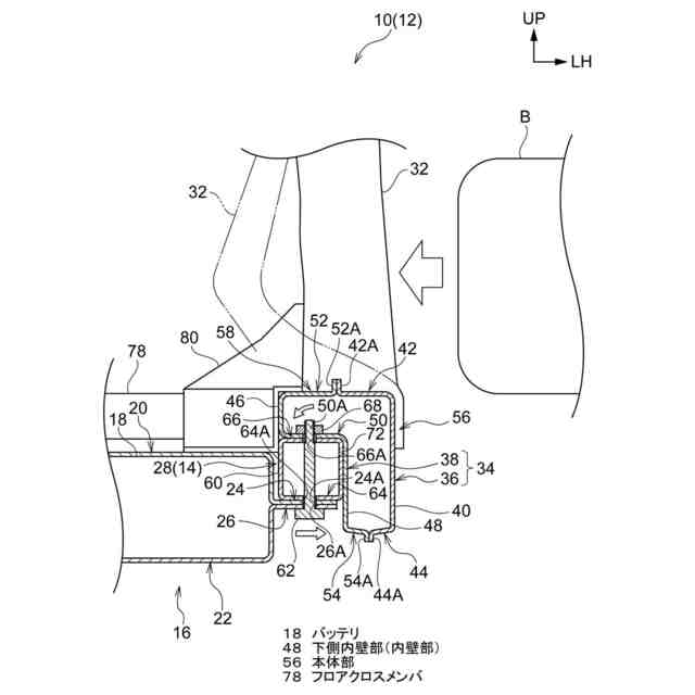
【課題】車両の側面衝突時にピラーの車両幅方向内側への倒れ込みを抑制して車室を保護することができる車両側部構造を得る。
【解決手段】車両側部構造は、車両側部10において車両上下方向に延在するピラー32と、ピラー32の下方において車両前後方向に延在すると共に当該ピラー32に接続され、本体部56と、当該本体部56の上部から車両幅方向内側に延出された延出部58と、を含んで構成されたロッカ34と、本体部56の車両幅方向内側かつ延出部58の車両下方側に配置された骨格部材28と、を有する。
【選択図】図3
特許請求の範囲
【請求項1】
車両側部において車両上下方向に延在するピラーと、
前記ピラーの下方において車両前後方向に延在すると共に当該ピラーに接続され、本体部と、当該本体部の上部から車両幅方向内側に延出された延出部と、を含んで構成されたロッカと、
前記本体部の車両幅方向内側かつ前記延出部の車両下方側に配置された骨格部材と、
を有する車両側部構造。
続きを表示(約 860 文字)
【請求項2】
前記骨格部材は車両前後方向に延在するバッテリサイドフレームであり、
前記延出部は、前記バッテリサイドフレームの車両幅方向中央よりも車両幅方向内側まで延在している、
請求項1に記載の車両側部構造。
【請求項3】
前記ロッカは、前記本体部と前記延出部とによって、閉断面構造とされている、
請求項1に記載の車両側部構造。
【請求項4】
前記バッテリサイドフレームは、前記延出部の車両下方側に固定されている、
請求項2に記載の車両側部構造。
【請求項5】
前記バッテリサイドフレームは、前記本体部の車両幅方向内側に固定されている、
請求項2に記載の車両側部構造。
【請求項6】
前記バッテリサイドフレームは、車両下部に配設されかつバッテリを収容するバッテリケースに固定されている、
請求項2に記載の車両側部構造。
【請求項7】
前記バッテリケースは、車両幅方向に延出されたフランジ部を備えており、当該フランジ部において前記バッテリサイドフレームの車両下方側に固定されている、
請求項6に記載の車両側部構造。
【請求項8】
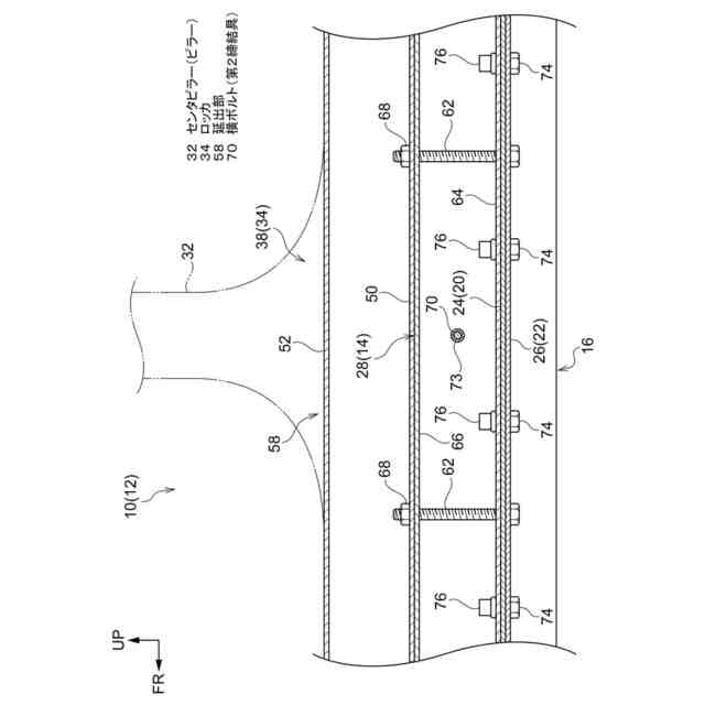
前記延出部、前記バッテリサイドフレーム及び前記フランジ部は、前記バッテリサイドフレームを貫通する第1締結具によって車両上下方向に共締めされている、
請求項7に記載の車両側部構造。
【請求項9】
前記本体部における車両幅方向内側に位置する内壁部が前記バッテリサイドフレームにおける車両幅方向外側に位置する外壁部に第2締結具によって車両幅方向に締結されている、
請求項8に記載の車両側部構造。
【請求項10】
前記第1締結具と前記第2締結具は、車両前後方向において交互に等間隔に複数配置されている、
請求項9に記載の車両側部構造。
(【請求項11】以降は省略されています)
発明の詳細な説明
【技術分野】
【0001】
本発明は、車両側部構造に関する。
続きを表示(約 1,400 文字)
【背景技術】
【0002】
下記特許文献1には、フロアケースの下面に配置されたフロアメンバに、バッテリフレームを結合し、当該バッテリフレーム上にバッテリを搭載して、バッテリをフロアケースとバッテリフレームとの間に格納した車体フロア構造が開示されている。
【0003】
この技術では、サイドシル(ロッカ)は、フロアメンバにおいて車両前後方向に延在するサイドメンバの外側に配置されている。サイドシル(ロッカ)には、ピラーが立設されている。サイドメンバと、サイドシル(ロッカ)におけるピラー結合部近傍部位とは、アウトリガによって車両幅方向に連結されている。アウトリガは、車両の側面衝突時の衝突エネルギを吸収するために、ピラーが車両幅方向内側へ倒れ込んだ際にスムーズに圧潰変形されるようになっている。
【先行技術文献】
【特許文献】
【0004】
特開平07-117726号公報
【発明の概要】
【発明が解決しようとする課題】
【0005】
しかしながら、上記技術では、車両の側面衝突時にピラーの車両幅方向内側への倒れ込みを抑制して車室を保護するには改善の余地がある。
【0006】
本発明は上記事実を考慮し、車両の側面衝突時にピラーの車両幅方向内側への倒れ込みを抑制して車室を保護することができる車両側部構造を得ることを目的とする。
【課題を解決するための手段】
【0007】
第1の態様に係る車両側部構造は、車両側部において車両上下方向に延在するピラーと、前記ピラーの下方において車両前後方向に延在すると共に当該ピラーに接続され、本体部と、当該本体部の上部から車両幅方向内側に延出された延出部と、を含んで構成されたロッカと、前記本体部の車両幅方向内側かつ前記延出部の車両下方側に配置された骨格部材と、を有している。
【0008】
第1の態様に係る車両側部構造によれば、車両の側面衝突時(以下、「側突時」と称す。)には、ロッカの車両上方側においてピラーに荷重が入力される。このとき、ピラーに接続されたロッカには、車両前後方向を軸方向として車両幅方向内側へ倒れ込む向きにモーメントが発生する。ここで、ロッカの延出部の車両下方側には、骨格部材が配置されている。よって、延出部が骨格部材から上向きの反力を受けることにより、ロッカの車両幅方向内側への倒れ込みが抑制される。
【0009】
また、ロッカは、本体部と延出部とを備えており、骨格部材の車両上方側から車両幅方向外側にかかるように配置されている。当該配置によって、車両の側突時にロッカに発生するモーメントの回転軸は、ロッカが骨格部材の車両上方側のみに配置されている場合と比較して、車両下方側に位置することになる。これにより、ロッカから骨格部材へ入力される荷重は、斜め下方側(車両下方側かつ車両幅方向内側)へ向かって入力される。そうすると、骨格部材にも車両前後方向を軸方向とするモーメントが発生しやすくなる。よって、骨格部材のねじり剛性を活かしてロッカの車両幅方向内側への倒れ込みを抑制することができる。
【0010】
第2の態様に係る車両側部構造は、第1の態様において、前記骨格部材はバッテリサイドフレームであり、前記延出部は、前記バッテリサイドフレームの車両幅方向中央よりも車両幅方向内側まで延在している。
(【0011】以降は省略されています)
この特許をJ-PlatPat(特許庁公式サイト)で参照する
関連特許
トヨタ自動車株式会社
方法
9日前
トヨタ自動車株式会社
車両
今日
トヨタ自動車株式会社
車両
13日前
トヨタ自動車株式会社
車両
6日前
トヨタ自動車株式会社
電池
6日前
トヨタ自動車株式会社
車両
8日前
トヨタ自動車株式会社
方法
今日
トヨタ自動車株式会社
方法
今日
トヨタ自動車株式会社
車両
1日前
トヨタ自動車株式会社
椅子
9日前
トヨタ自動車株式会社
方法
9日前
トヨタ自動車株式会社
方法
1日前
トヨタ自動車株式会社
車体
2日前
トヨタ自動車株式会社
電磁弁
9日前
トヨタ自動車株式会社
モータ
1日前
トヨタ自動車株式会社
自動車
今日
トヨタ自動車株式会社
モータ
7日前
トヨタ自動車株式会社
電動車
9日前
トヨタ自動車株式会社
飛行体
6日前
トヨタ自動車株式会社
車両構造
13日前
トヨタ自動車株式会社
冷却構造
1日前
トヨタ自動車株式会社
充電装置
1日前
トヨタ自動車株式会社
乾燥装置
6日前
トヨタ自動車株式会社
製造方法
6日前
トヨタ自動車株式会社
電源装置
6日前
トヨタ自動車株式会社
蓄電装置
2日前
トヨタ自動車株式会社
燃料電池
1日前
トヨタ自動車株式会社
充電設備
6日前
トヨタ自動車株式会社
駆動装置
6日前
トヨタ自動車株式会社
報知装置
1日前
トヨタ自動車株式会社
蓄電装置
今日
トヨタ自動車株式会社
制御装置
13日前
トヨタ自動車株式会社
搬送装置
6日前
トヨタ自動車株式会社
電動車両
7日前
トヨタ自動車株式会社
駆動装置
今日
トヨタ自動車株式会社
コネクタ
今日
続きを見る
他の特許を見る