TOP
|
特許
|
意匠
|
商標
特許ウォッチ
Twitter
他の特許を見る
10個以上の画像は省略されています。
公開番号
2025158291
公報種別
公開特許公報(A)
公開日
2025-10-17
出願番号
2024060686
出願日
2024-04-04
発明の名称
搬送装置
出願人
トヨタ自動車株式会社
代理人
弁理士法人明成国際特許事務所
主分類
B65G
17/20 20060101AFI20251009BHJP(運搬;包装;貯蔵;薄板状または線条材料の取扱い)
要約
【課題】搬送装置を小型化できる技術を提供する。
【解決手段】物体を搬送する搬送装置は、物体を搬送するときに物体を保持する保持部を有するカセットと、第1場所において物体を保持したカセットを第2場所に向けて搬送方向に搬送する搬送レーンと、第2場所において物体が取り外されたカセットを第1場所に向けて反対の搬送方向に返送する返送レーンと、を備え、返送レーンは、搬送レーンの裏面側に搬送レーンと対向して配置され、カセットは、さらに、折り畳み可能な可変部を有する。
【選択図】図1
特許請求の範囲
【請求項1】
物体を搬送する搬送装置であって、
前記物体を搬送するときに前記物体を保持する保持部を有するカセットと、
第1場所において前記物体を保持した前記カセットを第2場所に向けて搬送方向に搬送する搬送レーンと、
前記第2場所において前記物体が取り外された前記カセットを前記第1場所に向けて前記搬送方向とは反対の搬送方向に返送する返送レーンと、を備え、
前記返送レーンは、前記搬送レーンの裏面側に前記搬送レーンと対向して配置され、
前記カセットは、さらに、折り畳み可能な可変部を有する、搬送装置。
続きを表示(約 1,200 文字)
【請求項2】
請求項1に記載の搬送装置であって、
前記カセットは、
前記搬送方向に沿った方向と、前記搬送レーンと前記返送レーンとが対向する対向方向と、に直交する配列方向に沿って配置される複数の搬送ユニットと、
前記複数の搬送ユニットを支持する支持部と、
前記支持部に接続され、前記搬送レーンおよび前記返送レーンに取り付けられるベース部と、を有し、
前記複数の搬送ユニットはそれぞれ、前記可変部と、前記保持部と、を有する、搬送装置。
【請求項3】
請求項1に記載の搬送装置であって、さらに、
前記第2場所に配置され、展開された前記可変部を折り畳むために用いられる操作部を備え、
前記操作部は、
操作側軸部と、
前記操作側軸部の一端に接続される操作側回転部であって、前記操作側軸部の軸方向において前記操作側軸部とは反対側に、前記操作側軸部の軸線と平行に突出する突出部を有する操作側回転部と、
前記操作側軸部の他端に接続されるピニオンと、
前記ピニオンと嵌合するラックと、
前記ラックを前記ピニオンの回転方向に沿って移動させるシフト部と、を有し、
前記カセットは、さらに、
前記操作部によって操作される被操作部を有し、
前記被操作部は、
前記操作側軸部の前記軸方向に沿って延びるカセット側軸部と、
前記軸方向に沿って前記操作側回転部と対向するように、前記カセット側軸部に接続されるカセット側回転部であって、前記突出部と嵌合する嵌合部を有することで、前記操作側回転部の回転に応じて回転するカセット側回転部と、有し、
前記可変部は、
前記カセット側回転部の回転に応じて、前記カセット側軸部の軸線回りに回転可能に取り付けられた関節部を有する、搬送装置。
【請求項4】
請求項1に記載の搬送装置であって、
前記カセットは、さらに、
折り畳まれた状態と展開された状態とのいずれか一方の状態に前記可変部を維持するためのロック部を有し、
前記ロック部は、
前記可変部の動きを規制するアンチバックと、
前記アンチバックを付勢する付勢部材と、を有する、搬送装置。
【請求項5】
請求項4に記載の搬送装置であって、
前記返送レーンは、前記搬送レーンよりも重力方向における上側に位置し、
前記ロック部は、さらに、前記アンチバックに接続され、前記付勢部材の付勢力に応じて、前記付勢部材の付勢方向に沿って移動することで、前記アンチバックを移動させる移動軸部を有し、
前記搬送装置は、さらに、前記第1場所に配置され、折り畳まれた前記可変部を展開するために用いられるガイド部を備え、
前記ガイド部は、前記移動軸部に接続された被ガイド部と接触したときに、前記付勢方向とは反対方向に前記移動軸部を移動させるガイド面を有する、搬送装置。
発明の詳細な説明
【技術分野】
【0001】
本開示は、搬送装置に関する。
続きを表示(約 3,300 文字)
【背景技術】
【0002】
従来、物体の搬送方向において離間して配置された2つのローラに無端連鎖部材を巻きかけた搬送装置が知られている(特許文献1)。この搬送装置では、物体を引っかける搬送フックが無端連鎖部材の外側に取り付けられている。
【先行技術文献】
【特許文献】
【0003】
特開2019-185913号公報
【発明の概要】
【発明が解決しようとする課題】
【0004】
従来の技術では、物体を引っかけた搬送フックを搬送するときと、物体が取り外された搬送フックを返送するときと、のいずれにおいても、搬送フックの形状が同じである。よって、搬送装置の小型化に改善の余地がある。
【課題を解決するための手段】
【0005】
本開示は、以下の形態として実現することが可能である。
【0006】
(1)本開示の一形態によれば、搬送装置が提供される。物体を搬送する搬送装置は、前記物体を搬送するときに前記物体を保持する保持部を有するカセットと、第1場所において前記物体を保持した前記カセットを第2場所に向けて搬送方向に搬送する搬送レーンと、前記第2場所において前記物体が取り外された前記カセットを前記第1場所に向けて前記搬送方向とは反対の搬送方向に返送する返送レーンと、を備え、前記返送レーンは、前記搬送レーンの裏面側に前記搬送レーンと対向して配置され、前記カセットは、さらに、折り畳み可能な可変部を有する。この形態によれば、搬送装置は、カセットを搬送するときと、カセットを返送するときと、の少なくとも一方において可変部を折り畳むことで、カセットを小型化できる。
(2)上記形態であって、前記カセットは、前記搬送方向に沿った方向と、前記搬送レーンと前記返送レーンとが対向する対向方向と、に直交する配列方向に沿って配置される複数の搬送ユニットと、前記複数の搬送ユニットを支持する支持部と、前記支持部に接続され、前記搬送レーンおよび前記返送レーンに取り付けられるベース部と、を有し、前記複数の搬送ユニットはそれぞれ、前記可変部と、前記保持部と、を有してもよい。この形態によれば、搬送装置は、1つのカセットに複数の物体を保持させて搬送できる。
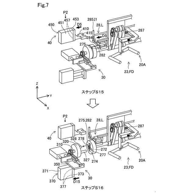
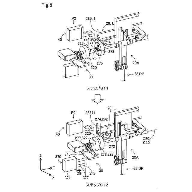
(3)上記形態であって、さらに、前記第2場所に配置され、展開された前記可変部を折り畳むために用いられる操作部を備え、前記操作部は、操作側軸部と、前記操作側軸部の一端に接続される操作側回転部であって、前記操作側軸部の軸方向において前記操作側軸部とは反対側に、前記操作側軸部の軸線と平行に突出する突出部を有する操作側回転部と、前記操作側軸部の他端に接続されるピニオンと、前記ピニオンと嵌合するラックと、前記ラックを前記ピニオンの回転方向に沿って移動させるシフト部と、を有し、前記カセットは、さらに、前記操作部によって操作される被操作部を有し、前記被操作部は、前記操作側軸部の前記軸方向に沿って延びるカセット側軸部と、前記軸方向に沿って前記操作側回転部と対向するように、前記カセット側軸部に接続されるカセット側回転部であって、前記突出部と嵌合する嵌合部を有することで、前記操作側回転部の回転に応じて回転するカセット側回転部と、有し、前記可変部は、前記カセット側回転部の回転に応じて、前記カセット側軸部の軸線回りに回転可能に取り付けられた関節部を有してもよい。この形態によれば、搬送装置は、操作部の操作によりカセット側回転部を回転させることで、関節部を回転させて、可変部を折り畳むことができる。
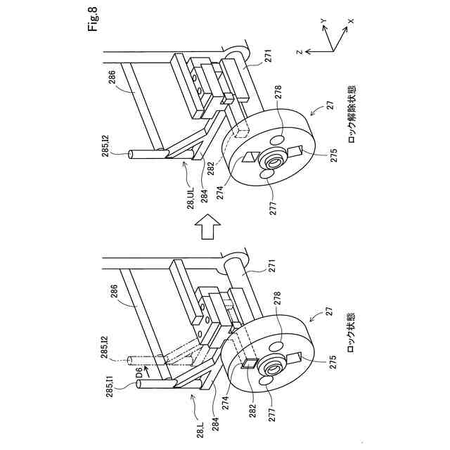
(4)上記形態であって、前記カセットは、さらに、折り畳まれた状態と展開された状態とのいずれか一方の状態に前記可変部を維持するためのロック部を有し、前記ロック部は、前記可変部の動きを規制するアンチバックと、前記アンチバックを付勢する付勢部材と、を有してもよい。この形態によれば、搬送装置は、ロック部を用いて、可変部を折り畳まれた状態と展開された状態とのいずれか一方の状態に維持できる。
(5)上記形態であって、前記返送レーンは、前記搬送レーンよりも重力方向における上側に位置し、前記ロック部は、さらに、前記アンチバックに接続され、前記付勢部材の付勢力に応じて、前記付勢部材の付勢方向に沿って移動することで、前記アンチバックを移動させる移動軸部を有し、前記搬送装置は、さらに、前記第1場所に配置され、折り畳まれた前記可変部を展開するために用いられるガイド部を備え、前記ガイド部は、前記移動軸部に接続された被ガイド部と接触したときに、前記付勢方向とは反対方向に前記移動軸部を移動させるガイド面を有してもよい。この形態によれば、搬送装置は、可変部を展開する過程において、ロック部が可変部の展開動作の妨げとなることを回避できる。そして、搬送装置は、搬送レーンと返送レーンとの重力方向における高低差を利用して、自重により可変部を展開できる。
本開示は、上記の搬送装置以外の種々の形態で実現することが可能である。例えば、物体の搬送方法、搬送装置の製造方法、搬送装置の制御方法、その制御方法を実現するコンピュータプログラム、そのコンピュータプログラムを記録した一時的でない記録媒体等の形態で実現することができる。
【図面の簡単な説明】
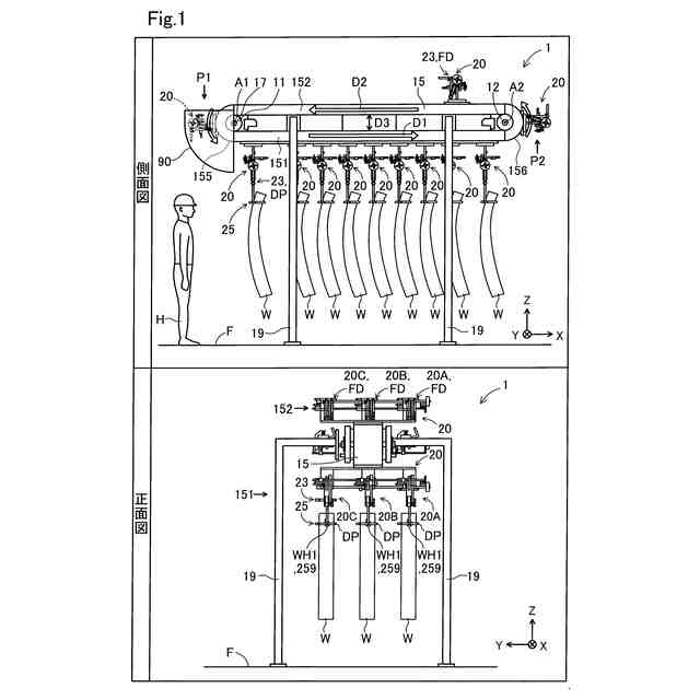
【0007】
実施形態における搬送装置の構成を示す図。
第2場所周辺の搬送装置の詳細構成を示す図。
第1場所周辺の搬送装置の詳細構成を示す図。
実施形態におけるカセットの構成を示す図。
可変部の折り畳み方法を示す第1図。
可変部の折り畳み方法を示す第2図。
可変部の折り畳み方法を示す第3図。
ロック状態とロック解除状態との差異を示す図。
カセット側回転部の回転に伴う可変部の動作を説明するための第1図。
カセット側回転部の回転に伴う可変部の動作を説明するための第2図。
可変部の展開方法を示す第1図。
可変部の展開方法を示す第2図。
他の実施形態におけるカセットの構成を示す図。
他の実施形態における保持部の構成を示す第1図。
他の実施形態における保持部の構成を示す第2図。
他の実施形態における搬送装置の構成を示す図。
【発明を実施するための形態】
【0008】
A.実施形態:
図1は、搬送装置1の構成を示す図である。搬送装置1は、物体Wを搬送する。側面図に示すように、物体Wは、第1場所P1において、展開された状態DPのカセット20に保持される。物体Wを保持したカセット20は、第1場所P1から第2場所P2に向かう第1搬送方向D1に搬送される。物体Wは、第2場所P2において、カセット20から取り外される。物体Wが取り外されたカセット20は、第2場所P2において折り畳まれる。折り畳まれた状態FDのカセット20は、第2場所P2から第1場所P1に向かう第2搬送方向D2に返送される。返送されたカセット20は、第1場所P1において展開される。
【0009】
搬送装置1は、2つのローラ11,12と、無端連鎖部材15と、駆動装置17と、支柱19と、複数のカセット20とを備える。搬送装置1は、循環式搬送装置である。
【0010】
ローラ11,12は、回転することで無端連鎖部材15を移動させる。第1ローラ11は、第1回転軸A1を中心として回転する。第2ローラ12は、第2回転軸A2を中心として回転する。第1回転軸A1と第2回転軸A2とは平行である。第1ローラ11と第2ローラ12とは、カセット20の搬送方向D1,D2に沿った方向において離間して配置される。第1ローラ11は、第1場所P1に配置される。第2ローラ12は、第2場所P2に配置される。
(【0011】以降は省略されています)
この特許をJ-PlatPat(特許庁公式サイト)で参照する
関連特許
トヨタ自動車株式会社
電池
1日前
トヨタ自動車株式会社
車両
3日前
トヨタ自動車株式会社
方法
4日前
トヨタ自動車株式会社
方法
4日前
トヨタ自動車株式会社
車両
15日前
トヨタ自動車株式会社
電池
10日前
トヨタ自動車株式会社
車両
1日前
トヨタ自動車株式会社
車両
15日前
トヨタ自動車株式会社
車両
9日前
トヨタ自動車株式会社
電池
11日前
トヨタ自動車株式会社
椅子
4日前
トヨタ自動車株式会社
車両
8日前
トヨタ自動車株式会社
電動車
15日前
トヨタ自動車株式会社
電動車
15日前
トヨタ自動車株式会社
ケース
10日前
トヨタ自動車株式会社
電動車
11日前
トヨタ自動車株式会社
電解液
15日前
トヨタ自動車株式会社
電動車
4日前
トヨタ自動車株式会社
電磁弁
4日前
トヨタ自動車株式会社
飛行体
1日前
トヨタ自動車株式会社
モータ
2日前
トヨタ自動車株式会社
固定子
9日前
トヨタ自動車株式会社
回転子
15日前
トヨタ自動車株式会社
加熱器
8日前
トヨタ自動車株式会社
電動車
15日前
トヨタ自動車株式会社
駆動装置
15日前
トヨタ自動車株式会社
バッテリ
9日前
トヨタ自動車株式会社
駆動装置
1日前
トヨタ自動車株式会社
製造装置
9日前
トヨタ自動車株式会社
監視装置
9日前
トヨタ自動車株式会社
搬送装置
1日前
トヨタ自動車株式会社
判定装置
4日前
トヨタ自動車株式会社
電源装置
1日前
トヨタ自動車株式会社
蓄電装置
15日前
トヨタ自動車株式会社
電動車両
2日前
トヨタ自動車株式会社
路側装置
10日前
続きを見る
他の特許を見る