TOP
|
特許
|
意匠
|
商標
特許ウォッチ
Twitter
他の特許を見る
10個以上の画像は省略されています。
公開番号
2025162282
公報種別
公開特許公報(A)
公開日
2025-10-27
出願番号
2024065473
出願日
2024-04-15
発明の名称
延長トレイ及び画像形成装置
出願人
株式会社リコー
代理人
個人
,
個人
,
個人
主分類
B65H
31/22 20060101AFI20251020BHJP(運搬;包装;貯蔵;薄板状または線条材料の取扱い)
要約
【課題】延長トレイを容易に着脱できるようにする。
【解決手段】シートトレイ12に対してシートの長さ方向へ延長するように装着される延長トレイ20であって、シートトレイ12が内部に収容されるようにシートトレイ12に装着される装着部22を有し、装着部22はシートトレイ12に対して抜き差し可能に構成される。
【選択図】図7
特許請求の範囲
【請求項1】
シートトレイに対してシートの長さ方向へ延長するように装着される延長トレイであって、
前記シートトレイが内部に収容されるように前記シートトレイに装着される装着部を有し、
前記装着部は前記シートトレイに対して抜き差し可能に構成されることを特徴とする延長トレイ。
続きを表示(約 640 文字)
【請求項2】
前記延長トレイ上に載置されるシートの長さ方向の一端と幅方向の両端に接触して前記シートの落下を防止するストッパ部を有する請求項1に記載の延長トレイ。
【請求項3】
前記シートの長さ方向の一端に接触する前記ストッパ部は、前記延長トレイが前記シートトレイに装着される際にシートトレイ側の部材に突き当たる突き当て部である請求項2に記載の延長トレイ。
【請求項4】
前記シートトレイに対する着脱時に把持される取手部を有する請求項1に記載の延長トレイ。
【請求項5】
前記取手部は、前記延長トレイ上のシートが載置される領域よりも前記シートの幅方向の両外側にそれぞれ複数設けられる請求項4に記載の延長トレイ。
【請求項6】
前記取手部は、前記延長トレイ上に載置されるシートの幅方向の両端に接触して前記シートの落下を防止するストッパ部である請求項4に記載の延長トレイ。
【請求項7】
前記延長トレイを吊り下げ保持する吊り下げ保持部を備える請求項1に記載の延長トレイ。
【請求項8】
前記延長トレイの少なくとも一部がプラスチックダンボールにより構成される請求項1に記載の延長トレイ。
【請求項9】
シートトレイと、
前記シートトレイに対して前記シートの長さ方向へ延長するように装着される請求項1に記載の延長トレイと、
を備えることを特徴とする画像形成装置。
発明の詳細な説明
【技術分野】
【0001】
本発明は、延長トレイ及び画像形成装置に関する。
続きを表示(約 1,400 文字)
【背景技術】
【0002】
複写機又はプリンタなどの画像形成装置においては、紙などのシートが載置されるシートトレイが設けられている。
【0003】
例えば、特許文献1(特開平9-86766号公報)においては、画像形成装置から排出された用紙を積載する排紙トレイとして、画像形成装置の排紙受け台に複数積み重ねて取り付けられ、その後、積載された用紙に触れずに排紙受け台から取り外すことができる排紙トレイが提案されている。
【0004】
ところで、通常のシートトレイとは別に、長尺シートを載置するための延長トレイをオプションとして到着可能に構成されている画像形成装置がある。このような画像形成装置においては、延長トレイの着脱を容易に行えることが望まれるが、特許文献1においては、延長トレイの着脱容易性については検討されていない。
【発明の概要】
【発明が解決しようとする課題】
【0005】
そこで、本発明においては、延長トレイを容易に着脱できるようにすることを課題とする。
【課題を解決するための手段】
【0006】
上記課題を解決するため、本発明は、シートトレイに対してシートの長さ方向へ延長するように装着される延長トレイであって、前記シートトレイが内部に収容されるように前記シートトレイに装着される装着部を有し、前記装着部は前記シートトレイに対して抜き差し可能に構成されることを特徴とする。
【発明の効果】
【0007】
本発明によれば、延長トレイを容易に着脱することができる。
【図面の簡単な説明】
【0008】
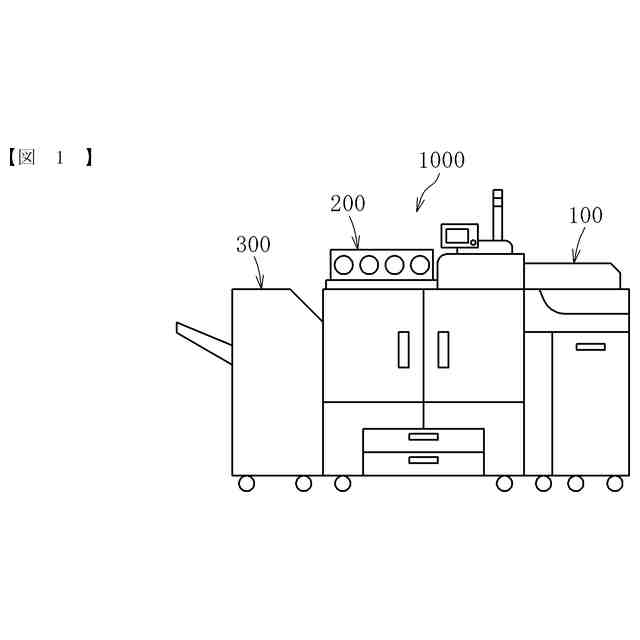
本発明の第1実施形態に係る画像形成装置の全体構成を示す概略図である。
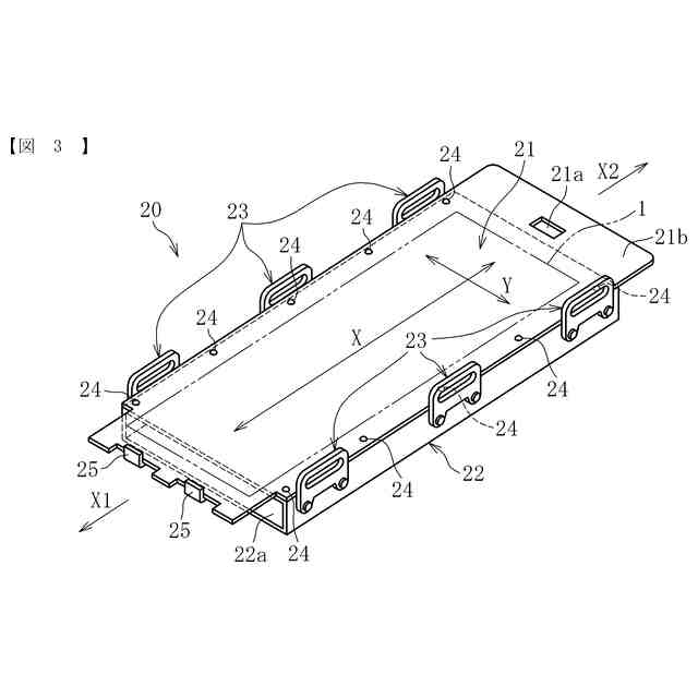
本発明の第1実施形態に係るシート排出部の概略構成図である。
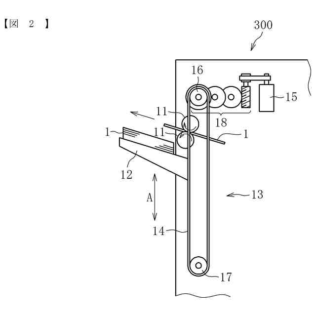
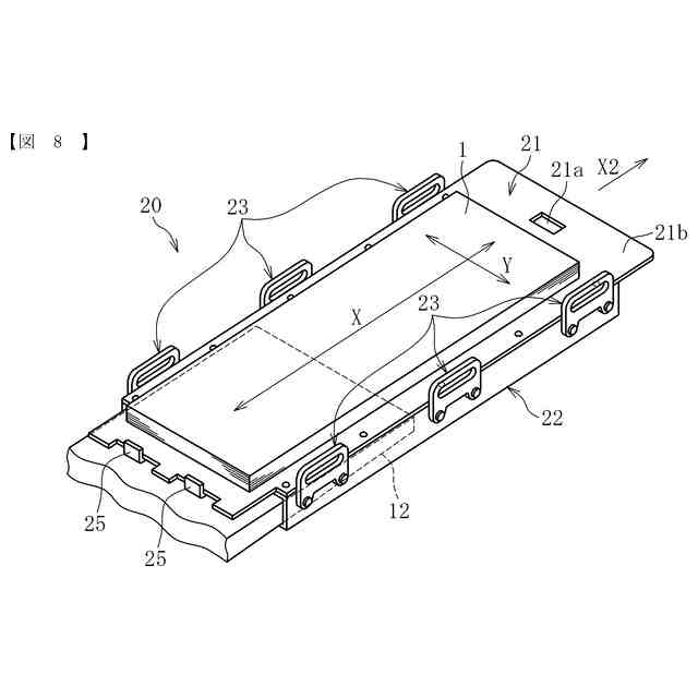
本発明の第1実施形態に係る延長トレイの斜視図である。
本発明の第1実施形態に係るシート載置部と装着部とを固定する留め具の拡大図である。
本発明の第1実施形態に係る突き当て部を固定する留め具の拡大図である。
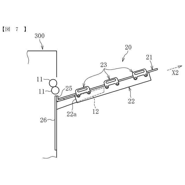
本発明の第1実施形態に係る延長トレイの着脱方法を説明するための図である。
本発明の第1実施形態に係る延長トレイの着脱方法を説明するための図である。
本発明の第1実施形態に係る延長トレイにシートが載置された状態を示す斜視図である。
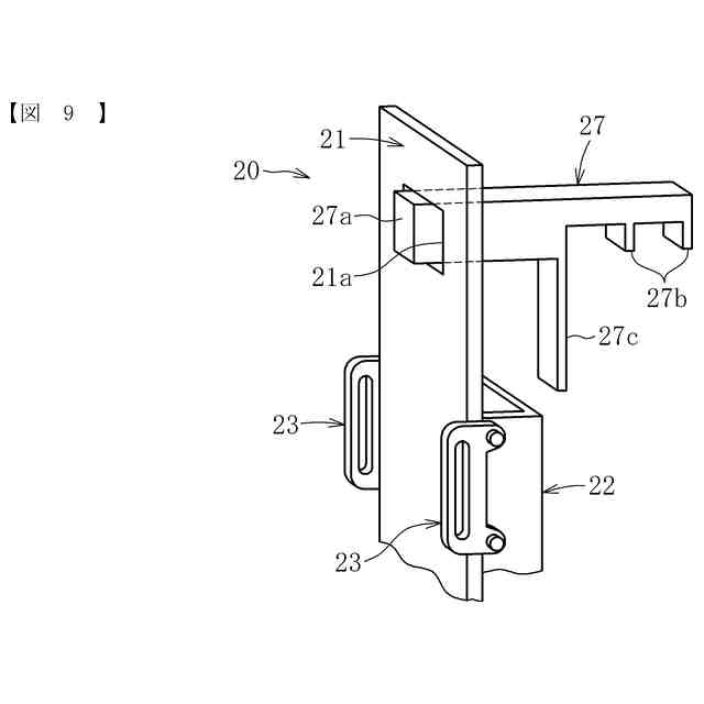
本発明の第1実施形態に係る吊り下げ保持部の斜視図である。
本発明の第1実施形態に係る延長トレイを吊り下げ保持部を用いて画像形成装置本体に吊り下げ保持した状態を示す図である。
本発明の第2実施形態に係る延長トレイの斜視図である。
本発明の第3実施形態に係る延長トレイの斜視図である。
供給トレイに着脱される延長トレイを備える画像形成装置の全体構成を示す概略図である。
【発明を実施するための形態】
【0009】
以下、添付の図面に基づき、本発明について説明する。なお、本発明を説明するための各図面において、同一の機能もしくは形状を有する部材及び構成部品などの構成要素については、判別が可能な限り同一符号を付し、一度説明した後ではその説明を省略する。
【0010】
<画像形成装置の全体構成>
図1は、本発明の第1実施形態に係る画像形成装置の全体構成を示す概略図である。
(【0011】以降は省略されています)
この特許をJ-PlatPat(特許庁公式サイト)で参照する
関連特許
株式会社リコー
移動体
21日前
株式会社リコー
画像形成装置
7日前
株式会社リコー
画像形成装置
2日前
株式会社リコー
画像形成システム
26日前
株式会社リコー
機器及び異常判定方法
7日前
株式会社リコー
画像形成装置及びシステム
5日前
株式会社リコー
定着装置、及び画像形成装置
7日前
株式会社リコー
延長トレイ及び画像形成装置
2日前
株式会社リコー
画像読取装置及び画像読取方法
1日前
株式会社リコー
表示装置、切替方法、プログラム
12日前
株式会社リコー
媒体処理装置及び画像形成システム
2日前
株式会社リコー
媒体処理装置及び画像形成システム
26日前
株式会社リコー
加熱装置、定着装置及び画像形成装置
6日前
株式会社リコー
シート給送装置及び画像形成システム
8日前
株式会社リコー
通信端末、通信方法、及びプログラム
5日前
株式会社リコー
通信装置、通信方法、及びプログラム
5日前
株式会社リコー
読取装置、読取方法およびプログラム
2日前
株式会社リコー
シート給紙装置、および画像形成装置
26日前
株式会社リコー
光源装置、画像投影装置および調整方法
12日前
株式会社リコー
通信装置、状態制御方法、及びプログラム
8日前
株式会社リコー
ノード、データ共有方法、及びプログラム
19日前
株式会社リコー
画像形成装置、情報処理方法及びプログラム
5日前
株式会社リコー
画像形成装置、及び、プロセスカートリッジ
12日前
株式会社リコー
画像形成装置、情報処理方法およびプログラム
26日前
株式会社リコー
画像形成装置、情報処理方法およびプログラム
6日前
株式会社リコー
画像読取装置、画像判定方法およびプログラム
5日前
株式会社リコー
画像形成装置、画像処理方法およびプログラム
今日
株式会社リコー
表示装置、表示方法、プログラム、表示システム
20日前
株式会社リコー
画像形成装置、画像形成方法、およびプログラム
26日前
株式会社リコー
画像処理装置、画像処理方法、およびプログラム
26日前
株式会社リコー
モノクロ用光走査装置及びモノクロ画像形成装置
5日前
株式会社リコー
画像読取装置、用紙斜行防止装置及び画像形成装置
今日
株式会社リコー
対話装置、対話システム、対話方法及びプログラム
19日前
株式会社リコー
電気機器、画像形成装置、制御方法、及びプログラム
15日前
株式会社リコー
情報処理システム、情報処理装置および情報処理方法
19日前
株式会社リコー
情報処理装置、情報処理システムおよび情報処理方法
19日前
続きを見る
他の特許を見る