TOP
|
特許
|
意匠
|
商標
特許ウォッチ
Twitter
他の特許を見る
10個以上の画像は省略されています。
公開番号
2025162385
公報種別
公開特許公報(A)
公開日
2025-10-27
出願番号
2024065656
出願日
2024-04-15
発明の名称
読取装置、読取方法およびプログラム
出願人
株式会社リコー
代理人
弁理士法人酒井国際特許事務所
主分類
H04N
1/48 20060101AFI20251020BHJP(電気通信技術)
要約
【課題】カラーチャートを撮像することなく色の補正する読取装置、読取方法およびプログラムを提供する。
【解決手段】読取装置200は、読取対象に青色の発光波長を中心とする光と黄色の発光波長を中心とする光を照射する光源201と、各々が複数の所定の受光波長のいずれかに感度を有する複数の光電変換素子を有する撮像手段である受光部212と、を備え、前記読取対象の色がマゼンタであり、かつ、前記所定の受光波長が緑色の受光波長である場合の前記撮像手段の第1の出力を、前記読取対象の色が白であり、かつ、前記所定の受光波長が赤色の受光波長である場合の前記撮像手段の第2の出力を用いて補正する。
【選択図】図1
特許請求の範囲
【請求項1】
読取対象に青色の発光波長を中心とする光と黄色の発光波長を中心とする光を照射する光源と、
各々が複数の所定の受光波長のいずれかに感度を有する複数の光電変換素子を有する撮像手段と、
を備え、
前記読取対象の色がマゼンタであり前記所定の受光波長が緑色の受光波長である場合の前記撮像手段の第1の出力を、
前記読取対象の色が白であり前記所定の受光波長が赤色の受光波長である場合の前記撮像手段の第2の出力を用いて補正する、読取装置。
続きを表示(約 1,600 文字)
【請求項2】
読取対象に青色の発光波長を中心とする光と黄色の発光波長を中心とする光を照射する光源と、
各々が複数の所定の受光波長のいずれかに感度を有する複数の光電変換素子を有する撮像手段と、
前記読取対象の色がマゼンタであり前記所定の受光波長が緑色受光波長である場合の前記撮像手段の第1の出力を、
前記読取対象の色が白であり前記所定の受光波長が赤色の受光波長である場合の前記撮像手段の第2の出力と、
前記読取対象が白色であり前記所定の受光波長が緑色の受光波長である場合の前記撮像手段の第3の出力と、を用いて補正する、読取装置。
【請求項3】
前記マゼンタの濃度に応じて、前記第1の出力の補正に用いる前記第2の出力と前記第3の出力の割合を変更する、請求項2に記載の読取装置。
【請求項4】
前記撮像手段の出力を取得する読取部と、
前記読取装置の温度変化を検知する温度変化検知部と、
前記第2の出力を記憶する記憶部と、をさらに備え、
前記温度変化検知部が所定の閾値以上の温度変化を検知した場合に、前記読取部は前記第2の出力を取得し、前記記憶部は前記第2の出力を記憶し、
前記第1の出力を、前記読取部が取得した前記第2の出力、又は、前記記憶部が記憶した前記第2の出力を用いて補正する、
請求項1に記載の読取装置。
【請求項5】
前記撮像手段の出力を取得する読取部と、
前記読取装置の温度変化を検知する温度変化検知部と、
前記第2の出力及び前記第3の出力を記憶する記憶部と、をさらに備え、
前記温度変化検知部が所定の閾値以上の温度変化を検知した場合に、前記読取部は前記第2の出力及び前記第3の出力を取得し、前記記憶部は前記第2の出力及び前記第3の出力を記憶し、
前記第1の出力を、前記読取部が取得した前記第2の出力及び前記第3の出力、又は、前記記憶部が記憶した前記第2の出力及び前記第3の出力を用いて補正する、
請求項2に記載の読取装置。
【請求項6】
前記温度変化検知部は、前記読取装置の内部又は近傍に設置した温度センサの出力を用いて前記温度変化を検知する、
請求項4又は5に記載の読取装置。
【請求項7】
前記温度変化検知部は、前記光源が光を照射した時間を用いて前記温度変化を検知する、
請求項4又は5に記載の読取装置。
【請求項8】
読取対象に青色の発光波長を中心とする光と黄色の発光波長を中心とする光を照射する光源から、読取対象に光を照射させる照射ステップと、
前記読取対象からの反射光を緑色の受光波長を中心とした波長に感度を有する光電変換素子で読み取る第1読取ステップと、
前記読取対象からの反射光を赤色の受光波長を中心とした波長に感度を有する光電変換素子で読み取る第2読取ステップと、
を有し、
前記読取対象の色がマゼンタである場合の第1読取ステップの第1の出力を、読取対象が白色である場合の前記第2読取ステップの第2の出力を用いて補正する、読取方法。
【請求項9】
コンピュータを、
読取対象に青色の発光波長を中心とする光と黄色の発光波長を中心とする光を照射する光源から、読取対象に光を照射させる照射手段と、
前記読取対象からの反射光を緑色の受光波長を中心とした波長に感度を有する光電変換素子で読み取る第1読取手段と、
前記読取対象からの反射光を赤色の受光波長を中心とした波長に感度を有する光電変換素子で読み取る第2読取手段と、
として機能させるものであって、
前記読取対象の色がマゼンタである場合の第1読取手段の第1の出力を、読取対象が白色である場合の前記第2読取手段の第2の出力を用いて補正する、プログラム。
発明の詳細な説明
【技術分野】
【0001】
本発明は、読取装置、読取方法およびプログラムに関する。
続きを表示(約 2,100 文字)
【背景技術】
【0002】
従来、密着イメージセンサを用いた画像読取装置において、光源の波長変動などに起因する色バラツキに対して補正を行う技術が知られている。
【0003】
特許文献1には、複数の光電変換素子から出力される画像信号のレベルを調整するレベル補正手段と、撮像手段でカラーチャートを撮像したときに前記レベル補正手段から出力される画像信号に対し、当該カラーチャートの特性のバラツキに対する補正を行なうカラーチャート特性補正手段を用いることが開示されている。
【発明の概要】
【発明が解決しようとする課題】
【0004】
しかしながら、従来の技術によれば、カラーチャートを撮像しなければ色バラツキを補正することができないという課題があった。
【0005】
本発明は、上記に鑑みてなされたものであって、カラーチャートを撮像することなく色の補正を可能とすることを目的とする。
【課題を解決するための手段】
【0006】
上述した課題を解決し、目的を達成するために、本発明は、読取対象に青色の発光波長を中心とする光と黄色の発光波長を中心とする光を照射する光源と、各々が複数の所定の受光波長のいずれかに感度を有する複数の光電変換素子を有する撮像手段と、を備え、前記読取対象の色がマゼンタであり前記所定の受光波長が緑色の受光波長である場合の前記撮像手段の第1の出力を、前記読取対象の色が白であり前記所定の受光波長が赤色の受光波長である場合の前記撮像手段の第2の出力を用いて補正する。
【発明の効果】
【0007】
本発明によれば、カラーチャートを撮像することなく色を補正することができる、という効果を奏する。
【図面の簡単な説明】
【0008】
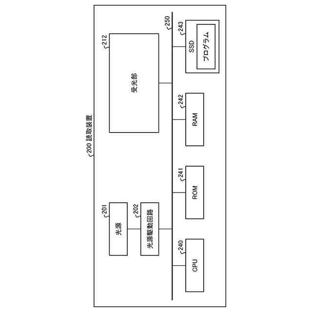
図1は、第1の実施の形態に係る読取装置のハードウェア構成の一例を示す図である。
図2は、読取装置が記録紙の画像を読み取る様子を示す斜視図である。
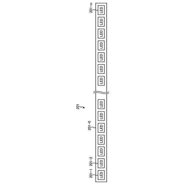
図3は、読取装置に用いるLEDアレイの概略構成図である。
図4は、読取装置に用いる受光部の概略構成図である。
図5は、白色LEDの分光分布の一例を示す図である。
図6は、白色LEDの劣化前後の分光分布の一例を示す図である。
図7は、第1の色がマゼンタである場合の、緑色読取値の出力分布の一例を示す図である。
図8は、赤色フィルタの波長毎のフィルタ特性を示す図である。
図9は、白色LEDの各状態における各色の読取値をまとめた表である。
図10は、第1の実施の形態に係る補正処理の機能ブロック図の一例を示す図である。
図11は、第1の実施の形態に係る補正処理の手順を示すフローチャートである。
図12は、第1の色の濃度の違いによる波長分布の違いを示す図である。
図13は、第2の実施の形態に係る補正処理の機能ブロック図の一例を示す図である。
図14は、第2の実施の形態に係る補正処理の手順を示すフローチャートである。
図15は、補正処理に用いる加重平均の重みと濃度の関係を示す図である。
図16は、第3の実施の形態に係る補正処理の機能ブロック図の一例を示す図である。
図17は、第3の実施の形態に係る補正処理の手順を示すフローチャートである。
図18は、第4の実施の形態に係る階調補正装置を搭載したプリンタの概略構成図である。
図19は、対向部材とその周辺の拡大図である。
図20は、基準面部材の一例を具体的に説明するための斜視図である。
図21は、階調補正用の帯状パターンの一例を示す図である。
図22は、第4の実施の形態に係る階調補正処理の機能ブロック図の一例を示す図である。
図23は、マゼンタの読取値の補正処理の手順を示すフローチャートである。
【発明を実施するための形態】
【0009】
以下に添付図面を参照して、読取装置、読取方法およびプログラムの実施の形態を詳細に説明する。
【0010】
(第1の実施の形態)
図1は、第1の実施の形態に係る読取装置のハードウェア構成の一例を示す図である。本実施形態の読取装置200は、光源201、光源駆動回路202、受光部212、CPU(Central Processing Unit)240、ROM(Read Only Memory)241、RAM(Random Access Memory)242、およびSSD(Solid State Drive)243を有している。光源駆動回路202、受光部212、CPU240、ROM241、RAM242、およびSSD243は、システムバス250を介して相互に電気的に接続されている。
(【0011】以降は省略されています)
この特許をJ-PlatPat(特許庁公式サイト)で参照する
関連特許
株式会社リコー
画像形成装置
2日前
株式会社リコー
画像形成装置
7日前
株式会社リコー
機器及び異常判定方法
7日前
株式会社リコー
画像形成装置及びシステム
5日前
株式会社リコー
延長トレイ及び画像形成装置
2日前
株式会社リコー
定着装置、及び画像形成装置
7日前
株式会社リコー
画像読取装置及び画像読取方法
1日前
株式会社リコー
表示装置、切替方法、プログラム
12日前
株式会社リコー
媒体処理装置及び画像形成システム
2日前
株式会社リコー
シート給送装置及び画像形成システム
8日前
株式会社リコー
読取装置、読取方法およびプログラム
2日前
株式会社リコー
加熱装置、定着装置及び画像形成装置
6日前
株式会社リコー
通信装置、通信方法、及びプログラム
5日前
株式会社リコー
通信端末、通信方法、及びプログラム
5日前
株式会社リコー
光源装置、画像投影装置および調整方法
12日前
株式会社リコー
通信装置、状態制御方法、及びプログラム
8日前
株式会社リコー
ノード、データ共有方法、及びプログラム
19日前
株式会社リコー
画像形成装置、及び、プロセスカートリッジ
12日前
株式会社リコー
画像形成装置、情報処理方法及びプログラム
5日前
株式会社リコー
画像読取装置、画像判定方法およびプログラム
5日前
株式会社リコー
画像形成装置、画像処理方法およびプログラム
今日
株式会社リコー
画像形成装置、情報処理方法およびプログラム
6日前
株式会社リコー
モノクロ用光走査装置及びモノクロ画像形成装置
5日前
株式会社リコー
表示装置、表示方法、プログラム、表示システム
20日前
株式会社リコー
対話装置、対話システム、対話方法及びプログラム
19日前
株式会社リコー
画像読取装置、用紙斜行防止装置及び画像形成装置
今日
株式会社リコー
電気機器、画像形成装置、制御方法、及びプログラム
15日前
株式会社リコー
情報処理装置、情報処理システムおよび情報処理方法
19日前
株式会社リコー
情報処理システム、情報処理装置および情報処理方法
19日前
株式会社リコー
情報処理装置、情報処理システム、情報処理方法及びプログラム
19日前
株式会社リコー
情報処理装置、画面作成方法、プログラム、及び情報処理システム
6日前
株式会社リコー
情報処理装置、画面作成方法、プログラム、及び情報処理システム
15日前
株式会社リコー
情報処理装置、情報処理方法、プログラム、および情報処理システム
19日前
株式会社リコー
手書き入力装置、手書き入力システム、手書き入力方法、プログラム
19日前
株式会社リコー
シート折り装置、後処理装置、画像形成装置、及び画像形成システム
今日
株式会社リコー
表示装置、表示方法、プログラム
12日前
続きを見る
他の特許を見る