TOP
|
特許
|
意匠
|
商標
特許ウォッチ
Twitter
他の特許を見る
10個以上の画像は省略されています。
公開番号
2025162514
公報種別
公開特許公報(A)
公開日
2025-10-27
出願番号
2025018281
出願日
2025-02-06
発明の名称
画像形成装置
出願人
株式会社リコー
代理人
個人
主分類
G03G
15/16 20060101AFI20251020BHJP(写真;映画;光波以外の波を使用する類似技術;電子写真;ホログラフイ)
要約
【課題】中間転写体交換後の最初の画像形成におけるファーストプリントタイムが遅れを抑制できる画像形成装置を提供する。
【解決手段】画像形成装置は、一次転写電圧が印加され、像担持体たる感光体のトナー像を一次転写部で中間転写体たる中間転写ベルトに一次転写する一次転写部材たる一次転写ローラと、一次転写電流検知部によって検知した一次転写ローラに流れる電流値に基づいて、一次転写電圧を設定する一次転写電圧設定制御を行う制御部たるエンジン制御部と、ユーザーの操作入力を受け付ける操作入力部たる操作パネルとを備えている。エンジン制御部は、操作パネルを通じて中間転写ベルト交換情報が入力されたタイミング、および、中間転写ベルトが交換された後の最初の画像形成後のタイミングで一次転写電圧設定制御を行う。
【選択図】図11
特許請求の範囲
【請求項1】
一次転写電圧が印加され、像担持体のトナー像を一次転写部で中間転写体に一次転写する一次転写部材と、
一次転写電流検知部によって検知した前記一次転写部材に流れる電流値に基づいて、前記一次転写電圧を設定する一次転写電圧設定制御を行う制御部と、
ユーザーの操作入力を受け付ける操作入力部とを備えた画像形成装置において、
前記制御部は、前記操作入力部を通じて中間転写体交換情報が入力されたタイミング、および、前記中間転写体が交換された後の最初の画像形成後のタイミングで前記一次転写電圧設定制御を行うことを特徴とする画像形成装置。
続きを表示(約 1,200 文字)
【請求項2】
一次転写電圧が印加され、像担持体のトナー像を一次転写部で中間転写体に一次転写する一次転写部材と、
一次転写電流検知部によって検知した前記一次転写部材に流れる電流値に基づいて、前記一次転写電圧を設定する一次転写電圧設定制御を行う制御部と、
ユーザーの操作入力を受け付ける操作入力部とを備えた画像形成装置において、
前記像担持体または前記中間転写体に担持された前記トナー像の画像濃度を画像濃度検知部により検知し、前記画像濃度検知部の検知結果に基づいて、前記像担持体に前記トナー像を作像する作像手段の作像条件を調整する画像濃度調整制御を、前記一次転写電圧設定制御よりも短い間隔で実行し、
前記制御部は、前記操作入力部を通じて中間転写体交換情報が入力されたタイミング、および、前記中間転写体が交換された後の最初の画像濃度調整制御の実施タイミング、または、前記中間転写体が交換された後の最初の画像濃度調整制御の終了のタイミングで前記一次転写電圧設定制御を実行することを特徴とする画像形成装置。
【請求項3】
請求項1または2に記載の画像形成装置において、
互いに異なる色のトナー像を担持する複数の像担持体と、
各像担持体に対応して設けられた複数の一次転写部材とを備え、
前記一次転写電流検知部は、複数の一次転写部材のうち、ひとつの一次転写部材に流れる電流を検知するものであり、
前記一次転写電流検知部によって検知した電流値に基づいて、すべての一次転写部材の前記一次転写電圧を設定することを特徴とする画像形成装置。
【請求項4】
請求項3に記載の画像形成装置において、
前記一次転写電流検知部により電流が検知される一次転写部材は、黒色の一次転写部材であることを特徴とする画像形成装置。
【請求項5】
請求項1または2に記載の画像形成装置において、
前記中間転写体の使用状況を記憶する記憶部を備え、
前記中間転写体交換情報は、前記操作入力部を通じて入力された前記使用状況をリセットするリセット情報であることを特徴とする画像形成装置。
【請求項6】
請求項5に記載の画像形成装置において、
前記使用状況は、前記中間転写体の使用開始からの印刷枚数であることを特徴とする画像形成装置。
【請求項7】
請求項1または2に記載の画像形成装置において、
前記制御部は、印刷枚数に基づいて、前記一次転写電圧設定制御を実施することを特徴とする画像形成装置。
【請求項8】
請求項1または2に記載の画像形成装置において、
前記一次転写電流検知部によって検知した電流値を、前記一次転写電圧に変換する変換式を用いて、設定する一次転写電圧を算出することを特徴とする画像形成装置。
発明の詳細な説明
【技術分野】
【0001】
本発明は、画像形成装置に関するものである。
続きを表示(約 2,000 文字)
【背景技術】
【0002】
従来、一次転写電圧が印加され、像担持体のトナー像を一次転写部で中間転写体に一次転写する一次転写部材と、一次転写電流検知部によって検知した一次転写部材に流れる電流値に基づいて、一次転写電圧を設定する一次転写電圧設定制御を行う制御部と、ユーザーの操作入力を受け付ける操作入力部とを備え、制御部は、操作入力部を通じて中間転写体交換情報が入力されたら、一次転写電圧設定制御を実施する画像形成装置が知られている。
【0003】
特許文献1には、前回の一次転写電圧設定制御を実行してからの累計印刷枚数が1000枚となったとき、中間転写体たる中間転写ベルトを交換したとき、画像形成装置が初めて使用されるときの、それぞれで一次転写電圧設定制御を実施するものが記載されている。操作入力部たる操作表示部を通じて中間転写ベルト交換情報として中間転写ベルトを交換した旨の情報が入力されることで、制御部が、中間転写ベルトの交換を把握し、交換後の最初の印刷ジョブ時は、一次転写電圧設定制御を行ってから印刷ジョブを開始する旨が記載されている。
【発明の概要】
【発明が解決しようとする課題】
【0004】
しかしながら、中間転写体交換後の最初の画像形成におけるファーストプリントタイムが遅れるという課題があった。
【課題を解決するための手段】
【0005】
上述した課題を解決するために、本発明は、一次転写電圧が印加され、像担持体のトナー像を一次転写部で中間転写体に一次転写する一次転写部材と、一次転写電流検知部によって検知した前記一次転写部材に流れる電流値に基づいて、前記一次転写電圧を設定する一次転写電圧設定制御を行う制御部と、ユーザーの操作入力を受け付ける操作入力部とを備えた画像形成装置において、前記制御部は、前記操作入力部を通じて中間転写体交換情報が入力されたタイミング、および、前記中間転写体が交換された後の最初の画像形成後のタイミングで前記一次転写電圧設定制御を行うことを特徴とするものである。
【発明の効果】
【0006】
本発明によれば、中間転写体交換後の最初の画像形成におけるファーストプリントタイムが遅れを抑制できる。
【図面の簡単な説明】
【0007】
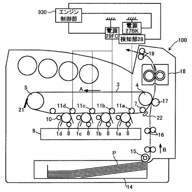
プリンタとして構成された画像形成装置の一例を示す概略構成図。
画像形成装置のハードウェア構成図。
画像形成装置を説明する機能ブロックの一例を示す図。
画像形成装置を説明する機能ブロックの他の例を示す図。
一次転写電圧と転写率の関係を示すグラフ。
中間転写ベルト表面抵抗値と検知電流の関係を示すグラフ。
検知電流に基づいて、一次転写電圧を設定するためのバイアステーブルの一例を示す図。
変換式を示すグラフ。
複数の変換式を示すグラフ。
一次転写電圧設定制御のフロー図。
本実施形態の中間転写ユニット交換時における一次転写電圧設定制御のフローチャート。
中間転写ユニット交換後の最初のプロセスコントロール実施後に、再度、一次転写電圧設定制御を実施するフロー図。
【発明を実施するための形態】
【0008】
以下に、本発明を実施するための最良の形態を図面に基づいて説明する。なお、いわゆる当業者は特許請求の範囲内における本発明を変更・修正をして他の実施形態をなすことは容易であり、これらの変更・修正はこの特許請求の範囲に含まれるものである。以下の説明はこの発明における最良の形態の例であって、この特許請求の範囲を限定するものではない。
【0009】
図1はプリンタとして構成された画像形成装置100の一例を示す概略構成図である。
図1に示す画像形成装置100は、その本体筐体内に配置された複数の第1乃至第4の4つの像担持体たる感光体1a、1b、1c、1d(以下、色を識別しない場合に適宜「感光体1」という)が設けられている。各感光体上には互いに異なる色のトナー像がそれぞれ形成され、これらの感光体1a、1b、1c、1d上に、ブラックトナー像、マゼンタトナー像、シアントナー像及びイエロートナー像がそれぞれ形成される。なお、図1に示した各感光体1a、1b、1c、1dはドラム状に形成されているが、複数のローラに巻き掛けられて回転駆動される無端ベルト状の感光体を用いることもできる。
【0010】
第1乃至第4の感光体1a、1b、1c、1dに対向して中間転写体たる中間転写ベルト3が配置され、各感光体1a、1b、1c、1dが中間転写ベルト3の表面に当接して一次転写部を形成している。中間転写ベルト3は、感光体1a、1b、1c、1dから自身に一次転写されたトナー像を転写材に二次転写する。
(【0011】以降は省略されています)
この特許をJ-PlatPat(特許庁公式サイト)で参照する
関連特許
株式会社リコー
移動体
21日前
株式会社リコー
画像形成装置
7日前
株式会社リコー
画像形成装置
2日前
株式会社リコー
画像形成システム
26日前
株式会社リコー
機器及び異常判定方法
7日前
株式会社リコー
画像形成装置及びシステム
5日前
株式会社リコー
延長トレイ及び画像形成装置
2日前
株式会社リコー
定着装置、及び画像形成装置
7日前
株式会社リコー
画像読取装置及び画像読取方法
1日前
株式会社リコー
表示装置、切替方法、プログラム
12日前
株式会社リコー
媒体処理装置及び画像形成システム
26日前
株式会社リコー
媒体処理装置及び画像形成システム
2日前
株式会社リコー
読取装置、読取方法およびプログラム
2日前
株式会社リコー
加熱装置、定着装置及び画像形成装置
6日前
株式会社リコー
シート給送装置及び画像形成システム
8日前
株式会社リコー
通信装置、通信方法、及びプログラム
5日前
株式会社リコー
通信端末、通信方法、及びプログラム
5日前
株式会社リコー
光源装置、画像投影装置および調整方法
12日前
株式会社リコー
通信装置、状態制御方法、及びプログラム
8日前
株式会社リコー
ノード、データ共有方法、及びプログラム
19日前
株式会社リコー
画像形成装置、及び、プロセスカートリッジ
12日前
株式会社リコー
画像形成装置、情報処理方法及びプログラム
5日前
株式会社リコー
画像形成装置、情報処理方法およびプログラム
6日前
株式会社リコー
画像読取装置、画像判定方法およびプログラム
5日前
株式会社リコー
画像形成装置、情報処理方法およびプログラム
26日前
株式会社リコー
画像形成装置、画像処理方法およびプログラム
今日
株式会社リコー
モノクロ用光走査装置及びモノクロ画像形成装置
5日前
株式会社リコー
表示装置、表示方法、プログラム、表示システム
20日前
株式会社リコー
画像読取装置、用紙斜行防止装置及び画像形成装置
今日
株式会社リコー
対話装置、対話システム、対話方法及びプログラム
19日前
株式会社リコー
電気機器、画像形成装置、制御方法、及びプログラム
15日前
株式会社リコー
情報処理装置、情報処理システムおよび情報処理方法
19日前
株式会社リコー
情報処理システム、情報処理装置および情報処理方法
19日前
株式会社リコー
情報処理システム、情報処理方法、および情報処理装置
26日前
株式会社リコー
情報処理装置、情報処理システム、情報処理方法、プログラム
26日前
株式会社リコー
障害物検出システム、移動体、プログラムおよび障害物検出方法
26日前
続きを見る
他の特許を見る