TOP
|
特許
|
意匠
|
商標
特許ウォッチ
Twitter
他の特許を見る
10個以上の画像は省略されています。
公開番号
2025163587
公報種別
公開特許公報(A)
公開日
2025-10-29
出願番号
2024067004
出願日
2024-04-17
発明の名称
画像読取装置、用紙斜行防止装置及び画像形成装置
出願人
株式会社リコー
代理人
個人
主分類
H04N
1/00 20060101AFI20251022BHJP(電気通信技術)
要約
【課題】簡易な構成で、原稿を搬送させながら原稿の傾きを補正することができる画像読取装置を提供する。
【解決手段】第1画像読取部131や第2画像読取部135などの画像読取部へ原稿Doなどの原稿を搬送するADF100などの画像読取装置であって、1枚に分離後の原稿をプルアウトローラ123などの次の原稿搬送部材まで搬送する搬送経路部BCなどの搬送経路上に、原稿の搬送方向Xなどの搬送方向に対して傾いた回転支点を設けた傾き補正部材10などの傾き補正部材を、前記搬送方向と直交する方向に複数有する画像読取装置である。
【選択図】図2
特許請求の範囲
【請求項1】
画像読取部へ原稿を搬送する画像読取装置であって、
1枚に分離後の原稿を次の原稿搬送部材まで搬送する搬送経路上に、搬送方向に対して傾いた回転支点を設けた傾き補正部材を、前記搬送方向と直交する方向に複数有する画像読取装置。
続きを表示(約 750 文字)
【請求項2】
請求項1記載の画像読取装置において、
前記傾き補正部材を、前記搬送方向と直交する方向に複数列有することを特徴とする画像読取装置。
【請求項3】
請求項1記載の画像読取装置において、
前記傾き補正部材は、前記原稿が前記搬送方向と直交する方向の面を有する前記傾き補正部材に接触したときに、前記傾き補正部材による前記原稿の傾き補正を行わない退避位置を占めるように回転可能に構成されており、
前記傾き補正部材の前記退避位置への回転を防止するロック機構を有することを特徴とする画像読取装置。
【請求項4】
用紙の斜行を防止する用紙斜行防止装置であって、
1枚に分離後の用紙を次の用紙搬送部材まで搬送する搬送経路上に、搬送方向に対して傾いた回転支点を設けた傾き補正部材を、前記搬送方向と直交する方向に複数有する用紙斜行防止装置。
【請求項5】
請求項4記載の用紙斜行防止装置において、
前記傾き補正部材を、前記搬送方向と直交する方向に複数列有することを特徴とする用紙斜行防止装置。
【請求項6】
請求項4記載の用紙斜行防止装置において、
前記傾き補正部材は、前記用紙が前記搬送方向と直交する方向の面を有する前記傾き補正部材に接触したときに、前記傾き補正部材による前記用紙の傾き補正を行わない退避位置を占めるように回転可能に構成されており、
前記傾き補正部材の前記退避位置への回転を防止するロック機構を有することを特徴とする用紙斜行防止装置。
【請求項7】
請求項1記載の画像読取装置及び/又は請求項4記載の用紙斜行防止装置を具備することを特徴とする画像形成装置。
発明の詳細な説明
【技術分野】
【0001】
本発明は、画像読取装置、用紙斜行防止装置及び画像形成装置に関する。
続きを表示(約 1,700 文字)
【背景技術】
【0002】
従来の画像読取装置では、原稿の傾きを規制するため、搬送路上に傾き補正手段を設ける技術が考えられ既に知られている(例えば、特許文献1~3参照)。
特許文献1には、原稿のスキューを防止する目的で、搬送路上に突出/退避自在に設けられた幅方向規制手段を有する構成が開示されている。
【0003】
特許文献2には、狭い幅の原稿と広い幅の原稿とが交互に交じり合っている場合の原稿の斜行を防止する目的で、呼び込みローラよりも原稿の送り出し方向の下流側に該原稿の側辺を案内するガイド部材を設ける構成が開示されている。
【0004】
特許文献3には、狭い幅の原稿と広い幅の原稿とが交互に交じり合っている場合の原稿の斜行を防止する目的で、原稿の搬送方向と直交する方向に移動して原稿の斜行を搬送方向と平行な方向に矯正する斜行矯正部材を有する構成が開示されている。
【0005】
上記した従来の画像読取装置では、本発明とは確かに補正部材により原稿の傾きを補正するという点では似ている点がある。しかしながら、装置の構成が複雑になるという問題は解消できていない。
【発明の概要】
【発明が解決しようとする課題】
【0006】
本発明は、上述した事情に鑑みてなされたものであり、簡易な構成で、原稿を搬送させながら原稿の傾きを補正することができる画像読取装置を提供することを目的とする。
【課題を解決するための手段】
【0007】
上記目的を達成するために、本発明は、画像読取部へ原稿を搬送する画像読取装置であって、1枚に分離後の原稿を次の原稿搬送部材まで搬送する搬送経路上に、搬送方向に対して傾いた回転支点を設けた傾き補正部材を、前記搬送方向と直交する方向に複数有する。
【発明の効果】
【0008】
本発明によれば、簡易な構成で、原稿を搬送させながら原稿の傾きを補正することができる。
【図面の簡単な説明】
【0009】
本発明の実施形態に係る複写機の概略構成図である。
図1の複写機が備えるADFの詳細な構成図である。
図2のADFの制御系のブロック図である。
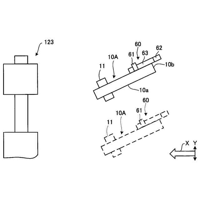
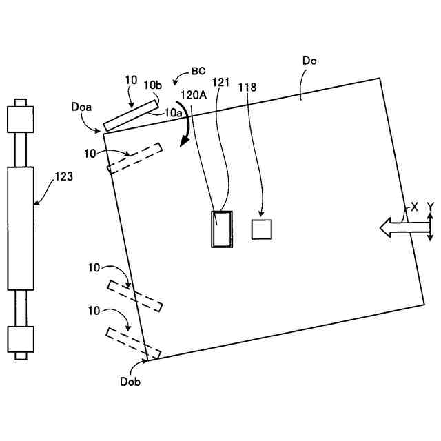
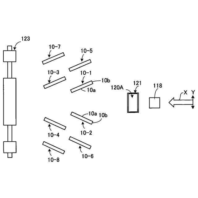
実施例1の要部構成を示す平面図である。
実施例1の要部構成を拡大して示す平面図である。
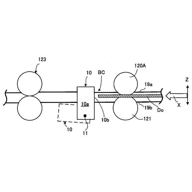
実施例1の要部を拡大して示す側面図である。
実施例1の細部構成及び動作を示す拡大側面図である。
実施例2を説明する平面図である。
実施例3の要部構成を示す平面図である。
実施例3の細部構成及び動作を示す拡大側面図である。
実施例3の動作を説明する平面図である。
実施例3の細部構成及び動作を示す拡大側面図である。
実施例3の動作を説明する平面図である。
(a)~(c)は実施例3の動作過程を説明する側面図である。
実施例4の要部構成を示す平面図である。
実施例4の要部を拡大して示す平面図である。
実施例4の要部を拡大して示す側面図である。
実施例4の細部構成及び動作を示す拡大側面図である。
実施例5を説明する平面図である。
実施例6の要部構成を示す平面図である。
実施例6の細部構成及び動作を示す拡大側面図である。
実施例6を説明する平面図である。
実施例6の細部構成及び動作を示す拡大側面図である。
実施例6の動作を説明する平面図である。
(a)~(c)は実施例6の動作過程を説明する側面図である。
【発明を実施するための形態】
【0010】
以下、図を参照して実施例を含む本発明の実施の形態を詳細に説明する。各実施形態、各実施例等に亘り、同一の機能及び形状等を有する構成要素(部材や構成部品)等については、混同の虞がない限り一度説明した後では同一符号を付すことによりその説明を省略する。
(【0011】以降は省略されています)
この特許をJ-PlatPat(特許庁公式サイト)で参照する
関連特許
株式会社リコー
移動体
22日前
株式会社リコー
画像形成装置
1か月前
株式会社リコー
画像形成装置
1か月前
株式会社リコー
画像形成装置
1か月前
株式会社リコー
画像形成装置
8日前
株式会社リコー
感熱記録媒体
28日前
株式会社リコー
画像形成装置
3日前
株式会社リコー
印刷システム
1か月前
株式会社リコー
画像形成装置
27日前
株式会社リコー
画像形成システム
27日前
株式会社リコー
生体情報測定装置
28日前
株式会社リコー
液体を吐出する装置
28日前
株式会社リコー
電極及びその製造方法
29日前
株式会社リコー
電極及びその製造方法
1か月前
株式会社リコー
機器及び異常判定方法
8日前
株式会社リコー
多孔質構造体の製造方法
1か月前
株式会社リコー
画像形成装置及びシステム
6日前
株式会社リコー
パルスバルブおよび塗布装置
1か月前
株式会社リコー
定着装置、及び画像形成装置
8日前
株式会社リコー
ファイル分析・保存システム
1か月前
株式会社リコー
液体塗布装置および洗浄方法
1か月前
株式会社リコー
塗装システム、及び塗装方法
1か月前
株式会社リコー
印刷装置および印刷システム
27日前
株式会社リコー
延長トレイ及び画像形成装置
3日前
株式会社リコー
画像読取装置及び画像読取方法
2日前
株式会社リコー
液体吐出装置及び液体吐出方法
27日前
株式会社リコー
定着装置、及び、画像形成装置
1か月前
株式会社リコー
定着装置、及び、画像形成装置
1か月前
株式会社リコー
表示装置、切替方法、プログラム
13日前
株式会社リコー
システム、方法およびプログラム
27日前
株式会社リコー
レーザ照射装置、レーザ照射方法
1か月前
株式会社リコー
ベルト装置、及び、画像形成装置
27日前
株式会社リコー
液体吐出装置、及び液体吐出方法
1か月前
株式会社リコー
パーソナライズビデオメカニズム
29日前
株式会社リコー
mRNA発現量の免疫学的評価方法
28日前
株式会社リコー
媒体処理装置及び画像形成システム
28日前
続きを見る
他の特許を見る