TOP
|
特許
|
意匠
|
商標
特許ウォッチ
Twitter
他の特許を見る
10個以上の画像は省略されています。
公開番号
2025162723
公報種別
公開特許公報(A)
公開日
2025-10-28
出願番号
2024066105
出願日
2024-04-16
発明の名称
圧電振動子
出願人
株式会社トーキン
代理人
個人
,
個人
,
個人
主分類
H04R
17/00 20060101AFI20251021BHJP(電気通信技術)
要約
【課題】 所望の振動を得ることができるとともに安定した構造を有する圧電振動子を提供すること。
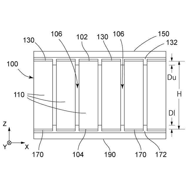
【解決手段】 圧電振動子10は、複数の圧電体部110と、複数の上側電極130と、金属板150と、絶縁性接着剤132とを備える。圧電体部110の夫々は、上下方向に延びている。圧電体部110同士の間には、スリット106が形成されている。上側電極130は、夫々、圧電体部110の上端に形成されている。すべての上側電極130は、絶縁性接着剤132によって金属板150に接着されている。金属板150は、すべての上側電極130と導通しているとともに、絶縁性接着剤132及び上側電極130を介して圧電体部110を支持している。絶縁性接着剤132は、スリット106の上側の領域であって、スリット106の上下方向におけるサイズの15%以下の領域にのみ存在する。
【選択図】図7
特許請求の範囲
【請求項1】
複数の圧電体部と、複数の上側電極と、金属板と、絶縁性接着剤とを備える圧電振動子であって、
前記圧電体部の夫々は、上下方向に延びており、
前記圧電体部同士の間には、スリットが形成されており、
前記上側電極は、夫々、前記圧電体部の上端に形成されており、
すべての前記上側電極は、前記絶縁性接着剤によって前記金属板に接着されており、
前記金属板は、すべての前記上側電極と導通しているとともに、前記絶縁性接着剤及び前記上側電極を介して前記圧電体部を支持しており、
前記絶縁性接着剤は、前記スリットの上側の領域であって、前記スリットの前記上下方向におけるサイズの15%以下の領域にのみ存在している
圧電振動子。
続きを表示(約 910 文字)
【請求項2】
請求項1に記載の圧電振動子であって、
前記圧電体部の夫々は、前記上下方向に長手を有する柱状体であり、
前記圧電体部は、前記上下方向と直交するとともに互いに直交する第1水平方向及び第2水平方向に並んでおり、
前記スリットは、格子状に形成されている
圧電振動子。
【請求項3】
請求項1に記載の圧電振動子であって、
前記圧電振動子は、複数の下側電極と、付加的金属板と、付加的絶縁性接着剤とを更に備えており、
前記圧電体部の夫々は、隣り合う前記圧電体部から分離されており、
前記下側電極は、夫々、前記圧電体部の下端に形成されており、
すべての前記下側電極は、前記付加的絶縁性接着剤により前記付加的金属板に接着されており、
前記付加的金属板は、すべての前記下側電極と導通しているとともに、前記付加的絶縁性接着剤及び前記下側電極を介して前記圧電体部を支持しており、
前記付加的絶縁性接着剤は、前記スリットの下側の領域であって、前記スリットの前記上下方向における前記サイズの15%以下の領域内にのみ存在している
圧電振動子。
【請求項4】
請求項1に記載の圧電振動子であって、
前記圧電振動子は、圧電基部と、下側電極とを更に備えており、
前記圧電基部は、前記圧電体部と一体に形成されて、前記圧電体部の下端を連結しており、
前記下側電極は、前記圧電基部の下面上に形成されている
圧電振動子。
【請求項5】
請求項1に記載の圧電振動子であって、
前記金属板は、50GPa以上のヤング率を有する材料からなる
圧電振動子。
【請求項6】
請求項5に記載の圧電振動子であって、
前記金属板は、その面積をS[mm
2
]、その板厚をT[mm]とした場合に、数式1を満たす
圧電振動子。
TIFF
2025162723000005.tif
20
170
発明の詳細な説明
【技術分野】
【0001】
本発明は、圧電振動子に関する。
続きを表示(約 1,100 文字)
【背景技術】
【0002】
特許文献1は、複数の柱部が配列された圧電素子を備える超音波振動子を開示している。
【0003】
特許文献1の超音波振動子において、柱部は、圧電素子となる略円形のセラミックス製板状物に背面側から切り込みを形成することにより作製されている。切り込みは、セラミックス製板状物の前面に達しておらず、柱部は互いに繋がっている。換言すると、圧電素子は、いわゆるハーフカット構造を採用している。
【0004】
特許文献1の超音波振動子において、柱部は、圧電素子の背面から視て、圧電素子の外周部に位置する非矩形の複数の異形柱部と、これら異形柱部により包囲される複数の矩形柱部とにより構成されている。異形柱部の少なくとも一部は、矩形柱部と比べてその強度が劣る。そこで、特許文献1の超音波振動子では、異形柱部同士の間を樹脂で埋めることで、圧電素子を部分的に補強している。
【0005】
特許文献1の超音波振動子において、圧電素子の前面及び背面には、夫々前面電極層及び背面電極層が形成されている。さらに、背面電極層には導電性フィラーを含む接着剤(導電性接着剤)を用いて銅箔が接着されている。銅箔は、異形柱部及び矩形柱部の共通電極として利用される。
【先行技術文献】
【特許文献】
【0006】
特開2020-155900号公報
【発明の概要】
【発明が解決しようとする課題】
【0007】
特許文献1の超音波振動子では、異形柱部同士の間が樹脂で埋められている。換言すると、特許文献1の超音波振動子では、圧電素子に形成された切り込みが部分的に樹脂で埋められている。そのため、圧電素子を振動させたときに、不要な振動が生じるという問題点がある。
【0008】
上記問題は、異形柱部同士の間を樹脂で埋めなければ生じない。しかしながら、その場合、圧電素子は構造的に不安定になり得る。特に、セラミックス製板状物に形成される切り込みがセラミックス製板状物の前面にまで達するフルカット構造を想定した場合、圧電素子は構造的に不安定になる可能性が高い。
【0009】
また、特許文献1の超音波振動子では、導電性接着剤を用いて銅箔を背面電極層に接着しているが、導電性接着剤は接着強度が弱いという問題点もある。
【0010】
本発明は、所望の振動を得ることができるとともに安定した構造を有する圧電振動子を提供することを目的とする。
【課題を解決するための手段】
(【0011】以降は省略されています)
この特許をJ-PlatPat(特許庁公式サイト)で参照する
関連特許
株式会社トーキン
圧電振動子
5日前
株式会社トーキン
電流センサ装置
3日前
株式会社トーキン
積層圧電アクチュエータ
3日前
個人
イヤーマフ
9日前
個人
監視カメラシステム
18日前
キーコム株式会社
光伝送線路
19日前
個人
スイッチシステム
3日前
WHISMR合同会社
収音装置
1か月前
サクサ株式会社
中継装置
25日前
サクサ株式会社
中継装置
24日前
個人
スキャン式車載用撮像装置
18日前
アイホン株式会社
電気機器
1か月前
サクサ株式会社
無線通信装置
24日前
サクサ株式会社
無線通信装置
24日前
キヤノン電子株式会社
画像読取装置
3日前
キヤノン電子株式会社
画像読取装置
1か月前
ヤマハ株式会社
放音制御装置
3日前
個人
映像表示装置、及びARグラス
4日前
株式会社リコー
画像形成装置
11日前
キヤノン電子株式会社
画像読取装置
17日前
サクサ株式会社
無線システム
23日前
個人
ワイヤレスイヤホン対応耳掛け
1か月前
個人
発信機及び発信方法
23日前
キヤノン株式会社
撮像システム
1か月前
日本電気株式会社
海底分岐装置
19日前
株式会社松平商会
携帯機器カバー
1か月前
シャープ株式会社
端末装置
16日前
パテントフレア株式会社
超高速電波通信
2か月前
株式会社NTTドコモ
端末
18日前
キヤノン電子株式会社
画像処理システム
17日前
株式会社NTTドコモ
端末
18日前
沖電気工業株式会社
画像形成装置
1か月前
株式会社NTTドコモ
端末
19日前
株式会社NTTドコモ
端末
18日前
沖電気工業株式会社
画像形成装置
26日前
有限会社フィデリックス
マイクロフォン
1か月前
続きを見る
他の特許を見る