TOP
|
特許
|
意匠
|
商標
特許ウォッチ
Twitter
他の特許を見る
10個以上の画像は省略されています。
公開番号
2025162871
公報種別
公開特許公報(A)
公開日
2025-10-28
出願番号
2024066343
出願日
2024-04-16
発明の名称
除電装置
出願人
大日本印刷株式会社
代理人
弁理士法人 佐野特許事務所
主分類
H05F
3/00 20060101AFI20251021BHJP(他に分類されない電気技術)
要約
【課題】除電対象の物品の全体を確実に除電できる除電装置を提供する。
【解決手段】複数の第1電極と、複数の第2電極と、前記第1電極と前記第2電極との間に電気力線を発生させるように、前記第1電極及び前記第2電極にそれぞれ第1電圧及び前記第1電圧と異なる第2電圧を供給する電圧供給部と、を有する。第1支持具に配置された第1電極と第2支持具に配置された第2電極とが第1方向と交差する第2方向に隣り合うとともに、第1支持具に配置された第2電極と第2支持具に配置された第1電極とが第2方向と隣り合うように第1支持具及び第2支持具が配置された除電装置。
【選択図】図1
特許請求の範囲
【請求項1】
複数の第1電極と、
複数の第2電極と、
前記第1電極と前記第2電極との間に電気力線を発生させるように、前記第1電極及び前記第2電極にそれぞれ第1電圧及び前記第1電圧と異なる第2電圧を供給する電圧供給部と、
前記第1電極と前記第2電極とを第1方向に距離をあけて交互に配置した第1支持具及び第2支持具と、を有し、
前記第1支持具に配置された前記第1電極と前記第2支持具に配置された前記第2電極とが前記第1方向と交差する第2方向に隣り合うとともに、前記第1支持具に配置された前記第2電極と前記第2支持具に配置された前記第1電極とが前記第2方向と隣り合うように前記第1支持具及び前記第2支持具が配置された除電装置。
続きを表示(約 630 文字)
【請求項2】
1の第1電極と、
1の第2電極と、
前記第1電極と前記第2電極との間に電気力線を発生させるように、前記第1電極及び前記第2電極にそれぞれ第1電圧及び前記第1電圧と異なる第2電圧を供給する電圧供給部と、
前記第1電極を支持する第1支持具と、
前記第2電極を支持する第2支持具と、を有し、
前記第1電極と前記第2電極とが所定の間隔をあけて配置されるように、前記第1支持具及び前記第2支持具が配置された除電装置。
【請求項3】
前記電圧供給部は、前記第1電圧を接地電圧以上の電圧とし、前記第2電圧を接地電圧以下の電圧とする請求項1又は請求項2に記載の除電装置。
【請求項4】
前記第1支持具及び前記第2支持具は、シート状である請求項1又は請求項2に記載の除電装置。
【請求項5】
前記第1支持具及び前記第2支持具はともに棒状である請求項1又は請求項2に記載の除電装置。
【請求項6】
前記第1電極と前記第2電極との前記第1方向の距離は、30cm以上60cm以下である請求項1に記載の除電装置。
【請求項7】
前記第1電極と前記第2電極との前記第2方向の距離は、60cm以上200cm以下である請求項1に記載の除電装置。
【請求項8】
前記第1電極と前記第2電極とは同数である請求項1に記載の除電装置。
発明の詳細な説明
【技術分野】
【0001】
本発明は、除電装置に関する。
続きを表示(約 1,500 文字)
【背景技術】
【0002】
従来、物品にイオン(正イオン及び負イオン)を吹き付けて、物品の除電を行うイオン発生器が提案されている。イオン発生器は、コロナ放電により正イオン及び負イオンを発生させる構成を挙げることができる。具体的には、イオン発生器は、一対の電極に電圧を印加することで起こるコロナ放電により、空気中の分子(例えば水分子)を電気的に分解し、正イオン(水素イオン(H+))及び負イオン(酸素イオン(O2-))を発生させる( 例えば、特許文献1 ) 。
【先行技術文献】
【特許文献】
【0003】
特開2022―149561号公報
【発明の概要】
【発明が解決しようとする課題】
【0004】
イオンを吹き付けて除電を行う除電装置では、イオンを含む気流を発生させるために、送風装置を備える必要があり、構成が複雑になる。イオンを吹き付けて除電を行う構成の場合、除電対象の物品の表面の除電は、可能であるが、内部の除電が困難な場合がある。
【0005】
また、上述したような、コロナ放電を利用するイオン発生器の場合、コロナ放電のために数千ボルト以上の高電圧を印加する必要がある。そのため、高電圧を発生させるための電源回路が必要になり、装置構成が複雑化及び大型化する。
【0006】
本発明は、簡単な構成を有するとともに、除電対象の物品の全体を確実に除電できる除電装置を提供することを目的とする。
【課題を解決するための手段】
【0007】
上記目的を達成するために本発明の除電装置は、複数の第1電極と、複数の第2電極と、前記第1電極と前記第2電極との間に電気力線を発生させるように、前記第1電極及び前記第2電極にそれぞれ第1電圧及び前記第1電圧と異なる第2電圧を供給する電圧供給部と、前記第1電極と前記第2電極とを第1方向に距離をあけて交互に配置した第1支持具及び第2支持具と、を有する。前記第1支持具に配置された前記第1電極と前記第2支持具に配置された前記第2電極とが前記第1方向と交差する第2方向に隣り合うとともに、前記第1支持具に配置された前記第2電極と前記第2支持具に配置された前記第1電極とが前記第2方向と隣り合うように前記第1支持具及び前記第2支持具が配置される。
【発明の効果】
【0008】
本発明の除電装置によると、簡単な構成を有するとともに、除電対象の物品の全体を確実に除電することができる。
【図面の簡単な説明】
【0009】
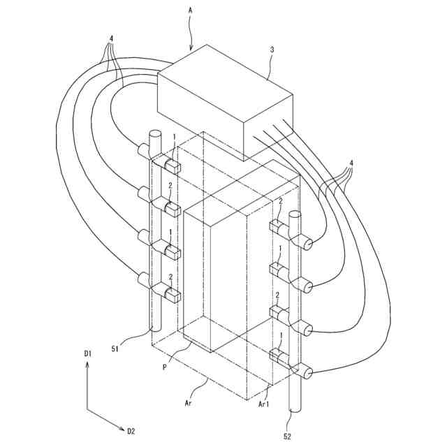
第1実施形態にかかる除電装置の概略図である。
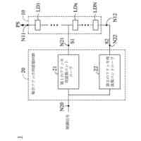
図1に示す除電装置の構成を示すブロック図である。
正極及び負極で発生する電気力を示す電気力線ELを示す図である。
除電装置における電気力線を示す概略図である。
除電対象領域に正に帯電した物品が配置された状態を示す概略図である。
除電対象領域に負に帯電した物品が配置された場合を示す概略図である。
除電装置を利用したシート搬送装置の概略図である。
除電装置を利用した物品処理装置の概略図である。
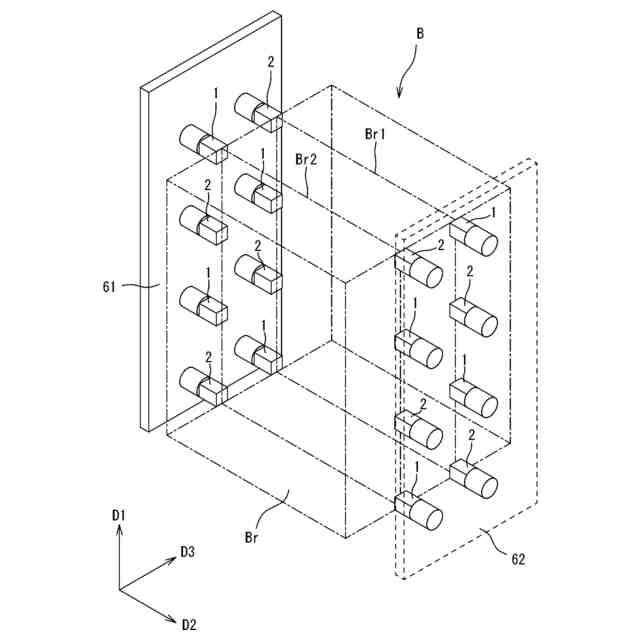
他の例の除電装置の概略図である。
他の例の除電装置の概略図である。
除電装置の利用例の概略図である。
【発明を実施するための形態】
【0010】
以下の説明において、静電気等で帯電している物品Pから電荷を取り除く動作を除電と称する。
(【0011】以降は省略されています)
この特許をJ-PlatPat(特許庁公式サイト)で参照する
関連特許
個人
電気式バーナー
13日前
シャープ株式会社
加熱機器
6日前
サクサ株式会社
開き角度規制構造
20日前
マクセルイズミ株式会社
誘導加熱調理装置
13日前
マクセルイズミ株式会社
誘導加熱調理装置
13日前
象印マホービン株式会社
電子レンジ
8日前
株式会社遠藤照明
電源、照明装置及び照明システム
14日前
矢崎総業株式会社
バスバ配置構造
1日前
矢崎総業株式会社
バスバ配置構造
14日前
Astemo株式会社
電子制御装置
20日前
日本電気株式会社
ラインカード及びイジェクタ
13日前
コイト電工株式会社
情報処理装置
21日前
日本放送協会
接続用配線基板
1日前
株式会社東芝
電子装置
13日前
三菱電機株式会社
電子機器
16日前
京セラ株式会社
配線基板
6日前
京セラ株式会社
配線基板
6日前
矢崎総業株式会社
バスバー
13日前
大日本印刷株式会社
除電装置
2日前
信越ポリマー株式会社
配線基板及びその製造方法
3日前
日東電工株式会社
配線回路基板
13日前
株式会社デンソーウェーブ
筐体
14日前
株式会社電磁シールド研究所
サーバーラック
21日前
味の素株式会社
基板の製造方法
20日前
リンテック株式会社
配線シート
20日前
リンテック株式会社
配線シート
20日前
株式会社ミクロ技術研究所
貫通孔付きガラス基板
16日前
日本碍子株式会社
三相型ハニカムヒータ
20日前
味の素株式会社
配線板の製造方法
20日前
互貴興業股ふん有限公司
照明モジュール回路
6日前
パナソニックオートモーティブシステムズ株式会社
電子機器
20日前
矢崎総業株式会社
電気接続ユニット
8日前
キヤノン株式会社
多層プリント基板
16日前
日本特殊陶業株式会社
加熱装置
13日前
株式会社新陽社
照明装置用の制御回路
20日前
東芝ライテック株式会社
情報処理装置
21日前
続きを見る
他の特許を見る