TOP
|
特許
|
意匠
|
商標
特許ウォッチ
Twitter
他の特許を見る
公開番号
2025159801
公報種別
公開特許公報(A)
公開日
2025-10-22
出願番号
2024062569
出願日
2024-04-09
発明の名称
電気接続ユニット
出願人
矢崎総業株式会社
代理人
個人
,
個人
,
個人
,
個人
,
個人
主分類
H05K
7/20 20060101AFI20251015BHJP(他に分類されない電気技術)
要約
【課題】 放熱性の向上を図ることができる電気接続ユニットを提供する。
【解決手段】一実施形態の電気接続ユニットは、第1部材と、第2部材と、第1電子部品と、第2電子部品と、第1バスバーと、金属部材と、第1熱伝導部材とを有する。第1バスバーは、第1端部と、第2端部と、延伸部とを有する。延伸部は、板状であり、第1部材に沿って延びている。金属部材は、第1部材に対して第2部材とは反対側に配置される。第1熱伝導部材は、第1部材と第2部材とが対向する方向を第1方向とする場合、第1方向で延伸部と金属部材との間に配置される。第1熱伝導部材は、延伸部の延伸方向を第2方向とする場合、第2方向で延伸部よりも小さな外形を有する。第1熱伝導部材は、延伸部の第2方向の中央よりも第1端部の近くに偏った位置で延伸部と重なる。
【選択図】図2
特許請求の範囲
【請求項1】
第1部材と、
前記第1部材との間に収容空間を形成する第2部材と、
前記収容空間に配置された第1電子部品と、
前記収容空間に配置された第2電子部品と、
前記第1電子部品に電気的に接続された第1端部と、前記第2電子部品に電気的に接続された第2端部と、前記第1部材に沿って延びた板状の延伸部とを含む第1バスバーと、
前記第1部材に対して前記第2部材とは反対側に配置され、前記第1部材に沿って延びた板部を含む金属部材と、
前記第1部材と前記第2部材とが対向する方向を第1方向とし、前記延伸部の延伸方向を第2方向とする場合、前記第1方向で前記延伸部と前記金属部材との間に配置され、前記第2方向に関して前記延伸部よりも小さな外形を有し、前記第1方向から見た場合に前記延伸部の前記第2方向の中央よりも前記第1端部の近くに偏った位置で前記延伸部と重なる第1熱伝導部材と、
を備えた電気接続ユニット。
続きを表示(約 1,900 文字)
【請求項2】
前記第1電子部品および前記第2電子部品は、前記第1部材に沿って配置されている、
請求項1に記載の電気接続ユニット。
【請求項3】
前記第1方向で前記延伸部と前記金属部材との間に配置され、前記第2方向で前記延伸部よりも小さな外形を有し、前記第1熱伝導部材から離れて、前記延伸部の前記第2方向の中央と前記第2端部との間で前記延伸部と重なる第2熱伝導部材をさらに備えた、
請求項1または請求項2に記載の電気接続ユニット。
【請求項4】
前記第1部材は、当該第1部材を前記第1方向に貫通した貫通孔を有し、
前記第1熱伝導部材は、前記貫通孔に配置されている、
請求項1または請求項2に記載の電気接続ユニット。
【請求項5】
前記金属部材は、冷却機構に取り付けられる固定部を有した、
請求項1または請求項2に記載の電気接続ユニット。
【請求項6】
第1電気接続モジュールと、
前記第1電気接続モジュールとは電気的な機能または外部の接続先のうち少なくとも一方が異なる第2電気接続モジュールと、
を備え、
前記第1電気接続モジュールは、前記第1部材と、前記第2部材と、前記第1電子部品と、前記第2電子部品と、前記第1バスバーと、前記第1熱伝導部材とを含み、
前記第2電気接続モジュールは、第3部材と、前記第3部材との間に収容空間を形成する第4部材と、前記第3部材と前記第4部材との間に配置された第3電子部品と、前記第3電子部品に電気的に接続され第2バスバーとを含み、
前記金属部材は、前記第1方向から見た場合、前記第1電気接続モジュールおよび前記第2電気接続モジュールと重なる、
請求項1または請求項2に記載の電気接続ユニット。
【請求項7】
前記第2バスバーは、前記第3部材に沿って延びた板状の延伸部を含み、
前記第2電気接続モジュールは、前記第1方向で前記第2バスバーの前記延伸部と前記金属部材との間に配置された第3熱伝導部材をさらに含む、
請求項6に記載の電気接続ユニット。
【請求項8】
第1部材と、
前記第1部材との間に収容空間を形成する第2部材と、
前記収容空間に配置された第1電子部品と、
前記収容空間に配置された第2電子部品と、
前記第1電子部品に電気的に接続された第1端部と、前記第2電子部品に電気的に接続された第2端部と、前記第1部材に沿って延びた板状の延伸部とを含む第1バスバーと、
前記第1部材に対して前記第2部材とは反対側に配置され、前記第1部材に沿って延びた板部を含む金属部材と、
前記第1部材と前記第2部材とが対向する方向を第1方向とし、前記延伸部の延伸方向を第2方向とする場合、前記第1方向で前記延伸部と前記金属部材との間に配置され、前記第2方向に関して前記延伸部の半分よりも小さな外形を有し、前記延伸部の前記第2方向の中央と前記第1端部との間で前記延伸部と重なる第1熱伝導部材と、
を備えた電気接続ユニット。
【請求項9】
第1電気接続モジュールと、
前記第1電気接続モジュールとは電気的な機能または外部の接続先のうち少なくとも一方が異なる第2電気接続モジュールと、
金属部材と、
を備え、
前記第1電気接続モジュールは、
第1部材と、
前記第1部材との間に第1収容空間を形成する第2部材と、
前記第1収容空間に配置された第1電子部品と、
前記第1収容空間に配置された第2電子部品と、
前記第1電子部品に電気的に接続された第1端部と、前記第2電子部品に電気的に接続された第2端部と、前記第1部材に沿って延びた板状の延伸部とを含む第1バスバーと、
前記第1部材と前記第2部材とが対向する方向を第1方向とする場合、前記第1方向で前記延伸部と前記金属部材との間に配置された第1熱伝導部材と、
を有し、
前記第2電気接続モジュールは、
第3部材と、
前記第3部材との間に第2収容空間を形成する第4部材と、
前記第2収容空間に配置された第3電子部品と、
前記第3電子部品に電気的に接続された第2バスバーと、
を有し、
前記金属部材は、前記第1方向から見た場合、前記第1電気接続モジュールおよび前記第2電気接続モジュールと重なる、
電気接続ユニット。
発明の詳細な説明
【技術分野】
【0001】
本発明の実施形態は、電気接続ユニットに関する。
続きを表示(約 2,300 文字)
【背景技術】
【0002】
特許文献1には、車両に搭載されるジャンクションボックスが開示されている。ジャンャンクションボックス内には、複数の電子部品が搭載されている。
【先行技術文献】
【特許文献】
【0003】
特開2022-99475号公報
【発明の概要】
【発明が解決しようとする課題】
【0004】
ところで今後、電動車両における通電時間および/または通電電流値の増加に伴い、発熱量が多くなることが予想される。このため、電気接続ユニットの放熱性の向上が期待されている。
【0005】
一実施形態は、放熱性の向上を図ることができる電気接続ユニットを提供する。
【課題を解決するための手段】
【0006】
一実施形態の電気接続ユニットは、第1部材と、第2部材と、第1電子部品と、第2電子部品と、第1バスバーと、金属部材と、第1熱伝導部材とを有する。前記第2部材は、前記第1部材との間に収容空間を形成する。前記第1電子部品は、前記収容空間に配置される。前記第2電子部品は、前記収容空間に配置される。前記第1バスバーは、第1端部と、第2端部と、延伸部とを有する。前記第1端部は、前記第1電子部品に電気的に接続される。前記第2端部は、前記第2電子部品に電気的に接続される。前記延伸部は、板状であり、前記第1部材に沿って延びている。前記金属部材は、前記第1部材に対して前記第2部材とは反対側に配置される。前記金属部材は、前記第1部材に沿って延びた板部を含む。前記第1熱伝導部材は、前記第1部材と前記第2部材とが対向する方向を第1方向とする場合、前記第1方向で前記延伸部と前記金属部材との間に配置される。前記第1熱伝導部材は、前記延伸部の延伸方向を第2方向とする場合、前記第2方向に関して前記延伸部よりも小さな外形を有する。前記第1熱伝導部材は、前記第1方向から見た場合に、前記延伸部の前記第2方向の中央よりも前記第1端部の近くに偏った位置で前記延伸部と重なる。
【0007】
一実施形態の電気接続ユニットは、第1部材と、第2部材と、第1電子部品と、第2電子部品と、第1バスバーと、金属部材と、第1熱伝導部材とを有する。前記第2部材は、前記第1部材との間に収容空間を形成する。前記第1電子部品は、前記収容空間に配置される。前記第2電子部品は、前記収容空間に配置される。前記第1バスバーは、第1端部と、第2端部と、延伸部とを有する。前記第1端部は、前記第1電子部品に電気的に接続される。前記第2端部は、前記第2電子部品に電気的に接続される。前記延伸部は、板状であり、前記第1部材に沿って延びている。前記金属部材は、前記第1部材に対して前記第2部材とは反対側に配置される。前記金属部材は、前記第1部材に沿って延びた板部を含む。前記第1熱伝導部材は、前記第1部材と前記第2部材とが対向する方向を第1方向とする場合、前記第1方向で前記延伸部と前記金属部材との間に配置される。前記第1熱伝導部材は、前記延伸部の延伸方向を第2方向とする場合、前記第2方向に関して前記延伸部の半分よりも小さな外形を有する。前記第1熱伝導部材は、前記第1方向から見た場合に、前記延伸部の前記第2方向の中央と前記第1端部との間で前記延伸部と重なる。
【0008】
一実施形態の電気接続ユニットは、第1電気接続モジュールと、第2電気接続モジュールと、金属部材とを有する。前記第2電気接続モジュールは、前記第1電気接続モジュールとは電気的な機能が異なる、または外部の接続先が異なる。前記第1電気接続モジュールは、第1部材と、第2部材と、第1電子部品と、第2電子部品と、第1バスバーと、第1熱伝導部材とを有する。前記第2部材は、前記第1部材との間に第1収容空間を形成する。前記第1電子部品は、前記第1収容空間に配置される。前記第2電子部品は、前記第1収容空間に配置される。前記第1熱伝導部材は、第1端部と、第2端部と、延伸部とを有する。前記第1端部は、前記第1電子部品に電気的に接続される。前記第2端部は、前記第2電子部品に電気的に接続される。前記延伸部は、板状であり、前記第1部材に沿って延びている。前記第1熱伝導部材は、前記第1部材と前記第2部材とが対向する方向を第1方向とする場合、前記第1方向で前記延伸部と前記金属部材との間に配置される。前記第2電気接続モジュールは、前記第3部材と、第4部材と、第3電子部品と、第2バスバーとを有する。前記第4部材は、前記第3部材との間に第2収容空間を形成する。前記第3電子部品は、前記第2収容空間に配置される。前記第2バスバーは、前記第3電子部品に電気的に接続される。前記金属部材は、前記第1方向から見た場合、前記第1電気接続モジュールおよび前記第2電気接続モジュールと重なる。
【発明の効果】
【0009】
一実施形態によれば、電気接続ユニットの放熱性の向上を図ることができる。
【図面の簡単な説明】
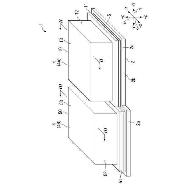
【0010】
第1実施形態に係る電気接続ユニットを示す斜視図である。
図1に示された電気接続ユニットのII-II線に沿う部分断面図である。
図1に示された電気接続ユニットのIII-III線に沿う部分断面図である。
第2実施形態に係る電気接続ユニットを示す部分断面図である。
【発明を実施するための形態】
(【0011】以降は省略されています)
この特許をJ-PlatPat(特許庁公式サイト)で参照する
関連特許
矢崎総業株式会社
端子
10日前
矢崎総業株式会社
箱状体
1か月前
矢崎総業株式会社
箱状体
3日前
矢崎総業株式会社
箱状体
3日前
矢崎総業株式会社
箱状体
1か月前
矢崎総業株式会社
箱状体
3日前
矢崎総業株式会社
照明装置
11日前
矢崎総業株式会社
照明装置
11日前
矢崎総業株式会社
コネクタ
29日前
矢崎総業株式会社
コネクタ
28日前
矢崎総業株式会社
コネクタ
24日前
矢崎総業株式会社
照明装置
10日前
矢崎総業株式会社
コネクタ
1か月前
矢崎総業株式会社
コネクタ
1か月前
矢崎総業株式会社
照明装置
16日前
矢崎総業株式会社
コネクタ
1か月前
矢崎総業株式会社
コネクタ
1か月前
矢崎総業株式会社
接続構造
3日前
矢崎総業株式会社
コネクタ
1か月前
矢崎総業株式会社
バスバー
21日前
矢崎総業株式会社
報知装置
17日前
矢崎総業株式会社
コネクタ
1か月前
矢崎総業株式会社
コネクタ
1か月前
矢崎総業株式会社
照明構造
1か月前
矢崎総業株式会社
止水部材
1か月前
矢崎総業株式会社
コネクタ
1か月前
矢崎総業株式会社
コネクタ
2日前
矢崎総業株式会社
コネクタ
1か月前
矢崎総業株式会社
コネクタ
2日前
矢崎総業株式会社
電気接続箱
1か月前
矢崎総業株式会社
ゴムブーツ
1か月前
矢崎総業株式会社
電気接続箱
1か月前
矢崎総業株式会社
電気接続箱
1か月前
矢崎総業株式会社
カバー構造
8日前
矢崎総業株式会社
プロテクタ
1か月前
矢崎総業株式会社
スイッチ装置
今日
続きを見る
他の特許を見る