TOP
|
特許
|
意匠
|
商標
特許ウォッチ
Twitter
他の特許を見る
公開番号
2025158011
公報種別
公開特許公報(A)
公開日
2025-10-16
出願番号
2024060430
出願日
2024-04-03
発明の名称
電源、照明装置及び照明システム
出願人
株式会社遠藤照明
代理人
主分類
H05B
47/20 20200101AFI20251008BHJP(他に分類されない電気技術)
要約
【課題】連結個数が変わりうる負荷を駆動する電源において、異常を適切に判断することにより安全性を確保すること。
【解決手段】負荷に対してON期間とOFF期間が繰り返されるパルス電流を印加する電源であって、異常判定ON電流値を設定する異常判定電流値設定手段と、前記異常判定ON電流値を超えた異常電流値の回数をカウントする異常電流値カウント手段と、当該回数が一定値を超えた場合に異常と判定する異常判定手段を備える。
【選択図】図1
特許請求の範囲
【請求項1】
負荷に対してON期間とOFF期間が繰り返されるパルス電流を印加する電源であって、
異常判定ON電流値を設定する異常判定電流値設定手段と、
前記異常判定ON電流値を超えた異常電流値の回数をカウントする異常電流値カウント手段と、
当該回数が一定値を超えた場合に異常と判定する異常判定手段を備える電源。
続きを表示(約 660 文字)
【請求項2】
前記電源は、前記負荷に対して前記パルス電流を印加した後の初期ON電流値の検出手段である初期ON電流値検出手段を備え、
前記異常判定ON電流値は、前記初期ON電流値を元に、それより大きい電流値であって、電源の最大定格電流値よりも小さい電流値とする、
請求項1記載の電源。
【請求項3】
前記異常判定手段により異常と判定された場合に、前記負荷への電流の印加を停止する電流停止手段を備える、
請求項1記載の電源。
【請求項4】
前記電流停止手段の後、一定時間をおいて再度前記負荷への電流を印加する電流再印加手段を有する、
請求項3記載の電源。
【請求項5】
請求項1記載の電源と、前記電源に接続する前記負荷を備え、前記負荷がLEDである照明装置であって、
前記負荷を複数連結して前記電源に接続することが可能である、照明装置。
【請求項6】
負荷であるLEDと、前記負荷に対して電流を印加する電源と、前記電源と通信する制御装置を備えた照明システムであって、
前記電源は、
異常判定電流値を設定する異常判定電流値設定手段と、
前記異常判定電流値を超えた異常電流値の回数をカウントする異常電流値カウント手段と、
当該回数が一定値を超えた場合に異常と判定する異常判定手段と、
前記制御装置に前記異常と判定された情報を通信する異常通知手段とを備える、
照明システム。
発明の詳細な説明
【技術分野】
【0001】
本発明は、安全機能を備えた電源及び当該電源を用いた照明装置、照明システムに関する。
続きを表示(約 1,200 文字)
【背景技術】
【0002】
照明のLED化に伴い、明るさを変化させる調光や、色温度や色合いを変化させる調色を容易にできるようになった。また、蛍光灯などの従来型光源に比べてLEDが小型で使いやすいため、テープライト(フレキシブルライトなどとも呼ばれる)型の照明装置が用いられるようになってきた。その一例を示す特許文献1では、テープライト(特許文献1では照明具と記載)を「複数連結し、所望の長さに延長することができる」という有利な点が記載されている。
【0003】
そのような照明装置の普及に伴い、異常電流発生などのトラブルも報告されるようになってきた。その対策として、負荷異常を検知した場合に自動停止する電源が用いられるようになってきた。
【0004】
電源における負荷異常検知を引用文献2に示す。電源(特許文献2ではLED点灯装置と記載)において、出力電流パラメータの異常が1秒以上の一定期間にわたって検出されることが繰り返された場合に、出力電流の供給が停止される、とされている。
【先行技術文献】
【特許文献】
【0005】
特許5452746号公報
特許6273894号公報
【発明の概要】
【発明が解決しようとする課題】
【0006】
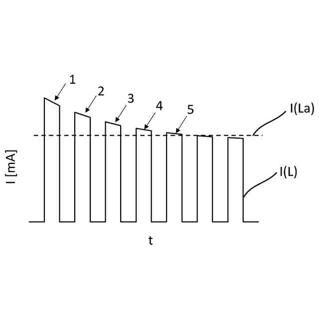
特許文献1に記載のテープライトを駆動する場合、テープライトを発光させる電源装置にとっては、「テープライトの連結個数」により負荷を駆動する電流値が異なるため、負荷異常の判断が難しくなるという問題がある。
【0007】
特許文献2では、電源に「過電流閾値」が設定され、電流検出値が過電流閾値を所定時間以上継続して超えた場合に、異常が発生したものとして保護回路を動作させている。しかし、テープライトの場合には、テープライト連結個数により駆動電流値が異なるため、固定した「過電流閾値」では連結個数の変化に対応できない。
【0008】
また、本願発明者らが異常現象を解析した結果、「電流検出値が過電流閾値を所定時間以上継続して超えた場合」に該当しない、つまり特許文献2の方式では異常と判断されない、短時間の異常現象が起こりうることがわかった。
【0009】
そこで、本発明は、連結個数が変わりうる負荷を駆動する電源において、異常を適切に判断することにより安全性を確保することを目的とする。
【課題を解決するための手段】
【0010】
本発明の電源は、負荷に対してON期間とOFF期間が繰り返されるパルス電流を印加する電源であって、
異常判定ON電流値を設定する異常判定電流値設定手段と、
前記異常判定ON電流値を超えた異常電流値の回数をカウントする異常電流値カウント手段と、
当該回数が一定値を超えた場合に異常と判定する異常判定手段を備える。
(【0011】以降は省略されています)
この特許をJ-PlatPat(特許庁公式サイト)で参照する
関連特許
株式会社遠藤照明
照明装置
1か月前
株式会社遠藤照明
光源ユニット及び照明器具
9日前
株式会社遠藤照明
電源、照明装置及び照明システム
9日前
株式会社遠藤照明
筒型送風機
3日前
株式会社遠藤照明
カメラ連動照明制御システム
22日前
個人
電子部品の実装方法
24日前
個人
非衝突型ガウス加速器
2か月前
個人
電気式バーナー
8日前
愛知電機株式会社
装柱金具
16日前
日本精機株式会社
回路基板
1か月前
キヤノン株式会社
電子機器
1か月前
イビデン株式会社
配線基板
17日前
日本放送協会
基板固定装置
1か月前
アイホン株式会社
電気機器
1か月前
アイホン株式会社
電気機器
2か月前
個人
節電材料
2か月前
メクテック株式会社
配線基板
2か月前
東レ株式会社
霧化状活性液体供給装置
1か月前
マクセル株式会社
配列用マスク
3か月前
イビデン株式会社
プリント配線板
1か月前
トキコーポレーション株式会社
照明器具
3か月前
イビデン株式会社
配線基板
1か月前
イビデン株式会社
プリント配線板
2か月前
サクサ株式会社
開き角度規制構造
15日前
株式会社デンソー
電子装置
17日前
イビデン株式会社
配線基板
2か月前
FDK株式会社
基板
23日前
株式会社レクザム
剥離装置
16日前
シャープ株式会社
加熱機器
1日前
サクサ株式会社
筐体の壁掛け構造
1か月前
日産自動車株式会社
電子機器
3か月前
カシン工業株式会社
PTC発熱装置
2か月前
株式会社レゾナック
冷却装置
23日前
新電元工業株式会社
電子装置
1か月前
富士フイルム株式会社
積層体
17日前
新電元工業株式会社
充電装置
3か月前
続きを見る
他の特許を見る