TOP
|
特許
|
意匠
|
商標
特許ウォッチ
Twitter
他の特許を見る
10個以上の画像は省略されています。
公開番号
2025154855
公報種別
公開特許公報(A)
公開日
2025-10-10
出願番号
2024058093
出願日
2024-03-29
発明の名称
三相型ハニカムヒータ
出願人
日本碍子株式会社
代理人
アクシス国際弁理士法人
主分類
H05B
3/03 20060101AFI20251002BHJP(他に分類されない電気技術)
要約
【課題】熱効率及び熱交換効率の高い三相型ハニカムヒータを提供すること。
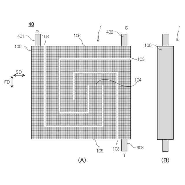
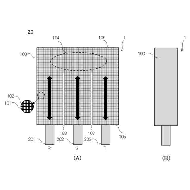
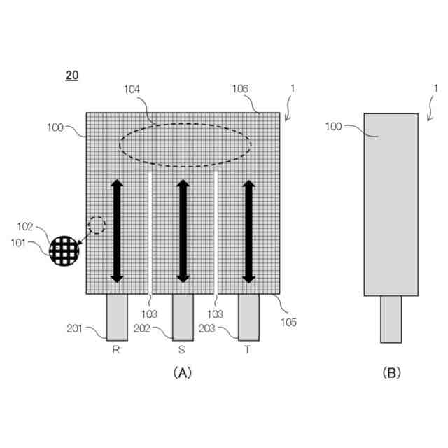
【解決手段】外周壁と、外周壁の内側に配設され、一方の端面から他方の端面まで延びる流路を形成する複数のセル101を区画形成する隔壁102と、を備えるハニカム構造体1と、三相交流電源回路の第1相出力端子(R)に接続可能な第1電極と、三相交流電源回路の第2相出力端子(S)に接続可能な第2電極と、三相交流電源回路の第3相出力端子(T)に接続可能な第3電極と、を備え、ハニカム構造体が、第1電極201、第2電極202、及び第3電極203をスター型結線で接続するための通電経路を外周壁及び/又は隔壁に規定するように配設されたスリットと101、102、103、第1電極201、第2電極202、及び第3電極203を互いに接続している接続部104と、を備える、三相型ハニカムヒータ。
【選択図】図3
特許請求の範囲
【請求項1】
外周壁と、前記外周壁の内側に配設され、一方の端面から他方の端面まで延びる流路を形成する複数のセルを区画形成する隔壁と、を備えるハニカム構造体と、
前記外周壁に接続され、三相交流電源回路の第1相出力端子(R)に接続可能な第1電極と、
前記外周壁上に前記第1電極から離して接続され、前記三相交流電源回路の第2相出力端子(S)に接続可能な第2電極と、
前記外周壁上に、前記第1電極及び前記第2電極からそれぞれ離して接続され、前記三相交流電源回路の第3相出力端子(T)に接続可能な第3電極と、を備え、
前記ハニカム構造体が、
前記第1電極、前記第2電極、及び前記第3電極をスター型結線で接続するための通電経路を前記外周壁及び/又は前記隔壁に規定するように配設されたスリットと、
前記第1電極、前記第2電極、及び前記第3電極を互いに接続している接続部と、
を備える、三相型ハニカムヒータ。
続きを表示(約 2,300 文字)
【請求項2】
前記接続部から、前記第1電極、前記第2電極、及び前記第3電極が接続されている前記外周壁までの3つの通電経路の電気抵抗が等しい、請求項1に記載の三相型ハニカムヒータ。
【請求項3】
前記接続部から、前記第1電極、前記第2電極、及び前記第3電極が接続されている前記外周壁までの3つの通電経路の長さが等しい、請求項2に記載の三相型ハニカムヒータ。
【請求項4】
前記ハニカム構造体は、前記外周壁に第1側面及び前記第1側面と対向する第2側面を備え、前記スリットが、前記第1側面を基端として前記第2側面に向かって延び、且つ前記セルの延びる方向に平行な方向に延びている複数のスリットを備え、前記接続部が、前記第2側面側に配設されており、前記第1電極、前記第2電極及び前記第3電極が、前記第1側面上に配設されている、請求項1~3のいずれか1項に記載の三相型ハニカムヒータ。
【請求項5】
前記ハニカム構造体は、前記外周壁に第1側面及び前記第1側面と対向する第2側面を備え、
前記セルの延びる方向に垂直な断面においてお互いに直交する方向を第1方向及び第2方向としたときに、前記スリットが、前記第1方向及び前記第2方向に延びており、且つ前記セルの延びる方向に平行に延びている複数のスリットを備え、前記接続部が、前記ハニカム構造体の内部に配設されている、請求項1~3のいずれか1項に記載の三相型ハニカムヒータ。
【請求項6】
外周壁と、前記外周壁の内側に配設され、一方の端面から他方の端面まで延びる流路を形成する複数のセルを区画形成する隔壁と、を備えるハニカム構造体と、
前記ハニカム構造体の外周壁上に接続され、三相交流電源回路の第1相出力端子(R)に接続可能な第1電極と、
前記ハニカム構造体の外周壁上に前記第1電極から離して接続され、前記三相交流電源回路の第2相出力端子(S)に接続可能な第2電極と、
前記ハニカム構造体の外周壁上に前記第1電極及び前記第2電極からそれぞれ離して接続され、前記三相交流電源回路の第3相出力端子(T)に接続可能な第3電極と、
前記ハニカム構造体の外周壁上に前記第1電極、前記第2電極及び第3電極からそれぞれ離して接続され、前記三相交流電源回路の第1相出力端子(R)に接続可能な第4電極と、を備え、
前記ハニカム構造体が、
前記第1電極、前記第2電極、前記第3電極及び前記第4電極をデルタ型結線で接続するための第1通電経路、第2通電経路及び第3通電経路を有する通電経路を前記外周壁及び前記隔壁に規定するように配設されたスリットを備える、三相型ハニカムヒータ。
【請求項7】
前記通電経路が、前記第1電極と前記第2電極との間の前記第1通電経路と、前記第2電極と前記第3電極との間の前記第2通電経路と、前記第3電極と前記第4電極との間の前記第3通電経路とを備え、前記第1通電経路、前記第2通電経路、及び前記第3通電経路の電気抵抗が等しい請求項6に記載の三相型ハニカムヒータ。
【請求項8】
前記通電経路が、前記第1電極と前記第2電極との間の前記第1通電経路と、前記第2電極と前記第3電極との間の前記第2通電経路と、前記第3電極と前記第4電極との間の前記第3通電経路とを備え、前記第1通電経路、前記第2通電経路、及び前記第3通電経路の長さが等しい請求項7に記載の三相型ハニカムヒータ。
【請求項9】
前記ハニカム構造体は、前記外周壁に第1側面及び前記第1側面と対向する第2側面を備え、
前記スリットは、
前記セルの延びる方向に垂直な断面においてお互いに直交する方向を第1方向及び第2方向としたときに、前記第1側面を基端として前記第1方向に沿って延び、前記第2側面側に先端を有する第1スリットと、
前記第1スリットに対して前記第2方向に離れた第2スリットであって、前記第2側面を基端として前記第1方向に沿って延び、前記第1側面側に先端を有する前記第2スリットと
を備え、
前記第1スリット及び前記第2スリットは、前記セルの延びる方向に垂直な断面において前記第2方向に交互に配置されており、これにより電流が、前記外周壁及び/又は前記隔壁に沿って前記第1方向及び前記第2方向へ流れることを順に繰り返すことが可能である請求項6~8のいずれか1項に記載の三相型ハニカムヒータ。
【請求項10】
前記ハニカム構造体は、前記外周壁に第1側面及び前記第1側面と対向する第2側面を備え、
前記スリットは、
前記セルの延びる方向に平行な断面においてお互いに直交する方向を第1方向及び第2方向としたときに、前記第1側面を基端として前記第1方向に沿って延び、前記第2側面側に先端を有する第1スリットと、
前記セルの延びる方向に平行な断面において前記第1スリットに対して前記第2方向に離れた第2スリットであって、前記第2側面を基端として前記第1方向に沿って延び、前記第1側面側に先端を有する前記第2スリットと
を備え、
前記第1スリット及び前記第2スリットは、前記セルの延びる方向に平行な断面において前記第2方向に交互に配置されており、これにより電流が、前記外周壁及び/又は前記隔壁に沿って前記第1方向及び前記第2方向へ流れることを順に繰り返すことが可能である請求項6~8のいずれか1項に記載の三相型ハニカムヒータ。
(【請求項11】以降は省略されています)
発明の詳細な説明
【技術分野】
【0001】
本発明は、三相型ハニカムヒータに関する。
続きを表示(約 1,800 文字)
【背景技術】
【0002】
従来の三相型の発熱体として、炭化珪素材質の発熱体が知られている。例えば、特許文献1(特開2001-257056号公報)には、相対密度が90%以上の円筒状の反応焼結炭化珪素からなり、発熱部が120°間隔に配置した3本の溝がスパイラル状に切り込まれている構造、端部が120°間隔に配置した3本の溝がストレートに切り込まれている構造及び電極部が内径側に絶縁性耐火物を挿入し、外形側から金属製電極板にて固定した構造であることを特徴とする三相型炭化珪素発熱体が記載されている。
【0003】
また、特許文献2(特開平08-250263号公報)には、炭化珪素を含む泥漿を鋳込み成形し、中央発熱部及び二つの端発熱部を有する発熱部と、上記中央発熱部と二つの端発熱部を連結するための先端部とを包含してなる三相型炭化珪素発熱体において、上記先端部をW字形に形成し、上記中央発熱部と二つの端発熱部を一平面内に配置したことを特徴とする三相型炭化珪素発熱体が記載されている。
【0004】
三相型の発熱体の利点として、例えば、上記特許文献1は、「三相電源にて直接使用可能となるため、通常の単相ヒータと比較すると、単相電源に変換する装置が省けるため電源装置面で低コストであり、各相のバランスも保ち易くなるため、省電力につながる。また、片端子型となるため、加熱炉の天井や側壁から吊り下げるといったセット方法が容易となり、配線容量も少なくて済む特長も有する。」と開示している。
【0005】
一方、触媒担体等として用いられるハニカム構造体を通電して発熱させることが提案されている。例えば、特許文献3(特開平07-085952号公報)には、導電性セラミックスを主成分としてヒータ本体を形成し、該ヒータ本体にヒータ貫通孔を設けてなる三相型ハニカムヒータにおいて、該ヒータ本体に該ヒータ本体の有効長、有効幅を変化させて抵抗値を変化させる切込溝を設けてなることを特徴とするハニカムヒータが記載されている。
【先行技術文献】
【特許文献】
【0006】
特開2001-257056号公報
特開平08-250263号公報
特開平07-085952号公報
【発明の概要】
【発明が解決しようとする課題】
【0007】
特許文献1及び2に開示される三相型の発熱体は、発熱効率が高いものの、セルの流路構造を有さず、熱交換効率が限られている。そのため、従来とは異なる構造を有する三相型の発熱体が必要とされている。
【0008】
本発明は上記問題点に鑑み完成されたものであり、一実施形態において、発熱効率及び熱交換効率の高い三相型ハニカムヒータを提供することを目的とする。
【課題を解決するための手段】
【0009】
本発明者が鋭意検討した結果、ハニカム構造体を備えた三相型ハニカムヒータにおいて、複数の電極を設け、さらに三相交流電源回路を接続するための通電経路を規定するようにスリットを配設することで、上記課題を解決できることを見出した。本発明は上記知見に基づき完成されたものであり、以下に例示される。
【0010】
項目1.外周壁と、外周壁の内側に配設され、一方の端面から他方の端面まで延びる流路を形成する複数のセルを区画形成する隔壁と、を備えるハニカム構造体と、
外周壁に接続され、三相交流電源回路の第1相出力端子(R)に接続可能な第1電極と、
外周壁上に第1電極から離して接続され、三相交流電源回路の第2相出力端子(S)に接続可能な第2電極と、
外周壁上に、第1電極及び第2電極からそれぞれ離して接続され、三相交流電源回路の第3相出力端子(T)に接続可能な第3電極と、を備え、
ハニカム構造体が、
第1電極、第2電極、及び第3電極をスター型結線で接続するための通電経路を外周壁及び/又は隔壁に規定するように配設されたスリットと、
第1電極、第2電極、及び第3電極を互いに接続している接続部と、
を備える、三相型ハニカムヒータ。
(【0011】以降は省略されています)
この特許をJ-PlatPat(特許庁公式サイト)で参照する
関連特許
日本碍子株式会社
電池
1か月前
日本碍子株式会社
把持方法
9日前
日本碍子株式会社
熱交換器
13日前
日本碍子株式会社
熱交換器
5日前
日本碍子株式会社
ガスセンサ
2か月前
日本碍子株式会社
ガスセンサ
1か月前
日本碍子株式会社
亜鉛二次電池
4日前
日本碍子株式会社
空調システム
1か月前
日本碍子株式会社
ハニカム構造体
13日前
日本碍子株式会社
ハニカム構造体
24日前
日本碍子株式会社
電気加熱式担体
3日前
日本碍子株式会社
ハニカム構造体
3日前
日本碍子株式会社
ハニカム構造体
9日前
日本碍子株式会社
ハニカム構造体
2日前
日本碍子株式会社
電気加熱式担体
2日前
日本碍子株式会社
ハニカム構造体
2日前
日本碍子株式会社
ハニカム構造体
2か月前
日本碍子株式会社
ハニカム構造体
1か月前
日本碍子株式会社
メタン製造反応器
2日前
日本碍子株式会社
ハニカムフィルタ
2日前
日本碍子株式会社
アルカリ二次電池
13日前
日本碍子株式会社
金属溶湯濾過部材
2か月前
日本碍子株式会社
導波素子の製造方法
16日前
日本碍子株式会社
半導体製造装置用部材
1か月前
日本碍子株式会社
半導体製造装置用部材
2か月前
日本碍子株式会社
ウォーキングビーム炉
4日前
日本碍子株式会社
三相型ハニカムヒータ
2日前
日本碍子株式会社
センサ素子およびガスセンサ
1か月前
日本碍子株式会社
センサ素子およびガスセンサ
11日前
日本碍子株式会社
セラミックス部材の製造方法
4日前
日本碍子株式会社
ロボットハンドおよびロボット
9日前
日本碍子株式会社
セラミックス試料の酸分解方法
3日前
日本碍子株式会社
AlN単結晶基板及びデバイス
13日前
日本碍子株式会社
複合基板、複合基板の製造方法
3か月前
日本碍子株式会社
ロボットハンドおよびロボット
9日前
日本碍子株式会社
浄水膜構造体および浄水膜組立体
3日前
続きを見る
他の特許を見る