TOP
|
特許
|
意匠
|
商標
特許ウォッチ
Twitter
他の特許を見る
10個以上の画像は省略されています。
公開番号
2025162897
公報種別
公開特許公報(A)
公開日
2025-10-28
出願番号
2024066396
出願日
2024-04-16
発明の名称
スリーブ
出願人
未来工業株式会社
代理人
個人
,
個人
,
個人
主分類
F16L
5/00 20060101AFI20251021BHJP(機械要素または単位;機械または装置の効果的機能を生じ維持するための一般的手段)
要約
【課題】 施工した際、見栄えがよいスリーブを提供する。
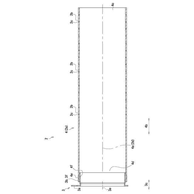
【解決手段】 スリーブ2は、配線・配管材を挿通可能な中空筒部2aを備える。この中空筒部2aは、外周面に、その中空筒部2aを切断するための案内となる、傾斜切断案内部2bと第2切断案内部2cとを有する。傾斜切断案内部2bは、中空筒部2aの軸心2dに対し所定の角度で傾斜して交差する傾斜断面2e上に設けられる。第2切断案内部2cは、中空筒部の軸心2aに対し傾斜断面2eとは異なる角度で交差する第2断面2f上に設けられる。
【選択図】 図8
特許請求の範囲
【請求項1】
配線・配管材が通されるスリーブであって、
前記配線・配管材を挿通可能な中空筒部を備え、
前記中空筒部は、その外周面に、その中空筒部を切断するための案内となる、傾斜切断案内部と第2切断案内部とを有し、
前記傾斜切断案内部は、前記中空筒部の軸心に対し所定の角度で傾斜して交差する傾斜断面上に設けられ、
前記第2切断案内部は、前記中空筒部の軸心に対し前記傾斜断面とは異なる角度で交差する第2断面上に設けられる、スリーブ。
続きを表示(約 1,400 文字)
【請求項2】
前記第2断面は、前記中空筒部の軸心に対し直交している、請求項1に記載のスリーブ。
【請求項3】
前記傾斜切断案内部と前記第2切断案内部は、互いに交差することのないよう設けられている、請求項2に記載のスリーブ。
【請求項4】
前記傾斜切断案内部と前記第2切断案内部は、前記中空筒部の外面から凹んだ溝からなり、互いの溝幅および/または溝深さが異なるように形成されている、請求項1ないし3のいずれか1項に記載のスリーブ。
【請求項5】
前記中空筒部のいずれか一方の端部側に、外側に張り出す鍔部が設けられ、その鍔部は、前記中空筒部の軸心に対して、その張り出し方向を変更可能である、請求項1ないし3のいずれか1項に記載のスリーブ。
【請求項6】
壁に形成された貫通孔に挿入されて配線・配管材が通されるスリーブであって、
前記貫通孔の壁表側の周縁に掛けられるように外側に張り出す鍔部を有する鍔部材と、前記貫通孔に挿入されて前記配線・配管材を挿通可能な調整筒体とを備え、
前記調整筒体は、その外周面に、その調整筒体を切断するための案内となる、傾斜切断案内部を有し、
前記傾斜切断案内部は、前記調整筒体の軸心に対し所定の角度で傾斜して交差する傾斜断面上に設けられ、また、
前記傾斜切断案内部は、複数設けられ、それら傾斜切断案内部が、前記調整筒体の軸心方向にそれぞれ平行に並ぶようにして傾斜切断案内群を形成し、それら傾斜切断案内部の一つを選択して、前記調整筒体の一端側を切除することで、その調整筒体の全長の長さを調整可能であり、
前記鍔部材は、前記鍔部に繋がり前記調整筒体の他端側に接続される接続部を有し、その接続部によって、前記鍔部材と前記調整筒体とは、前記鍔部材の軸心方向と前記調整筒体の軸心方向とが互いにずれた状態で接続可能である、スリーブ。
【請求項7】
前記調整筒体は、その外周面に、その調整筒体を切断するための案内となる、第2切断案内部を有し、
前記第2切断案内部は、前記調整筒体の軸心に対し前記傾斜断面とは異なる角度で交差する第2断面上に設けられ、また、
前記第2切断案内部は、複数設けられ、それら第2切断案内部が、前記傾斜切断案内群が設けられた範囲にあって、前記調整筒体の軸心方向にそれぞれ平行に並ぶようにして第2切断案内群を形成し、それら第2切断案内部の一つを選択して、前記調整筒体の一端側を切除することで、その全長の長さを調整可能である、請求項6に記載のスリーブ。
【請求項8】
前記鍔部は、円盤の外縁部分が、直交する二つの直線部によって欠落した外形形状をし、
前記接続部は、リング状に形成され、
前記調整筒体の他端側に前記接続部が嵌合した接続状態において、前記調整筒体の軸心と前記鍔部材の軸心との相対角度を変更可能であり、かつ、前記調整筒体に対し前記鍔部材を、その鍔部材の軸心回りに360度の範囲で回動可能である、請求項6または7に記載のスリーブ。
【請求項9】
前記傾斜切断案内部および/または前記第2切断案内部は、連続して延びて環状を成す凹みによって構成される、請求項1、2、3または7に記載のスリーブ。
発明の詳細な説明
【技術分野】
【0001】
この発明は、配線・配管材が通されるスリーブに関するものである。
続きを表示(約 1,600 文字)
【背景技術】
【0002】
従来、空気調和装置の配管にあたって、室内外を隔てる壁に配管を通す際には、壁に貫通孔をあけ、その貫通孔に配管スリーブを挿入していた(例えば、特許文献1参照)。図19に示すように、この配管スリーブ11は、筒状のスリーブ本体12と、そのスリーブ本体12の端部に装着されるフランジ部材13とを備えていた。そして、スリーブ本体12には、その外周面に、複数の切断補助用溝12a、12aが、スリーブ本体12の長手方向に所定の間隔で並ぶように形成されており、壁の貫通孔に合わせた長さ調整にあたって、この切断補助用溝12aに沿ってスリーブ本体12を切断して、端部を取り除いていた。
【先行技術文献】
【特許文献】
【0003】
特開2014-25577
【発明の概要】
【発明が解決しようとする課題】
【0004】
ところで、前記従来の配管スリーブ11にあっては、切断補助用溝12aが、スリーブ本体12の軸心に直交するように形成されていたため、施工にあたって、スリーブ本体12をその切断補助用溝12aに沿って切断して長さを調整すると、水勾配を得るため傾斜状態にあるスリーブ本体12の、壁から突出する端面が、壁面に対して傾斜した状態となり、見栄えが悪かった。
【0005】
この発明は、上記した従来の欠点を解決するためになされたものであり、その目的とするところは、施工した際、見栄えがよいスリーブを提供することにある。
【課題を解決するための手段】
【0006】
この発明に係るスリーブは、前記目的を達成するために、次の構成からなる。すなわち、
請求項1に記載の発明に係るスリーブは、配線・配管材が通されるスリーブであって、前記配線・配管材を挿通可能な中空筒部を備える。この中空筒部は、その外周面に、その中空筒部を切断するための案内となる、傾斜切断案内部と第2切断案内部とを有する。ここで、前記傾斜切断案内部は、前記中空筒部の軸心に対し所定の角度で傾斜して交差する傾斜断面上に設けられる。そして、前記第2切断案内部は、前記中空筒部の軸心に対し前記傾斜断面とは異なる角度で交差する第2断面上に設けられる。
【0007】
このスリーブによると、スリーブの中空筒部には、傾斜切断案内部と第2切断案内部が設けられている。そこで、このスリーブの中空筒部を壁に設けた貫通孔に挿入するにあたって、貫通孔の傾斜角度に応じて、傾斜切断案内部と第2切断案内部のいずれかを選択して、その切断案内部に合わせて中空筒部を切断することで、その切断面によって形成される中空筒部の端面を、壁の壁面に沿わせたり、または、壁の壁面にできるだけ沿わせたりすることができる。
【0008】
また、請求項2に記載の発明に係るスリーブは、請求項1に記載のスリーブにおいて、前記第2断面は、前記中空筒部の軸心に対し直交している。これにより、壁に設けた貫通孔が、壁面に直交する場合は、第2断面上の第2切断案内部のところで中空筒部を切断することで、その切断面によって形成される中空筒部の端面を、壁の壁面に沿わせることができる。
【0009】
また、請求項3に記載の発明に係るスリーブは、請求項2に記載のスリーブにおいて、前記傾斜切断案内部と前記第2切断案内部は、互いに交差することのないよう設けられている。
【0010】
また、請求項4に記載の発明に係るスリーブは、請求項1ないし3のいずれか1項に記載のスリーブにおいて、前記傾斜切断案内部と前記第2切断案内部は、前記中空筒部の外面から凹んだ溝からなり、互いの溝幅および/または溝深さが異なるように形成されている。これにより、傾斜切断案内部と第2切断案内部とを、区別しやすくなる。
(【0011】以降は省略されています)
この特許をJ-PlatPat(特許庁公式サイト)で参照する
関連特許
個人
留め具
16日前
個人
給排気装置
23日前
個人
ジョイント
1か月前
個人
ナット
1か月前
カヤバ株式会社
緩衝器
22日前
株式会社不二工機
電動弁
23日前
株式会社ノーリツ
分配弁
27日前
株式会社奥村組
制振機構
1か月前
株式会社三五
ドライブシャフト
8日前
株式会社ニフコ
クリップ
27日前
アズビル株式会社
回転弁
1か月前
株式会社奥村組
制振機構
1か月前
株式会社ノナガセ
免震装置
9日前
アマテイ株式会社
釘
1日前
個人
誘導電流活用式差動制限装置
27日前
アイホン株式会社
電気機器
1か月前
カシオ計算機株式会社
支持台
27日前
Astemo株式会社
電磁弁
23日前
個人
無段変速可能なフリーホイール
29日前
NTN株式会社
焼成軸受
7日前
NTN株式会社
焼成軸受
7日前
住友理工株式会社
カバー
14日前
株式会社パイオラックス
保持具
1か月前
Astemo株式会社
緩衝装置
23日前
株式会社荒井製作所
ガスケット
1か月前
NTN株式会社
焼結軸受
21日前
株式会社荒井製作所
ガスケット
1か月前
個人
難燃性熱橋ボルトキャップ
1か月前
リンナイ株式会社
三方弁
1か月前
カヤバ株式会社
チェックバルブ
1か月前
レック株式会社
係止器具
1日前
星和電機株式会社
難燃性断熱材
1日前
アズビル株式会社
無線式開度計
1か月前
富士電機株式会社
搬送機構
1か月前
個人
木ねじ成形型
9日前
カヤバ株式会社
筒部材及び緩衝器
22日前
続きを見る
他の特許を見る