TOP
|
特許
|
意匠
|
商標
特許ウォッチ
Twitter
他の特許を見る
公開番号
2025144987
公報種別
公開特許公報(A)
公開日
2025-10-03
出願番号
2024044945
出願日
2024-03-21
発明の名称
支持台
出願人
カシオ計算機株式会社
代理人
個人
主分類
F16M
13/00 20060101AFI20250926BHJP(機械要素または単位;機械または装置の効果的機能を生じ維持するための一般的手段)
要約
【課題】電子装置の位置や姿勢を容易に変更することができる支持台を提供する。
【解決手段】表示部と把持部とを有する電子装置の支持台1である。支持台1は、筒状に立設され、表示部が嵌められる立設部10と、立設部10の対向する一対の内面のそれぞれから内側に突出し、表示部が載置される載置部21,22,23と、を備える。一対の内面のうちの一方の内面から突出した載置部22,23には、下方に向けて湾曲し把持部を支持する湾曲部25が形成されており、立設部10には、把持部を通すために上縁部が切り欠かれた第1切欠部16と、湾曲部25に支持された把持部を通すために上縁部が切り欠かれた第1切欠部16とは異なる第2切欠部17と、が形成されている。
【選択図】図2
特許請求の範囲
【請求項1】
表示部と把持部とを有する電子装置の支持台であって、
前記表示部を支持して、前記電子装置を第1姿勢で保持する第1支持部と、
前記把持部を支持して、前記電子装置を第2姿勢で保持する第2支持部と、を備える、
支持台。
続きを表示(約 850 文字)
【請求項2】
第1姿勢で保持した前記電子装置の前記把持部を通す第1切欠部と、前記第2姿勢で保持した前記電子装置の前記把持部を通す第2切欠部とが形成されている、
請求項1に記載の支持台。
【請求項3】
表示部と把持部とを有する電子装置の支持台であって、
筒状に立設され、前記表示部が嵌められる立設部と、
前記立設部の対向する一対の内面のそれぞれから内側に突出し、前記表示部が載置される載置部と、を備え、
前記一対の内面のうちの一方の内面から突出した載置部には、下方に向けて湾曲し前記把持部を支持する湾曲部が形成されており、
前記立設部には、前記把持部を通すために上縁部が切り欠かれた第1切欠部と、前記湾曲部に支持された前記把持部を通すために上縁部が切り欠かれた前記第1切欠部とは異なる第2切欠部と、が形成されている、
支持台。
【請求項4】
前記立設部の内面には、前記載置部に載置された前記電子装置と係合する係合部が形成されている、
請求項3に記載の支持台。
【請求項5】
前記電子装置は、前記載置部に載置された場合に、下方を撮像する撮像部を有するものであって、
前記一対の内面から内側に突出した前記載置部の間には、前記撮像部を配置するための隙間が形成されている、、
請求項3に記載の支持台。
【請求項6】
前記載置部は、前記一対の内面うちの一方の内面から、対向する他方の内面に向けて下り勾配を有する、
請求項3に記載の支持台。
【請求項7】
前記載置部が下った側にある前記立設部の底部には、滑りをよくするための摩擦低減部が取り付けられている、
請求項3に記載の支持台。
【請求項8】
前記立設部に囲まれた内部を、前記立設部を通して視認できる材料から形成されている、
請求項3に記載の支持台。
発明の詳細な説明
【技術分野】
【0001】
本発明は、支持台に関する。
続きを表示(約 1,500 文字)
【背景技術】
【0002】
従来、文字や図形などの細かいものを見る際に、液晶画面に拡大した映像を表示する電子ルーペが知られている。使用上の課題点として、電子ルーペは手で持って使う必要があり、疲れやすく、両手が使えないという欠点があった。そこで、電子ルーペを据え置いて用紙などに記載された文字や図形を拡大するための可動式スタンドが市販化されている。スタンドを使うことで、電子ルーペの操作が簡単になり、両手を自由にすることができる。
【0003】
例えば、特許文献1には、ルーペ本体をスタンドで常に安定した状態で支持して、ハンドフリー状態で作業を行えるスタンド付きルーペが開示されている。
【先行技術文献】
【特許文献】
【0004】
特開2014-066778号公報
【発明の概要】
【発明が解決しようとする課題】
【0005】
特許文献1に記載の技術では、拡大対象にレンズを合わせるのに、可動部を動かす必要があるため、位置調整に時間がかかる課題が存在する。さらに、アームを前方に可変することが可能であるが、横向きにするには固定台を移動させるしかないため、例えば横文字などを拡大するのにユーザへの負担がある。
【0006】
本発明は、このような問題点に着目してなされたもので、電子装置の位置や姿勢を容易に変更することができる支持台を提供することを目的とする。
【課題を解決するための手段】
【0007】
上記目的を達成するため、本発明の第1の観点に係る支持台は、表示部と把持部とを有する電子装置の支持台であって、前記表示部を支持して、前記電子装置を第1姿勢で保持する第1支持部と、前記把持部を支持して、前記電子装置を第2姿勢で保持する第2支持部と、を備える。
【0008】
上記目的を達成するため、本発明の第2の観点に係る支持台は、表示部と把持部とを有する電子装置の支持台であって、筒状に立設され、前記表示部が嵌められる立設部と、前記立設部の対向する一対の内面のそれぞれから内側に突出し、前記表示部が載置される載置部と、を備える。前記一対の内面のうちの一方の内面から突出した載置部には、下方に向けて湾曲し前記把持部を支持する湾曲部が形成されており、前記立設部には、前記把持部を通すために上縁部が切り欠かれた第1切欠部と、前記湾曲部に支持された前記把持部を通すために上縁部が切り欠かれた前記第1切欠部とは異なる第2切欠部と、が形成されている。。
【発明の効果】
【0009】
本発明によれば、電子装置の位置や姿勢を容易に変更することができる支持台を提供することができる。
【図面の簡単な説明】
【0010】
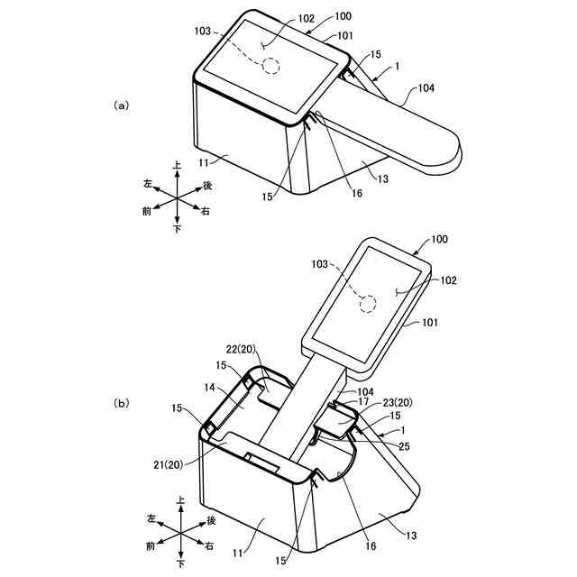
本発明の実施の形態に係る支持台が電子装置を支持した様子を示しており、(a)は電子装置を横置きにした場合の斜視図、(b)は電子装置を縦置きにした場合の斜視図。
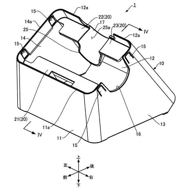
本発明の実施の形態に係る支持台を上方からみた斜視図。
本発明の実施の形態に係る支持台を下方からみた斜視図。
図2中の断面線IV-IVで切断した支持台の断面図。
図4中の断面線V-Vで切断した支持台の断面図。
図4中の断面線VI-VIで切断した支持台の断面図
本発明の実施の形態に係る支持台が電子装置を支持した様子を示した断面図であり、(a)は電子装置を横置きにした場合における図5に対応する断面図、(b)は電子装置を縦置きにした場合における図4に対応する断面図。
【発明を実施するための形態】
(【0011】以降は省略されています)
この特許をJ-PlatPat(特許庁公式サイト)で参照する
関連特許
カシオ計算機株式会社
支持台
1日前
カシオ計算機株式会社
減音器具
3日前
カシオ計算機株式会社
減音器具
3日前
カシオ計算機株式会社
電子鍵盤楽器
1日前
カシオ計算機株式会社
装飾板及び時計
2日前
カシオ計算機株式会社
光源装置及び投影装置
15日前
カシオ計算機株式会社
取付構造及び印刷装置
24日前
カシオ計算機株式会社
光源装置及び投影装置
3日前
カシオ計算機株式会社
光源装置及び投影装置
15日前
カシオ計算機株式会社
光源装置及び投影装置
3日前
カシオ計算機株式会社
端末装置及びプログラム
3日前
カシオ計算機株式会社
外装部品ユニット及び時計
1日前
カシオ計算機株式会社
電子時計及び電子時計本体
16日前
カシオ計算機株式会社
電子機器、及び表示制御方法
5日前
カシオ計算機株式会社
カッターユニット及び切断装置
1日前
カシオ計算機株式会社
電子時計、外装部材及びバンド
16日前
カシオ計算機株式会社
演奏装置、方法およびプログラム
3日前
カシオ計算機株式会社
補助バスマスタ回路及び電子機器
5日前
カシオ計算機株式会社
発音装置及び音出力制御システム
15日前
カシオ計算機株式会社
制御装置、方法およびプログラム
5日前
カシオ計算機株式会社
制御装置、方法およびプログラム
5日前
カシオ計算機株式会社
演奏装置、方法およびプログラム
2日前
カシオ計算機株式会社
時計、表示制御方法及びプログラム
16日前
カシオ計算機株式会社
ロボット、及びロボットの製造方法
1日前
カシオ計算機株式会社
情報処理装置、方法およびプログラム
1日前
カシオ計算機株式会社
制御装置、制御方法、及びプログラム
2日前
カシオ計算機株式会社
外装部品、外装部品ユニット及び時計
1日前
カシオ計算機株式会社
電子機器、登録処理方法及びプログラム
1日前
カシオ計算機株式会社
プログラム、電子機器及び登録処理方法
1日前
カシオ計算機株式会社
発音装置、接続装置及び音出力システム
15日前
カシオ計算機株式会社
テープ製造方法及びテープ製造システム
23日前
カシオ計算機株式会社
情報処理装置、表示方法、及びプログラム
5日前
カシオ計算機株式会社
位置推定装置、位置推定方法、プログラム
23日前
カシオ計算機株式会社
電子時計、針位置検出方法及びプログラム
24日前
カシオ計算機株式会社
切断制御装置、切断制御方法及びプログラム
15日前
カシオ計算機株式会社
音声提供装置、音声提供方法及びプログラム
1日前
続きを見る
他の特許を見る