TOP
|
特許
|
意匠
|
商標
特許ウォッチ
Twitter
他の特許を見る
公開番号
2025163521
公報種別
公開特許公報(A)
公開日
2025-10-29
出願番号
2024066861
出願日
2024-04-17
発明の名称
係止器具
出願人
レック株式会社
代理人
個人
,
個人
主分類
F16B
45/02 20060101AFI20251022BHJP(機械要素または単位;機械または装置の効果的機能を生じ維持するための一般的手段)
要約
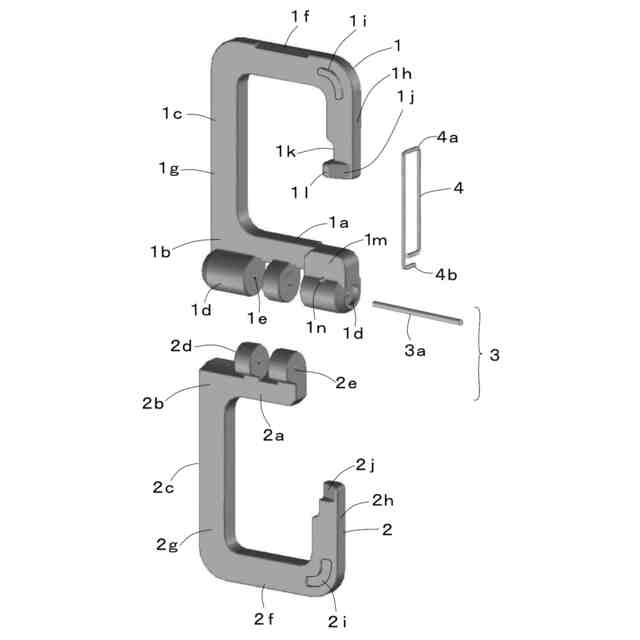
【課題】用途に応じてフック部を1個又は2個に変更可能とする係止器具を提供する。
【解決手段】係止器具は第1の枠部1と第2の枠部2とから構成され、これらは軸体部3を介して開閉自在に連結されている。第1の基部1aの他端1mに取り付けられたロック片部4を、外側方向から付勢力に抗して押圧することによってロック片部4とロック片当接部1jとが当接するロック状態が解除される。係止体に取り付けた状態の係止器具を、更に別の係止体に吊り下げたい場合には、第1、第2の嵌合部1i、2iが嵌合状態であるフック体を、両側から外側方向に引っ張ることで第1、第2のフック部1c、2cに分離させる。軸体部3を介して、開放した第1、第2の主柱部1g、2gを直線状に配置させた後に、別の係止体に第2のフック部2cを係止させる。
【選択図】図1
特許請求の範囲
【請求項1】
軸体部を介して開閉又は回動可能であり、重なり合うことで一体化する第1の枠部と第2の枠部とから構成される係止器具であって、
前記第1、第2の枠部は、一部に前記軸体部を形成する一対の第1、第2の基部と、該第1、第2の基部の一端から、それぞれ延在する鉤曲形状の略同形状である第1、第2のフック部とを有しており、
前記第1の基部の他端には、ロック片部が取り付けられており、
前記ロック片部の先端部は、前記第1のフック部の先端の第1のロック片当接部に当接可能であることを特徴とする係止器具。
続きを表示(約 1,000 文字)
【請求項2】
前記ロック片部は外側方向に付勢力が発生しており、該付勢力によって前記ロック片部及び前記第1のロック片当接部は常時ロック状態が維持されており、
前記ロック片部を外側方向から前記付勢力に抗して押圧することによって、前記ロック片部及び前記第1のロック片当接部の係合状態が解除されることを特徴とする請求項1に記載の係止器具。
【請求項3】
前記第2のフック部の先端内側面には、第2のロック片当接部が設けられており、前記第1、第2の枠部とが一体化した状態では、前記ロック片部の先端部は前記第1、第2のロック片当接部に係合可能であることを特徴とする請求項2に記載の係止器具。
【請求項4】
前記第1、第2のフック部は、該第1、第2の基部と連続する第1、第2の主柱部をそれぞれ有しており、一体化した前記第1、第2の枠部を分離した際には、前記第1、第2の主柱部は直線状に配置することが可能であることを特徴とする請求項1~3の何れか1項に記載の係止器具。
【請求項5】
前記ロック片部は屈曲した条材であり、前記第1のロック片当接部には凹部が形成されていることを特徴とする請求項1~3の何れか1項に記載の係止器具。
【請求項6】
対向する前記第1、第2のフック部の内側面には、嵌合可能な第1、第2の嵌合部がそれぞれ設けられており、第1、第2の嵌合部が嵌合することで、前記第1、第2の枠部が一体化した状態が維持されることを特徴とする請求項1~3の何れか1項に記載の係止器具。
【請求項7】
前記軸体部の中心軸は、前記第1、第2の基部の長手方向に沿って形成されており、前記第1、第2の基部の側面に前記軸体部が形成されており、
前記第1、第2の枠部は、前記軸体部を介して開閉可能であることを特徴とする請求項1~3の何れか1項に記載の係止器具。
【請求項8】
前記第1、第2のフック部は、前記第1、第2の基部の長手方向の前記一端から、該長手方向と直交方向に向けてそれぞれ延在していることを特徴とする請求項7に記載の係止器具。
【請求項9】
前記軸体部の中心軸は、前記第1、第2の基部の厚み方向に沿って形成されており、
前記第1、第2の枠部は、前記軸体部を介して回動可能であることを特徴とする請求項1~3の何れか1項に記載の係止器具。
発明の詳細な説明
【技術分野】
【0001】
本発明は、物体を係止する又は物体に係止するフック部を備えた係止器具に関するものである。
続きを表示(約 1,200 文字)
【背景技術】
【0002】
特許文献1には、開口部を有する枠材と、枠材の端部に取り付け、開口部を開放、閉塞する開閉体とからなる連結具が開示されている。この開閉体は閉塞する方向に弾性を備え、この弾性に抗して開閉体を枠材の内方へ向けて開放回動可能としている。
【0003】
吊り下げたい物体を開口部に通して係止状態にすることができ、吊り下げられた物体は、開閉体が閉塞しているため、枠材から外れることはない。
【先行技術文献】
【特許文献】
【0004】
特開2007-46743号公報
【発明の概要】
【発明が解決しようとする課題】
【0005】
物体を吊り下げた状態で特許文献1の連結具を、例えばロープ等の紐状体に仮係止したい場合には、開閉体の弾性に抗して開放した後で紐状体を通し、紐状体から外したい場合には、再度開閉体の弾性を抗して開放して取り外していた。
【0006】
このように特許文献1の連結具を一時的に紐状体に吊り下げたい場合に開閉部をその都度、操作しなければならず面倒であった。
【0007】
本発明の目的は、上述の課題を解消し、用途に応じてフック部を1個又は2個に変更可能とする係止器具を提供することにある。
【課題を解決するための手段】
【0008】
上記目的を達成するための本発明に係る係止器具は、軸体部を介して開閉又は回動可能であり、重なり合うことで一体化する第1の枠部と第2の枠部とから構成される係止器具であって、前記第1、第2の枠部は、一部に前記軸体部を形成する一対の第1、第2の基部と、該第1、第2の基部の一端から、それぞれ延在する鉤曲形状の略同形状である第1、第2のフック部とを有しており、前記第1の基部の他端には、ロック片部が取り付けられており、前記ロック片部の先端部は、前記第1のフック部の先端の第1のロック片当接部に当接可能であることを特徴とする。
【発明の効果】
【0009】
このように、本発明に係る係止器具によれば、普段は第1、第2の枠部が重なり合って一体化したフック体の状態で使用し、このフック体に係止体を係止した状態で、更に別の係止体に係止する場合には、第1、第2の枠部を分離して、第1の枠部に一方の係止体を吊り下げ、第2の枠部を他方の係止体に係止させることができる。
【0010】
第1、第2の枠部にそれぞれ係止させることで、一方の係止体と他方の係止体とが接触しないため、それぞれが互いに邪魔にならずに、一方又は他方の係止体を第1、第2の枠部から取り外し、取り付けを容易に行うことが可能である。
【図面の簡単な説明】
(【0011】以降は省略されています)
この特許をJ-PlatPat(特許庁公式サイト)で参照する
関連特許
レック株式会社
係止器具
2日前
株式会社豊田中央研究所
粒状物質捕集方法および粒状物質捕集装置
1か月前
個人
留め具
17日前
個人
鍋虫ねじ
2か月前
個人
ホース保持具
6か月前
個人
回転伝達機構
2か月前
個人
紛体用仕切弁
2か月前
個人
差動歯車用歯形
4か月前
個人
給排気装置
24日前
個人
ジョイント
1か月前
個人
ナット
1か月前
個人
地震の揺れ回避装置
3か月前
株式会社不二工機
電磁弁
4か月前
株式会社不二工機
電磁弁
5か月前
個人
吐出量監視装置
1か月前
カヤバ株式会社
緩衝器
3か月前
柿沼金属精機株式会社
分岐管
2か月前
カヤバ株式会社
ダンパ
4か月前
カヤバ株式会社
緩衝器
23日前
カヤバ株式会社
緩衝器
3か月前
カヤバ株式会社
ダンパ
4か月前
個人
固着具と固着具の固定方法
5か月前
株式会社ノーリツ
分配弁
28日前
アズビル株式会社
回転弁
1か月前
株式会社タカギ
水栓装置
2か月前
個人
固着具と固着具の固定方法
5か月前
株式会社ノーリツ
分配弁
5か月前
株式会社奥村組
制振機構
1か月前
株式会社奥村組
制振機構
1か月前
株式会社ニフコ
クリップ
28日前
株式会社フジキン
ボールバルブ
4か月前
株式会社ノーリツ
分配弁
5か月前
株式会社三五
ドライブシャフト
9日前
株式会社不二工機
電磁弁
2か月前
株式会社ノーリツ
分配弁
5か月前
個人
固着具と固着具の固定方法
6か月前
続きを見る
他の特許を見る