TOP
|
特許
|
意匠
|
商標
特許ウォッチ
Twitter
他の特許を見る
公開番号
2025150759
公報種別
公開特許公報(A)
公開日
2025-10-09
出願番号
2024051815
出願日
2024-03-27
発明の名称
焼結軸受
出願人
NTN株式会社
代理人
個人
,
個人
主分類
F16C
33/10 20060101AFI20251002BHJP(機械要素または単位;機械または装置の効果的機能を生じ維持するための一般的手段)
要約
【課題】ピーニング加工、転造加工、圧印加工等の塑性加工などを必要とせずに、優れた潤滑性能(摺動特性)を有する焼結軸受および軸受装置を提供するものである。
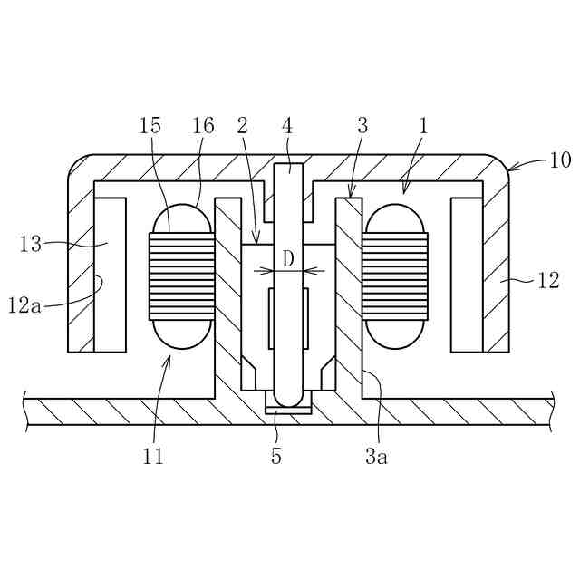
【解決手段】金属材料を主成分とする原料粉を焼結させてなる円筒形状の焼結体に潤滑オイルを含有して構成される。軸方向一方の端部を第1軸受部とするとともに、軸方向他方の端部を第2軸受部として、第1軸受部の内径面及び第2軸受部の内径面で摺動面を構成し、軸受内径中央部に第1軸受部の内径面及び第2軸受部の内径面よりも大径とした逃げ部を有する中間部位を形成し、第1軸受部と第2軸受部と中間部位とに密度差を設けた。
【選択図】 図1
特許請求の範囲
【請求項1】
相手側の軸部材と摺動する摺動面を有する焼結軸受であって、
金属材料を主成分とする原料粉を焼結させてなる円筒形状の焼結体に潤滑オイルを含有して構成され、軸方向一方の端部を第1軸受部とするとともに、軸方向他方の端部を第2軸受部として、第1軸受部の内径面及び第2軸受部の内径面で前記摺動面を構成し、かつ、軸受内径中央部に第1軸受部の内径面及び第2軸受部の内径面よりも大径とした逃げ部を有する中間部位を形成し、第1軸受部と第2軸受部と中間部位とに密度差を設けたことを特徴とする焼結軸受。
続きを表示(約 970 文字)
【請求項2】
前記第1軸受部が高密度領域とされ、前記第2軸受部が前記高密度領域の密度よりも低い低密度領域とされ、高密度領域と低密度領域との間においては、低密度領域の近傍が前記低密度領域の密度よりも低い最低密度部と、この最低密度部から前記高密度領域へ密度が高くなる密度勾配部を有することを特徴とする請求項1に記載の焼結軸受。
【請求項3】
第1軸受部の密度は第2軸受部の密度よりも0.08(g/cm
3
)~0.56(g/cm
3
)高く、第1軸受部の含油率は第2軸受部の含油率よりも1%~7%低いことを特徴とする請求項1又は請求項2に記載の焼結軸受。
【請求項4】
第1軸受部と第2軸受部との密度差が0.08(g/cm
3
)~0.48(g/cm
3
)であり、含油率の差が1%~6%であることを特徴とする請求項1又は請求項2に記載の焼結軸受。
【請求項5】
第1軸受部の内径面と第2軸受部の内径面の表面開口率差が5~45%であることを特徴とする請求項1又は請求項2に記載の焼結軸受。
【請求項6】
前記請求項1又は請求項2に記載の焼結軸受を用いた軸受装置であって、第1軸受部がモータの出力側とされ、第2軸受部がモータの反出力側とされることを特徴とする軸受装置。
【請求項7】
前記第1軸受部の密度を前記第2軸受部の密度よりも、0.08(g/cm
3
)~0.48(g/cm
3
)高く、前記第1軸受部の含油率を前記第2軸受部の含油率よりも1%~6%低くしたことを特徴とする請求項6に記載の軸受装置。
【請求項8】
前記第1軸受部の密度を前記第2軸受部の密度よりも、0.16(g/cm
3
)~0.40(g/cm
3
)高く、前記第1軸受部の含油率を前記第2軸受部の含油率よりも2%~5%低くしたことを特徴とする請求項6に記載の軸受装置。
【請求項9】
前記第1軸受部の内径面の表面開口率を前記第2軸受部の内径面の表面開口率よりも5から45%低くしたことを特徴とする請求項6に記載の軸受装置。
発明の詳細な説明
【技術分野】
【0001】
本発明は、焼結軸受に関する。
続きを表示(約 1,500 文字)
【背景技術】
【0002】
焼結軸受は、例えば、小型モータ等の焼結含油軸受部材に使用することができる。焼結軸受は、低温・高速回転で使用されるモータの軸受など潤滑オイルの供給が円滑に働かない条件下でも安定した回転数を得ることができ、電流値を低く抑えることができる。特に、焼結軸受は、低温から高温まで幅広い温度領域で使用される自動車用冷却ファンモータなどの軸受に適する。
【0003】
従来には、軸方向両端部に軸受部を形成し、軸受部の間に、その内径が各軸受部の内径よりも大きい中間部(逃げ部)を有するものがある(特許文献1)。
【0004】
特許文献1に記載のように構成することにより、中間部の内周面が回転軸に接触することがなくなり、軸受孔の内周面における摺動面積が減少する。このため、軸受孔の内径が軸方向の全長に亘って同一に形成されている焼結軸受(以下、「ストレート軸受」とする)と比較して、軸受孔の内周面と回転軸との接触が抑制され、同時に軸回転時の潤滑剤の流体抵抗を減じることから、回転軸との間に生じる摩擦抵抗を低減することが可能となる。すなわち、この特許文献1の焼結軸受では、回転軸との摩擦抵抗を低減し、かつノイズを低減することが可能となる。
【0005】
特に、回転軸を回転自在に支持する一対の軸受部のうち少なくとも一方の軸受面に、複数のディンプルが設けられている。これにより、軸受面のうち各ディンプルが設けられている部分(範囲)については回転軸に接触することがなくなるため、軸受面における摺動面積が減少する。よって、軸受面と回転軸との接触が抑制され、同時に軸回転時の潤滑剤の流体抵抗を減じることから、回転軸との間に生じる摩擦抵抗を低減することが可能となっている。したがって、軸受面の軸方向の寸法を減少させることなく、軸受孔の内周面における摺動面積を減少させることができ、油膜強度の低下を抑制しつつ、回転軸との間に生じる摩擦抵抗を低減することが可能となる。
【0006】
さらに、含浸された潤滑剤が各ディンプル内に貯留され、回転軸が回転した際に貯留されている潤滑剤が、軸受面と回転軸との間に引き出され軸受面の摩擦係数を低減することが可能となることが示されている。
【先行技術文献】
【特許文献】
【0007】
特許第6253134号公報
【発明の概要】
【発明が解決しようとする課題】
【0008】
しかしながら、軸受面にディンプルを形成する場合、ピーニング加工、転造加工、圧印加工等の塑性加工などを必要とし、その加工設備と加工工数の追加、凸部を有する塑性加工用の工具の製作など、生産性や原価の面でも問題がある。
【0009】
そこで、本発明は、上記課題に鑑みて、ピーニング加工、転造加工、圧印加工等の塑性加工などを必要とせずに、優れた潤滑性能(摺動特性)を有する焼結軸受および軸受装置を提供するものである。
【課題を解決するための手段】
【0010】
本発明の焼結軸受は、相手側の軸部材と摺動する摺動面を有する焼結軸受であって、金属材料を主成分とする原料粉を焼結させてなる円筒形状の焼結体に潤滑オイルを含有して構成され、軸方向一方の端部を第1軸受部とするとともに、軸方向他方の端部を第2軸受部として、第1軸受部の内径面及び第2軸受部の内径面で前記摺動面を構成し、かつ、軸受内径中央部に第1軸受部の内径面及び第2軸受部の内径面よりも大径とした逃げ部を有する中間部位を形成し、第1軸受部と第2軸受部と中間部位とに密度差を設けたものである。
(【0011】以降は省略されています)
この特許をJ-PlatPat(特許庁公式サイト)で参照する
関連特許
NTN株式会社
基板
17日前
NTN株式会社
玉軸受
18日前
NTN株式会社
玉軸受
26日前
NTN株式会社
玉軸受
25日前
NTN株式会社
玉軸受
4日前
NTN株式会社
ハンド
12日前
NTN株式会社
軸受装置
4日前
NTN株式会社
把持装置
12日前
NTN株式会社
密封装置
10日前
NTN株式会社
焼結軸受
4日前
NTN株式会社
軸受装置
4日前
NTN株式会社
把持装置
12日前
NTN株式会社
軸受装置
24日前
NTN株式会社
軸受装置
4日前
NTN株式会社
軸受装置
4日前
NTN株式会社
作業装置
10日前
NTN株式会社
転がり軸受
5日前
NTN株式会社
転がり軸受
18日前
NTN株式会社
転がり軸受
12日前
NTN株式会社
荷積込装置
5日前
NTN株式会社
転がり軸受
4日前
NTN株式会社
状態監視装置
11日前
NTN株式会社
基板取付構造
24日前
NTN株式会社
等速自在継手
24日前
NTN株式会社
シール付軸受
10日前
NTN株式会社
回転伝達装置
10日前
NTN株式会社
回転伝達装置
5日前
NTN株式会社
回転伝達装置
5日前
NTN株式会社
円筒ころ軸受
26日前
NTN株式会社
軸受用保持器
1か月前
NTN株式会社
モータユニット
14日前
NTN株式会社
保持器付きころ
14日前
NTN株式会社
車輪用軸受装置
1か月前
NTN株式会社
絶縁転がり軸受
1か月前
NTN株式会社
車輪用軸受装置
5日前
NTN株式会社
円すいころ軸受
17日前
続きを見る
他の特許を見る