TOP
|
特許
|
意匠
|
商標
特許ウォッチ
Twitter
他の特許を見る
公開番号
2025143000
公報種別
公開特許公報(A)
公開日
2025-10-01
出願番号
2024042664
出願日
2024-03-18
発明の名称
粒状物質捕集方法および粒状物質捕集装置
出願人
株式会社豊田中央研究所
代理人
個人
,
個人
主分類
G01N
1/02 20060101AFI20250924BHJP(測定;試験)
要約
【課題】粒状物質を捕集できる範囲をより広く確保すると共に、異なる粒状物質を捕集するための構成を簡素化する。
【解決手段】流体中の粒状物質を捕集する粒状物質捕集方法は、流体を流通させるための流路が内部に形成された可撓性を有する流路形成部材を用意し、流路形成部材を湾曲させ、湾曲させた流路形成部材内の流路に粒状物質を含む流体を流通させて、湾曲させた流路形成部材の曲率に応じた粒状物質を捕集する。
【選択図】図1
特許請求の範囲
【請求項1】
流体中の粒状物質を捕集する粒状物質捕集方法であって、
前記流体を流通させるための流路が内部に形成された可撓性を有する流路形成部材を用意し、
前記流路形成部材を湾曲させ、
湾曲させた前記流路形成部材内の前記流路に前記粒状物質を含む前記流体を流通させて、湾曲させた前記流路形成部材の曲率に応じた前記粒状物質を捕集する
粒状物質捕集方法。
続きを表示(約 760 文字)
【請求項2】
請求項1に記載の粒状物質捕集方法であって、
湾曲させた前記流路形成部材の曲率に応じた前記粒状物質を、前記流路の内壁面上で捕集する
粒状物質捕集方法。
【請求項3】
請求項1に記載の粒状物質捕集方法であって、
前記流路形成部材の湾曲は、捕集対象である前記粒状物質に応じて予め設定された曲率で湾曲させるように行う
粒状物質捕集方法。
【請求項4】
請求項2に記載の粒状物質捕集方法であって、
前記流路の内壁面上で前記粒状物質を捕集した後に、前記流路形成部材の湾曲状態を解除して、前記流路の内壁面上で捕集された前記粒状物質を検出する
粒状物質捕集方法。
【請求項5】
請求項4に記載の粒状物質捕集方法であって、
前記粒状物質の検出は、前記流路形成部材の曲率が0の状態で行う
粒状物質捕集方法。
【請求項6】
請求項1に記載の粒状物質捕集方法であって、
前記流路形成部材の湾曲は、前記流路形成部材の内部に形成される前記流路の場所によって曲率が異なるように行う
粒状物質捕集方法。
【請求項7】
流体中の粒状物質を捕集する粒状物質捕集装置であって、
前記流体を流通させるための流路が内部に形成された可撓性を有する流路形成部材と、
前記流路形成部材を所望の曲率で湾曲させて保持するための保持部材と、
を備える
粒状物質捕集装置。
【請求項8】
請求項7に記載の粒状物質捕集装置であって、
前記流路形成部材は、シリコーン樹脂またはアクリル樹脂によって形成されている
粒状物質捕集装置。
発明の詳細な説明
【技術分野】
【0001】
本開示は、流体中の粒状物質の捕集方法および粒状物質捕集装置に関する。
続きを表示(約 4,800 文字)
【背景技術】
【0002】
空気中には、アレルゲンとなり得る花粉や黄砂などの粒子を含むエアロゾルや、病原性の種々の微生物などが存在しており、アレルギーや疾病に対する対策として、これらの粒子や微生物を捕集して同定することが望まれている。従来、大気中の微粒子を捕集するための装置として、種々の装置が提案されている。空気中の微生物の捕集方法の例としては、インパクタ方式(微生物を含む空気を衝突させることにより捕集する)による方法が知られている(例えば、特許文献1、2および非特許文献1、2参照)。具体的には、特許文献1には、微生物を含む空気をノズルから噴射させ、噴射した空気を、ノズルに対抗して設けられた捕集面に衝突させることによって微生物を含む粒子を捕集する技術が開示されている。また、特許文献2および非特許文献2には、エアロゾルを含む空気等を噴射するノズルとして、ノズル径が異なるノズルを段階的に配置して、粒径等が異なる粒子を分級して捕集する装置が開示されている。
【先行技術文献】
【特許文献】
【0003】
特許第5700594号公報
特表2010-540959号公報
【非特許文献】
【0004】
Kang, J. S. et al., "Real-time detection of an airborne microorganism using inertial impaction and mini-fluorescent microscopy", Lab Chip 14, 244-251 (2014)
東京ダイレック株式会社WEBサイト:https://www.t-dylec.net/service/an-200/(2024年2月26日確認)
【発明の概要】
【発明が解決しようとする課題】
【0005】
しかしながら、上記のようにインパクタ方式により粒子等を捕集する場合には、粒子等が捕集される箇所が、エアロゾル等が噴射される捕集面における衝突箇所に限られるという問題があった。また、捕捉できる粒子の大きさが、ノズルからの噴射条件などにより定まるため、サイズ等が異なる複数種類の粒子等を捕捉したい場合には、捕捉したい粒子サイズ等に応じて、装置を多段階に設ける必要があり、装置構成が複雑化するという問題があった。このような問題は、空気中のエアロゾルや微生物の捕集に限らず、種々の流体中の粒状物質を捕集する際にも同様に生じる問題であった。
【課題を解決するための手段】
【0006】
本開示は、以下の形態として実現することが可能である。
(1)本開示の一形態によれば、流体中の粒状物質を捕集する粒状物質捕集方法が提供される。この粒状物質捕集方法は、前記流体を流通させるための流路が内部に形成された可撓性を有する流路形成部材を用意し、前記流路形成部材を湾曲させ、湾曲させた前記流路形成部材内の前記流路に前記粒状物質を含む前記流体を流通させて、湾曲させた前記流路形成部材の曲率に応じた前記粒状物質を捕集する。
この形態の粒状物質捕集方法によれば、湾曲された流路形成部材の曲率に応じた粒状物質を、捕集箇所が過度に限定されることなく捕集することができる。また、流路形成部材の曲率を変更するという簡便な方法により、捕集する粒状物質の粒径を容易に変更することができる。そのため、捕集対象とする粒状物質ごとに別々に流路形成部材等の部材を用意する必要がなく、共通する流路形成部材を用いて、種々の粒状物質の捕集を行うことができる。
(2)上記形態の粒状物質捕集方法において、湾曲させた前記流路形成部材の曲率に応じた前記粒状物質を、前記流路の内壁面上で捕集することとしてもよい。このような構成とすれば、流路形成部材における湾曲された部位に設けられた流路の内壁面上において、湾曲された流路形成部材の曲率に応じた粒状物質を捕集することができる。そのため、流路形成部材が特定の曲率を有する範囲という比較的広い範囲において、流路内壁面上で粒状物質を捕集することができる。
(3)上記形態の粒状物質捕集方法において、前記流路形成部材の湾曲は、捕集対象である前記粒状物質に応じて予め設定された曲率で湾曲させるように行うこととしてもよい。このような構成とすれば、予め設定した曲率に応じた所望の粒状物質を捕集することができる。
(4)上記形態の粒状物質捕集方法において、前記流路の内壁面上で前記粒状物質を捕集した後に、前記流路形成部材の湾曲状態を解除して、前記流路の内壁面上で捕集された前記粒状物質を検出することとしてもよい。このような構成とすれば、流路の内壁面上で捕集した粒状物質を、上記流路の内壁面上で捕集された状態のまま検出する動作を容易に行うことができる。
(5)上記形態の粒状物質捕集方法において、前記粒状物質の検出は、前記流路形成部材の曲率が0の状態で行うこととしてもよい。このような構成とすれば、流路の内壁面上で捕集した粒状物質を、例えば顕微鏡などを用いて外形観察する際に、焦点面を拡大し、粒状物質が捕捉された流路内壁面のより広い範囲を同一焦点面として観察することが可能になる。
(6)上記形態の粒状物質捕集方法において、前記流路形成部材の湾曲は、前記流路形成部材の内部に形成される前記流路の場所によって曲率が異なるように行うこととしてもよい。このような構成とすれば、流路形成部材内の流路において、曲率が異なる場所ごとに、曲率に応じた異なる粒状物質を捕集することができる。
(7)本開示の他の一形態によれば、流体中の粒状物質を捕集する粒状物質捕集装置が提供される。この粒状物質捕集装置は、前記流体を流通させるための流路が内部に形成された可撓性を有する流路形成部材と、前記流路形成部材を所望の曲率で湾曲させて保持するための保持部材と、を備える。
この形態の粒状物質捕集装置によれば、保持部材によって流路形成部材を保持して、流路形成部材を所望の曲率で湾曲させることにより、湾曲された流路形成部材の曲率に応じた粒状物質を、捕集箇所が過度に限定されることなく捕集することができる。また、保持部材によって湾曲させる流路形成部材の曲率を変更するという簡便な方法により、捕集する粒状物質の粒径を容易に変更することができる。そのため、捕集対象とする粒状物質ごとに別々に流路形成部材等の部材を用意する必要がなく、共通する流路形成部材を用いて、種々の粒状物質の捕集を行うことができる。
(8)上記形態の粒状物質捕集装置において、前記流路形成部材は、シリコーン樹脂またはアクリル樹脂によって形成されていることとしてもよい。このような構成とすれば、流路形成部材の可撓性を確保することが容易になる。
本開示は、上記以外の種々の形態で実現可能であり、例えば、流体内の粒状物質の分別方法、流体内の粒状物質の検出・同定方法などの形態で実現することが可能である。
【図面の簡単な説明】
【0007】
実施形態の粒状物質捕集方法を示すフローチャート。
流路形成部材の概略構成を示す説明図。
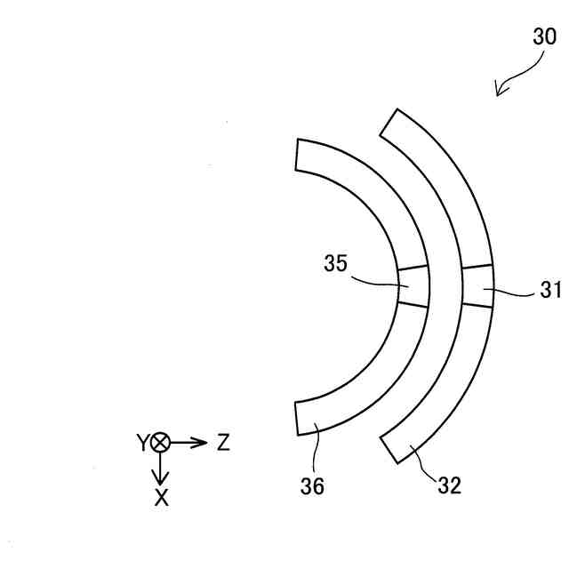
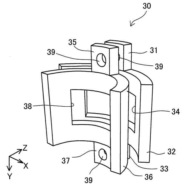
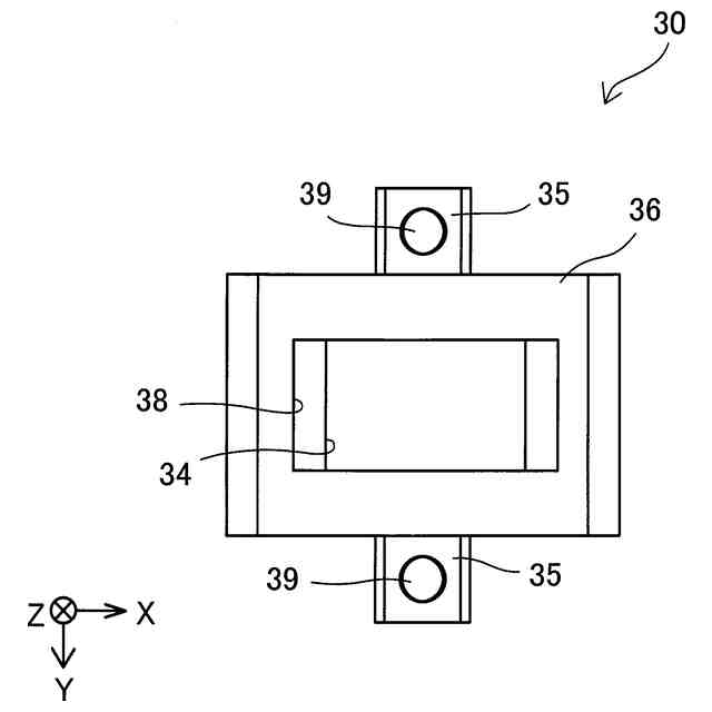
保持部材の外観を示す斜視図。
保持部材の外観を示す正面図。
保持部材の外観を示す上面図。
粒状物質捕集装置の写真を示す説明図。
粒状物質捕集方法の各工程の様子を示す説明図。
粒径が異なる粒状物質を分級する様子を示す説明図。
第1シートを観察した顕微鏡写真を示す説明図。
第1シートをさらに拡大して観察した顕微鏡写真を示す説明図。
顕微鏡写真で観察された石松子の数を示す説明図。
【発明を実施するための形態】
【0008】
A.粒状物質捕集方法および粒状物質捕集装置:
図1は、本開示の実施形態としての粒状物質捕集方法を示すフローチャートである。本実施形態の粒状物質捕集方法は、流体中の粒状物質を捕集するための方法である。捕集対象である粒状物質は、例えば、花粉、ウイルス、細菌、酵母を含む菌類、血球や精子を含む細胞、胞子、排ガス中の粒子状物質(PM)などの各種汚染物質の粒子、あるいは、花粉にPM2.5(粒径が2.5μm以下のPM)が付着した複合体のように、上記した粒子等のうちの複数種類の粒子等の混合物等とすることができる。これらの粒状物質を含む流体は、例えば、空気などの気体や、水、血液、培養液、スワブ液(検査対象物の表面を拭ったスワブに付着した物質を含む液)などの液体等、種々の流体とすることができる。そのため、本実施形態の粒状物質捕集方法は、例えば、空気中の花粉、ウイルス、細菌、胞子、汚染物質など、あるいは、血液中の血球、細菌、がん細胞など、あるいは、培養液中の分散された培養細胞、精子など、あるいは、スワブ液中の細菌などに適用することができる。本実施形態の粒状物質捕集方法を実行する際には、まず、流路形成部材を用意する。(工程T100)。本実施形態の工程T100では、流路形成部材と共に保持部材30を用意している。以下では、本実施形態の粒状物質捕集方法において好適に用いることができる粒状物質捕集装置の例として、流路形成部材20と保持部材30とを備える粒状物質捕集装置について説明する。
【0009】
図2は、粒状物質捕集装置が備える流路形成部材20の概略構成を示す説明図である。図2(A)および図2(C)は側面図であり、図2(B)は上面図である。図2(A)~図2(C)、および後述する図3~図5では、方向を特定するために、互いに直交するXYZ軸を示している。図に示されるX軸、Y軸、Z軸は、それぞれ同じ向きを表す。ただし、図2の説明においては、便宜上、+Z軸方向を上方とも呼び、後述する図3~図5の説明では、便宜上、-Y軸方向を上方とも呼ぶ。なお、図2、および後述する図3~図5は、各部の配置を模式的に表しており、各部の寸法の比率を正確に表すものではない。
【0010】
流路形成部材20は、流体を流通させるための流路が内部に形成された可撓性を有する部材である。本実施形態の流路形成部材20は、図2に示すように、外形が矩形の板状部材を3枚積層した3層構造を有している。すなわち、流路形成部材20は、第1シート22、第2シート24、第3シート26が、この順で積層されて形成されている。第1シート22および第3シート26は、同じ形状および同じ大きさの矩形の板状部材である。第2シート24は、図2(B)に示すように上面視でコの字形状(矩形の3つの辺に沿って形成される形状)に形成されており、第1シート22および第3シート26に挟まれることによって、流体が流れる流路25を形成する。流路25は、流路形成部材20の-X軸方向の端部側面で開口しており、開口部23を形成する。開口部23は、流路25内に流体を導く流入口として機能する。また、第1シート22は、流路25のX軸方向端部近傍において、Z軸方向に流路25と重なる位置に、第1シート22を厚さ方向に貫通する貫通孔21を備える。貫通孔21は、流路25を流れた流体を外部に導く排出口として機能する。図2(A)および図2(B)では、流路形成部材20の表面で露出しない第2シート24の外周部分や、第2シート24によって形成される流路25や、第1シート22に形成される貫通孔21を、破線によって示している。
(【0011】以降は省略されています)
この特許をJ-PlatPat(特許庁公式サイト)で参照する
関連特許
個人
計量スプーン
24日前
日本精機株式会社
位置検出装置
2日前
日本精機株式会社
位置検出装置
2日前
日本精機株式会社
位置検出装置
2日前
大和製衡株式会社
組合せ秤
7日前
大和製衡株式会社
組合せ秤
7日前
アズビル株式会社
圧力センサ
1日前
ダイハツ工業株式会社
測定用具
28日前
トヨタ自動車株式会社
検査装置
4日前
株式会社ユーシン
操作検出装置
4日前
株式会社東芝
センサ
7日前
株式会社東芝
センサ
7日前
トヨタ自動車株式会社
表示装置
16日前
エイブリック株式会社
磁気センサ回路
1日前
アンリツ株式会社
分光器
1か月前
アンリツ株式会社
分光器
1か月前
TDK株式会社
ガスセンサ
今日
株式会社ナリス化粧品
角層細胞採取用具
14日前
TDK株式会社
磁気センサ
24日前
株式会社ヨコオ
コンタクタ
28日前
東レエンジニアリング株式会社
計量装置
4日前
株式会社東芝
重量測定装置
今日
TDK株式会社
ガスセンサ
1日前
個人
粘塑性を用いた有限要素法の定式化
16日前
個人
材料特性パラメータの算定方法
24日前
株式会社関電工
検相器用治具
22日前
中国電力株式会社
異常箇所検出装置
15日前
TDK株式会社
磁気計測装置
15日前
成田空港給油施設株式会社
保持治具
15日前
日本碍子株式会社
ガスセンサ
25日前
三菱マテリアル株式会社
温度センサ
14日前
三菱マテリアル株式会社
温度センサ
14日前
大同特殊鋼株式会社
超音波探傷方法
24日前
富士電機株式会社
エンコーダ
1日前
株式会社熊谷組
RI計測装置
2日前
富士電機株式会社
半導体パッケージ
24日前
続きを見る
他の特許を見る