TOP
|
特許
|
意匠
|
商標
特許ウォッチ
Twitter
他の特許を見る
公開番号
2025163713
公報種別
公開特許公報(A)
公開日
2025-10-30
出願番号
2024067167
出願日
2024-04-18
発明の名称
緩衝器
出願人
Astemo株式会社
代理人
個人
主分類
F16F
9/32 20060101AFI20251023BHJP(機械要素または単位;機械または装置の効果的機能を生じ維持するための一般的手段)
要約
【課題】抜け荷重を大きくすることができる緩衝器を提供すること。
【解決手段】第1側の端部にピストン部を保持するロッドと、ロッドの第1側の端部を収容してロッドの第2側の端部を露出させるとともに液体が入れられたシリンダと、ロッドとシリンダとの間に設けられてシリンダ内を密封するシール部材と、シリンダの第2側の端部に装着されるキャップと、を備え、シリンダは内側に折り曲げられてシール部材が第2側へ移動することを抑制する折曲部を有するとともに、シリンダには外周面から凹んだ凹部が形成され、キャップは、折曲部の第2側に設けられる環状の環状部と、環状部から第1側に突出して外周面に対向する対向部とを有し、対向部は、シリンダの第2側の端部に被せられた後に内側に折り曲げられて凹部に嵌り込む屈曲部を有する、緩衝器。
【選択図】図2
特許請求の範囲
【請求項1】
第1側の端部にピストン部を保持するロッドと、
前記ロッドの前記第1側の端部を収容して前記ロッドの第2側の端部を露出させるとともに液体が入れられたシリンダと、
前記ロッドと前記シリンダとの間に設けられて前記シリンダ内を密封するシール部材と、
前記シリンダの前記第2側の端部に装着されるキャップと、
を備え、
前記シリンダは内側に折り曲げられて前記シール部材が前記第2側へ移動することを抑制する折曲部を有するとともに、前記シリンダには外周面から凹んだ凹部が形成され、
前記キャップは、前記折曲部の前記第2側に設けられる環状の環状部と、前記環状部から前記第1側に突出して前記外周面に対向する対向部とを有し、前記対向部は、前記シリンダの前記第2側の端部に被せられた後に内側に折り曲げられて前記凹部に嵌り込む屈曲部を有する、
緩衝器。
続きを表示(約 560 文字)
【請求項2】
前記シリンダの前記凹部と前記キャップの前記屈曲部との間に設けられた環状のリングを備える、請求項1に記載の緩衝器。
【請求項3】
前記キャップの前記対向部には、内周面から凹んだ溝が形成され、
前記リングが前記溝と前記シリンダの前記凹部とに嵌め込まれた状態で、前記対向部における前記溝よりも第1側の部位が折り曲げられて前記屈曲部が成形される、
請求項2に記載の緩衝器。
【請求項4】
前記キャップの前記対向部は筒状であるとともに、前記対向部には筒状の一部が切り欠かれた切り欠きが形成され、前記切り欠きにて囲まれた部位が折り曲げられて前記屈曲部が成形される、
請求項1に記載の緩衝器。
【請求項5】
前記切り欠きにて囲まれた部位における前記第2側の部位が前記切り欠きにて囲まれた部位における前記第1側の部位を基端として内側に折り曲げられて前記凹部に嵌り込んでいる、
請求項4に記載の緩衝器。
【請求項6】
前記シリンダは、前記第2側の端部よりも前記第1側に設けられるとともに前記第2側の端部の肉厚よりも厚い肉厚の第1部を有し、
前記凹部は、前記第1部に形成されている、
請求項1に記載の緩衝器。
発明の詳細な説明
【技術分野】
【0001】
本発明は、緩衝器に関する。
続きを表示(約 2,200 文字)
【背景技術】
【0002】
例えば、特許文献1に記載の油圧緩衝器は、筒状に形成され、一端部の内径部または外径部の形状を加工するために外周からロールフォーミングによって加工されたシリンダを備える。また、特許文献1に記載の油圧緩衝器は、シリンダの一端部外周に前記ロールフォーミング加工の際に形成される周方向に延在する凹部と、該シリンダの一端から突出するピストンロッドとを備える。また、特許文献1に記載の油圧緩衝器は、前記シリンダの一端に設けられ前記ピストンロッドが貫通する密封手段を備える。また、特許文献1に記載の油圧緩衝器は、有蓋筒状で前記シリンダの一端に嵌合されて設けられ、筒部内周面に前記凹部に係合する周方向に延在又は点在する凸部を有するバンパキャップを備える。
【先行技術文献】
【特許文献】
【0003】
特開2009-14018号公報
【発明の概要】
【発明が解決しようとする課題】
【0004】
特許文献1に記載の油圧緩衝器においては、シリンダの一端部を内側へかしめて形成されたかしめ部が、伸長行程においてロッド(特許文献1おいてはピストンロッド)がシリンダから抜けることを抑制する。それゆえ、伸長行程においてロッドがシリンダから抜けてしまうときにロッドにかかる荷重(言い換えれば抜け荷重)の大きさは、シリンダのかしめ部の板厚や形状に応じて定まる。
【0005】
一方、車両の大型化等に伴う車両重量増加に伴い、抜け荷重を大きくすることが求められている。抜け荷重を大きくするために、シリンダのかしめ部の板厚を大きくすることや形状を変更することが考えられるが、いずれもかしめを行う設備を変更する必要がある。
本発明は、抜け荷重を大きくすることができる緩衝器を提供することを目的とする。
【課題を解決するための手段】
【0006】
かかる目的のもと完成させた本発明は、第1側の端部にピストン部を保持するロッドと、前記ロッドの前記第1側の端部を収容して前記ロッドの第2側の端部を露出させるとともに液体が入れられたシリンダと、前記ロッドと前記シリンダとの間に設けられて前記シリンダ内を密封するシール部材と、前記シリンダの前記第2側の端部に装着されるキャップと、を備え、前記シリンダは内側に折り曲げられて前記シール部材が前記第2側へ移動することを抑制する折曲部を有するとともに、前記シリンダには外周面から凹んだ凹部が形成され、前記キャップは、前記折曲部の前記第2側に設けられる環状の環状部と、前記環状部から前記第1側に突出して前記外周面に対向する対向部とを有し、前記対向部は、前記シリンダの前記第2側の端部に被せられた後に内側に折り曲げられて前記凹部に嵌り込む屈曲部を有する、緩衝器である。
【発明の効果】
【0007】
本発明によれば、抜け荷重を大きくすることができる緩衝器を提供することができる。
【図面の簡単な説明】
【0008】
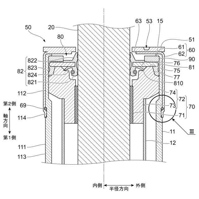
懸架装置の概略構成を示す図である。
図1のII部の拡大図の一例である。
図2のIII部の拡大図の一例である。
バンプストッパを外シリンダに連結する前の形状の一例を示す図である。
第2実施形態に係るバンプストッパの断面の一例を示す図である。
第2実施形態に係るバンプストッパの斜視図の一例である。
第2実施形態に係るバンプストッパを外シリンダに連結する前の形状の一例を示す図である。
【発明を実施するための形態】
【0009】
以下、添付図面を参照して、本発明の実施形態について詳細に説明する。
<第1実施形態>
図1は、懸架装置1の概略構成の一例を示す図である。
図2は、図1のII部の拡大図の一例である。
懸架装置1は、ストラット式サスペンションであり、図1に示すように、油圧式の緩衝器2と、緩衝器2の外側に配置されたコイルスプリング3とを備えている。また、懸架装置1は、コイルスプリング3における、後述するロッド20の軸方向の一方の端部側(図1では下側)を支持する下スプリングシート4を備えている。以下では、後述するロッド20の軸方向を、単に「軸方向」と称する場合がある。さらに、懸架装置1は、コイルスプリング3における、軸方向の他方の端部側(図1では上側)の端部を支持する上スプリングシート5を備えている。以下では、「軸方向の一方の端部側」を単に「第1側」、「軸方向の他方の端部側」を単に「第2側」と称する場合がある。また、軸方向に交差する方向(例えば、直交方向)を、「半径方向」と称する場合がある。半径方向において、後述する外シリンダ11の中心線側を単に「内側」と称し、中心線から離れる側を単に「外側」と称する場合がある。
【0010】
懸架装置1は、第2側の端部に取り付けられて、この懸架装置1を車両に取り付けるための車体側取付ブラケット6と、後述するシリンダ部10における第1側の端部に固定されて、懸架装置1を車輪に取り付けるための車輪側取付ブラケット7とを備える。また、懸架装置1は、車体側取付ブラケット6に取り付けられて後述するロッド20が縮む際の衝撃を緩和するバンプクッション8を備える。
(【0011】以降は省略されています)
この特許をJ-PlatPat(特許庁公式サイト)で参照する
関連特許
Astemo株式会社
緩衝器
今日
Astemo株式会社
緩衝器
6日前
Astemo株式会社
操舵装置
7日前
Astemo株式会社
プロペラシャフト
12日前
Astemo株式会社
歯車の研磨装置及び研磨方法
9日前
Astemo株式会社
画像処理装置及び画像処理方法
9日前
Astemo株式会社
車両データ収集装置および車両データ収集方法
9日前
日産自動車株式会社
車両制御方法および車両制御装置
7日前
日産自動車株式会社
車両制御方法および車両制御装置
7日前
日産自動車株式会社
車両制御方法および車両制御装置
7日前
Astemo株式会社
回転電機の回転子、回転電機、インホイールモータ、車両
13日前
Astemo株式会社
制御装置及び制御システム
6日前
個人
留め具
22日前
個人
鍋虫ねじ
2か月前
個人
回転伝達機構
3か月前
個人
ホース保持具
6か月前
個人
紛体用仕切弁
2か月前
個人
差動歯車用歯形
4か月前
個人
ジョイント
1か月前
個人
給排気装置
29日前
個人
ナット
1か月前
個人
ナット
今日
個人
地震の揺れ回避装置
3か月前
株式会社不二工機
電磁弁
5か月前
株式会社不二工機
電磁弁
4か月前
個人
吐出量監視装置
2か月前
カヤバ株式会社
ダンパ
4か月前
カヤバ株式会社
ダンパ
4か月前
カヤバ株式会社
緩衝器
4か月前
カヤバ株式会社
緩衝器
28日前
柿沼金属精機株式会社
分岐管
2か月前
カヤバ株式会社
緩衝器
4か月前
兼工業株式会社
バルブ
1日前
株式会社ニフコ
クリップ
1か月前
株式会社タカギ
水栓装置
2か月前
株式会社ノーリツ
分配弁
1か月前
続きを見る
他の特許を見る