TOP
|
特許
|
意匠
|
商標
特許ウォッチ
Twitter
他の特許を見る
10個以上の画像は省略されています。
公開番号
2025163738
公報種別
公開特許公報(A)
公開日
2025-10-30
出願番号
2024067222
出願日
2024-04-18
発明の名称
検査装置
出願人
株式会社ナベル
代理人
主分類
B65B
57/02 20060101AFI20251023BHJP(運搬;包装;貯蔵;薄板状または線条材料の取扱い)
要約
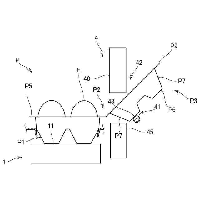
【課題】凹凸のある卵パックが2枚以上重なっていないことを安定して検査可能な検査装置を提供する。
【解決手段】搬送面11上に載った卵パックPが1枚であるか否かを検査する検査装置4において、ガイド部41と、センサ部42とを備える。ガイド部41は、卵パックPを蓋P3が開いた状態で保持する。センサ部42は、ガイド部41に保持された卵パックPに超音波を通過させる。ガイド部41は、蓋P3の開く方向の移動を規制する開方向規制ガイド43と、蓋P3の閉じる方向の移動を規制する閉方向規制ガイド44とのうち少なくとも一方を有する。
【選択図】図3
特許請求の範囲
【請求項1】
搬送面上に載った卵パックが1枚であるか否かを検査する検査装置において、
前記卵パックを蓋が開いた状態で保持するガイド部と、
前記ガイド部に保持された卵パックに超音波を通過させるセンサ部とを備え、
前記ガイド部は、蓋の開く方向の移動を規制する開方向規制ガイドと、蓋の閉じる方向の移動を規制する閉方向規制ガイドとのうち少なくとも一方を有する、検査装置。
続きを表示(約 46 文字)
【請求項2】
前記ガイド部は、蓋の側面を保持する、請求項1記載の検査装置。
発明の詳細な説明
【技術分野】
【0001】
本発明は、積層状態より分離された卵パックの異常を検査する検査装置に関するものである。
続きを表示(約 1,400 文字)
【背景技術】
【0002】
皿状の形状を有するトレーを積層状態より分離した後に、センサ信号を透過させて、トレーが1枚であるか否かを検知するものが知られている(例えば、特許文献1を参照)。
【0003】
卵パック製品の生産ラインにおいても、積層状態の卵パックを1枚ずつ剥離して下流工程に供給する。ところが、卵パックは透明体で薄いため、生産ライン上での搬送中に卵パックが2枚重なっていることを目視で確認することは難しい。その上、卵が収容されるパック本体に一体に設けられた蓋を備えていることや、卵パックに設けられた凹凸により表面が一様ではないという特殊性がある。
【0004】
2枚以上重なった状態で下流工程へ卵パックが供給されると、例えば、卵パックの蓋を閉じる装置で正常に蓋を閉じることができなかったり、蓋を保持して段ボール箱等に移載する装置で正常に蓋を保持することができなかったりする、という問題が生じる。
【先行技術文献】
【特許文献】
【0005】
特開2018-177516号公報
【発明の概要】
【発明が解決しようとする課題】
【0006】
本発明は、凹凸のある卵パックが2枚以上重なっていないことを安定して検査可能な検査装置を提供する。
【課題を解決するための手段】
【0007】
本発明の検査装置は、搬送面上に載った卵パックが1枚であるか否かを検査する検査装置において、前記卵パックを蓋が開いた状態で保持するガイド部と、前記ガイド部に保持された卵パックに超音波を通過させるセンサ部とを備え、前記ガイド部は、蓋の開く方向の移動を規制する開方向規制ガイドと、蓋の閉じる方向の移動を規制する閉方向規制ガイドとのうち少なくとも一方を有する。
【0008】
この発明の上記および他の目的、特徴、局面および利点は、添付の図面と関連して理解されるこの発明に関する次の詳細な説明から明らかとなるであろう。
【図面の簡単な説明】
【0009】
本発明の一実施形態のシステムの平面概略図である。
同実施形態の検査装置が用いられる搬送装置の平面概略図である。
同実施形態の検査装置の側面概略図である。
同実施形態の検査装置の側面概略図である。
本発明の第1変形例の側面概略図である。
同変形例の正面概略図である。
同変形例の正面概略図である。
本発明の第2変形例の側面概略図である。
本発明の第3変形例の側面概略図である。
本発明の第4変形例の側面概略図である。
本発明の第5変形例の側面概略図である。
【発明を実施するための形態】
【0010】
以下、本発明の一実施形態について、図1~図4を参照して説明する。本実施形態にかかる検査装置4は、例えば、図1のようなシステム10に用いられる。このシステム10は、GPセンターで稼働している卵選別包装システムである。このシステム10は、搬送装置1と、パック供給装置2とを備える。搬送装置1は、上流側の搬送装置12で搬送された卵パックPが下流側で合流した後、卵パックPを搬送するものであり、搬送装置1上では、複数種類の卵パックPが搬送される。
(【0011】以降は省略されています)
この特許をJ-PlatPat(特許庁公式サイト)で参照する
関連特許
株式会社ナベル
検査装置
7日前
株式会社ナベル
表示システム
2日前
株式会社ナベル
供給システム
14日前
株式会社ナベル
選別供給システム
14日前
株式会社ナベル
鉄道模型用車輌接続具
21日前
個人
収容箱
3か月前
個人
コンベア
5か月前
個人
容器
9か月前
個人
ゴミ収集器
7か月前
個人
段ボール箱
7か月前
個人
段ボール箱
7か月前
個人
土嚢運搬器具
8か月前
個人
バンド
2か月前
個人
楽ちんハンド
5か月前
個人
角筒状構造体
5か月前
個人
宅配システム
7か月前
個人
コード類収納具
8か月前
個人
閉塞装置
10か月前
個人
廃棄物収容容器
3か月前
個人
お薬の締結装置
6か月前
個人
包装容器
1か月前
株式会社和気
包装用箱
9か月前
個人
ゴミ処理機
9か月前
個人
蓋閉止構造
4か月前
株式会社コロナ
梱包材
5か月前
株式会社和気
包装用箱
9日前
株式会社バンダイ
物品
29日前
個人
貯蔵サイロ
7か月前
個人
積み重ね用補助具
3か月前
個人
把手付米袋
4か月前
個人
蓋閉止構造
4か月前
株式会社ナベル
検査装置
7日前
個人
介護用コップ
2か月前
株式会社新弘
容器
3か月前
個人
袋入り即席麺
7か月前
三甲株式会社
蓋体
9か月前
続きを見る
他の特許を見る