TOP
|
特許
|
意匠
|
商標
特許ウォッチ
Twitter
他の特許を見る
10個以上の画像は省略されています。
公開番号
2025163752
公報種別
公開特許公報(A)
公開日
2025-10-30
出願番号
2024067246
出願日
2024-04-18
発明の名称
カバー構造
出願人
矢崎総業株式会社
,
トヨタ自動車株式会社
代理人
弁理士法人虎ノ門知的財産事務所
主分類
H05K
5/03 20060101AFI20251023BHJP(他に分類されない電気技術)
要約
【課題】開状態保持機構の耐久性を向上させること。
【解決手段】第2カバー位置で第1カバー11と第2カバー12のそれぞれの外壁面11a,12a同士を対向配置させると共に、第2カバー位置で突部30を被挿入部20に隙間を空けて挿入させるカバー部材10を備え、被挿入部におけるリビングヒンジ13から最も離れた位置の壁面は、リビングヒンジの回転軸と前記対向配置方向とに平行な平面で、かつ、突部を係止可能な第1係止面20aとして形成され、被挿入部におけるリビングヒンジに最も近い位置の壁面は、第1係止面に対して間隔を空けて対向配置させた壁面であり、リビングヒンジの回転軸と前記対向配置方向とに平行な平面で、かつ、突部を係止可能な第2係止面20bとして形成され、第1係止面と第2係止面は、リビングヒンジの撓み変形に伴う反力で第2カバー位置の第2カバーが第1カバー位置に向けて回動した際に突部を係止すること。
【選択図】図4
特許請求の範囲
【請求項1】
外壁面に被挿入部が形成された第1カバーと、外壁面に突部が形成された第2カバーと、前記第1カバーと前記第2カバーを連結させ、かつ、前記第2カバーを前記第1カバーに対して第1カバー位置と第2カバー位置との間で回動させるリビングヒンジと、を有し、前記第2カバー位置で前記第1カバーと前記第2カバーのそれぞれの前記外壁面同士を対向配置させると共に、前記第2カバー位置で前記突部を前記被挿入部に隙間を空けて挿入させるカバー部材を備え、
前記被挿入部における前記リビングヒンジから最も離れた位置の壁面は、前記リビングヒンジの回転軸と前記第2カバー位置でのそれぞれの前記外壁面の対向配置方向とに平行な平面で、かつ、前記突部を係止可能な第1係止面として形成され、
前記被挿入部における前記リビングヒンジに最も近い位置の壁面は、前記第1係止面に対して間隔を空けて対向配置させた壁面であり、前記リビングヒンジの回転軸と前記第2カバー位置でのそれぞれの前記外壁面の対向配置方向とに平行な平面で、かつ、前記突部を係止可能な第2係止面として形成され、
前記第1係止面と前記第2係止面は、前記リビングヒンジの撓み変形に伴う反力で前記第2カバー位置の前記第2カバーが前記第1カバー位置に向けて回動した際に前記突部を係止することを特徴としたカバー構造。
続きを表示(約 1,000 文字)
【請求項2】
前記カバー部材は、前記第2カバーを前記第1カバー位置から前記第2カバー位置へと回動させている途中で、前記突部を前記被挿入部の前記第1係止面に当接させ、かつ、前記突部が前記第1係止面からの反力を受けて前記リビングヒンジの回転軸の位置を変位させることによって、前記突部を前記被挿入部に挿入させることを特徴とした請求項1に記載のカバー構造。
【請求項3】
前記第2係止面は、前記被挿入部に前記突部を挿入させる際の侵入開始点側の端部に、その侵入開始点に近づくほど前記第1係止面から徐々に引き離した傾斜面を有することを特徴とした請求項1に記載のカバー構造。
【請求項4】
前記被挿入部は、前記第1カバーの前記外壁面を凹ませた凹部と、前記第1カバーの前記外壁面から突出させた第1突出部と、前記第1突出部よりも前記リビングヒンジ側で前記第1カバーの前記外壁面から突出させた第2突出部と、を有し、
前記第1係止面は、前記凹部における前記リビングヒンジから最も離れた位置の第1壁面と、前記第1壁面と同一平面上の前記第1突出部の壁面と、で形成され、
前記第2係止面は、前記凹部における前記リビングヒンジに最も近い位置の第2壁面と、前記第2壁面と同一平面上の前記第2突出部の壁面と、で形成されることを特徴とした請求項1に記載のカバー構造。
【請求項5】
電気接続対象物が収容され、かつ、前記カバー部材が組み付けられる収容部材を備え、
前記収容部材は、電気接続対象物が収容される本体部と、複数の前記電気接続対象物の電気接続部が接続状態で収容される収容空間であり、かつ、前記電気接続部に関わる作業を実施する際の作業用空間でもある内部空間が設けられた接続体収容部と、を有し、
前記第1カバーは、前記本体部に組み付けられ、
前記第2カバーは、前記第1カバー位置としての閉位置で前記接続体収容部の前記内部空間を接続状態の前記電気接続部と一緒に覆う一方、前記作業を行うための前記第2カバー位置としての開位置で前記接続体収容部の前記内部空間を露出させ、
前記リビングヒンジは、前記第2カバーを前記接続体収容部に対する前記閉位置と前記開位置との間で開閉させることを特徴とした請求項1,2,3又は4に記載のカバー構造。
発明の詳細な説明
【技術分野】
【0001】
本発明は、カバー構造に関する。
続きを表示(約 2,300 文字)
【背景技術】
【0002】
従来、自動車等の車両には、様々な電気接続対象物がケース等の筐体に収容された状態で搭載されている。その筐体には、電気接続対象物が収容される収容部材と、この収容部材に組み付けられるカバー部材と、を備えるカバー構造が設けられている。収容部材は、複数の電気接続対象物の電気接続部が接続状態で収容される収容空間であり、かつ、その電気接続部に関わる作業(電気接続部の着脱作業や電気接続部同士の接続作業等)を実施する際の作業用空間でもある内部空間が設けられた接続体収容部を有する。カバー部材は、収容部材に組み付けられる第1カバーと、接続体収容部の内部空間を接続状態の電気接続部と一緒に覆う一方、作業を行う際に接続体収容部の内部空間を露出させる第2カバーと、第1カバーと第2カバーを連結させ、かつ、第2カバーを接続体収容部に対する閉位置と開位置との間で開閉させるリビングヒンジと、を有する。この種のカバー構造については、例えば、下記の特許文献1に開示されている。
【先行技術文献】
【特許文献】
【0003】
特開2021-157979号公報
【発明の概要】
【発明が解決しようとする課題】
【0004】
ところで、カバー構造においては、内部空間での作業性を鑑みて、第2カバーを接続体収容部に対して開状態のままで保持しておくことが望ましい。例えば、上記特許文献1のカバー構造には、第2カバーを開位置で第1カバーの係止爪に引っ掛けて開状態のままに保つ開状態保持機構が設けられている。ここで、このカバー構造においては、第2カバーの開閉を繰り返すことで、開状態保持機構の動作も繰り返される。よって、このカバー構造においては、内部空間での作業性を良好なままに保つべく、開状態保持機構の耐久性を担保する必要がある。従来のカバー構造は、この点で改善の余地がある。
【0005】
そこで、本発明は、開状態保持機構の耐久性を向上させ得るカバー構造を提供することを、その目的とする。
【課題を解決するための手段】
【0006】
本発明は、外壁面に被挿入部が形成された第1カバーと、外壁面に突部が形成された第2カバーと、前記第1カバーと前記第2カバーを連結させ、かつ、前記第2カバーを前記第1カバーに対して第1カバー位置と第2カバー位置との間で回動させるリビングヒンジと、を有し、前記第2カバー位置で前記第1カバーと前記第2カバーのそれぞれの前記外壁面同士を対向配置させると共に、前記第2カバー位置で前記突部を前記被挿入部に隙間を空けて挿入させるカバー部材を備え、前記被挿入部における前記リビングヒンジから最も離れた位置の壁面は、前記リビングヒンジの回転軸と前記第2カバー位置でのそれぞれの前記外壁面の対向配置方向とに平行な平面で、かつ、前記突部を係止可能な第1係止面として形成され、前記被挿入部における前記リビングヒンジに最も近い位置の壁面は、前記第1係止面に対して間隔を空けて対向配置させた壁面であり、前記リビングヒンジの回転軸と前記第2カバー位置でのそれぞれの前記外壁面の対向配置方向とに平行な平面で、かつ、前記突部を係止可能な第2係止面として形成され、前記第1係止面と前記第2係止面は、前記リビングヒンジの撓み変形に伴う反力で前記第2カバー位置の前記第2カバーが前記第1カバー位置に向けて回動した際に前記突部を係止することを特徴とする。
【発明の効果】
【0007】
本発明に係るカバー構造は、第2カバー位置で突部を被挿入部に隙間を空けて挿入させるものであり、突部を被挿入部に対して抜き差しする際に、そして、突部が被挿入部に挿入された状態のときに、被挿入部と突部との間で過大な荷重を発生させない。よって、このカバー構造は、突部を被挿入部に対して抜き差しする際に、その相互間での擦れの発生を抑えることができる。更に、このカバー構造は、突部を被挿入部に対して抜き差しする際に、そして、突部が被挿入部に挿入された状態のときに、突部や被挿入部の変形を抑止することができる。従って、本発明に係るカバー構造は、第2カバーの開状態保持機構(被挿入部、突部)の耐久性を向上させることができる。
【図面の簡単な説明】
【0008】
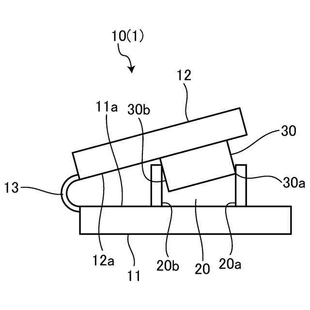
図1は、実施形態のカバー構造を示す斜視図である。
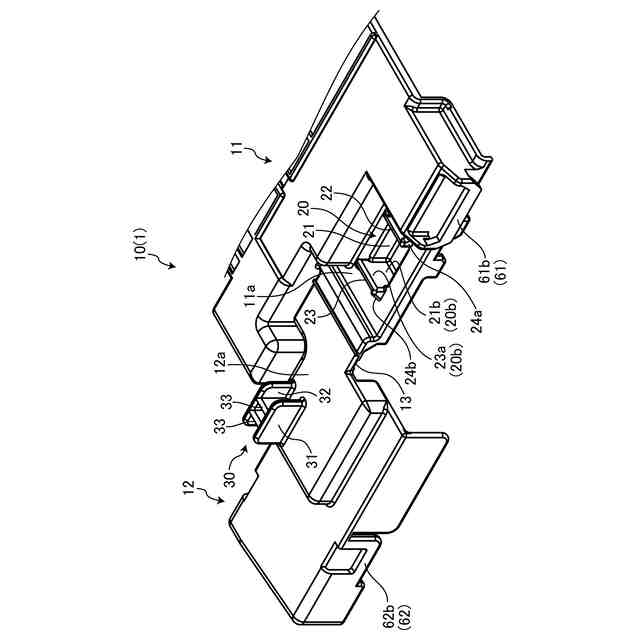
図2は、実施形態のカバー構造を示す分解斜視図である。
図3は、カバー部材を示す斜視図である。
図4は、カバー部材を外壁面側から見た平面図である。
図5は、カバー部材を内壁面側から見た平面図である。
図6は、第1カバー位置(閉位置)のカバー部材を側方から見た模式図である。
図7は、第2カバー位置(開位置)のカバー部材を側方から見た模式図である。
図8は、被挿入部における突部の係止状態をカバー部材の側方から見た模式図である。
図9は、第2係止面の傾斜面をカバー部材の側方から見た模式図である。
【発明を実施するための形態】
【0009】
以下に、本発明に係るカバー構造の実施形態を図面に基づいて詳細に説明する。尚、この実施形態によりこの発明が限定されるものではない。
【0010】
[実施形態]
本発明に係るカバー構造の実施形態の1つを図1から図9に基づいて説明する。
(【0011】以降は省略されています)
この特許をJ-PlatPat(特許庁公式サイト)で参照する
関連特許
矢崎総業株式会社
端子
5日前
矢崎総業株式会社
箱状体
25日前
矢崎総業株式会社
箱状体
25日前
矢崎総業株式会社
コネクタ
19日前
矢崎総業株式会社
コネクタ
24日前
矢崎総業株式会社
報知装置
12日前
矢崎総業株式会社
照明装置
6日前
矢崎総業株式会社
照明装置
6日前
矢崎総業株式会社
バスバー
16日前
矢崎総業株式会社
照明装置
11日前
矢崎総業株式会社
照明装置
5日前
矢崎総業株式会社
コネクタ
23日前
矢崎総業株式会社
カバー構造
3日前
矢崎総業株式会社
コネクタ構造
12日前
矢崎総業株式会社
コネクタ構造
12日前
矢崎総業株式会社
フラット導体
25日前
矢崎総業株式会社
コネクタ構造
12日前
矢崎総業株式会社
画像表示装置
6日前
矢崎総業株式会社
画像表示装置
6日前
矢崎総業株式会社
端子付き電線
17日前
矢崎総業株式会社
ワイヤハーネス
19日前
矢崎総業株式会社
充電インレット
11日前
矢崎総業株式会社
バスバ配置構造
17日前
矢崎総業株式会社
車両用表示装置
10日前
矢崎総業株式会社
車両用表示装置
6日前
矢崎総業株式会社
導電モジュール
3日前
矢崎総業株式会社
導電モジュール
3日前
矢崎総業株式会社
バスバ配置構造
4日前
矢崎総業株式会社
車両用表示装置
6日前
矢崎総業株式会社
車室内照明装置
5日前
矢崎総業株式会社
車両用表示装置
6日前
矢崎総業株式会社
車両用表示装置
6日前
矢崎総業株式会社
ワイヤーハーネス
19日前
矢崎総業株式会社
クランプ固定構造
17日前
矢崎総業株式会社
電気接続ユニット
11日前
矢崎総業株式会社
光センシング装置
10日前
続きを見る
他の特許を見る