TOP
|
特許
|
意匠
|
商標
特許ウォッチ
Twitter
他の特許を見る
10個以上の画像は省略されています。
公開番号
2025159486
公報種別
公開特許公報(A)
公開日
2025-10-21
出願番号
2024062076
出願日
2024-04-08
発明の名称
コネクタ構造
出願人
矢崎総業株式会社
代理人
弁理士法人栄光事務所
主分類
H01R
13/6592 20110101AFI20251014BHJP(基本的電気素子)
要約
【課題】ツイストペア電線を用いたシールドコネクタにおける伝送特性を容易に向上させることができるコネクタ構造を提供する。
【解決手段】シールド電線10と、シース14の端部から露出した編組13の外周側に被せられるインナースリーブ6と、ツイストペア電線の芯線に電気的に接続されるインナー端子15と、インナー端子15が収容されるインナーハウジング4と、インナー端子15が接続されたツイストペア電線11の各端部を所定の配列形態でそれぞれ収容する一対の中空状の収容部52,52が、ツイストペア電線11の電線径方向へ弾性変形可能に構成された整合部品5と、インナーハウジング4の外周を覆うシールド本体22から延出し、インナースリーブ6の外周側に折り返して被せられた編組13の折返し部分13aに電気的に接続されるようにインナースリーブ6の外周形状に沿って加締められる圧着部23を有するアウター端子21と、を備える。
【選択図】図8
特許請求の範囲
【請求項1】
ツイストペア電線を包囲する編組がシースにより覆われたケーブルと、
前記シースの端部から露出した前記編組の外周側に被せられるインナースリーブと、
前記シースの端部から露出した前記ツイストペア電線の各芯線に電気的に接続される一対のインナー端子と、
一対のインナー端子収容部に前記インナー端子がそれぞれ収容されるインナーハウジングと、
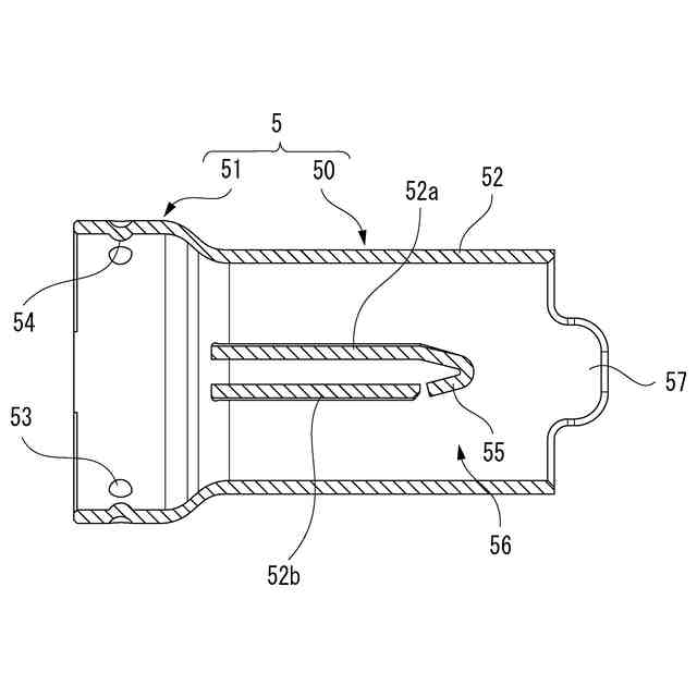
前記インナー端子が接続された前記ツイストペア電線の各端部を所定の配列形態でそれぞれ収容する一対の中空状の収容部が、前記ツイストペア電線の電線径方向へ弾性変形可能に構成された整合部品と、
前記インナーハウジングの外周を覆うシールド本体と、前記シールド本体から延出し、前記インナースリーブの外周側に折り返して被せられた前記編組の端部に電気的に接続されるように前記インナースリーブの外周側に圧着される圧着部とを有するアウター端子と、
を備えたコネクタ構造。
続きを表示(約 700 文字)
【請求項2】
前記整合部品は、前記インナーハウジングの端子挿入側端部が圧入される先端側のハウジング接続部と、前記ツイストペア電線の各端部が挿通される後端側のピッチ変換部とを備えてプレス成形されている、
請求項1に記載のコネクタ構造。
【請求項3】
前記ハウジング接続部は、内周面側に突出する内側凸部と、外周面側に突出する外側凸部とを備える、
請求項2に記載のコネクタ構造。
【請求項4】
前記ピッチ変換部には、前記ツイストペア電線の各端部に接続された前記インナー端子が挿入された際にそれぞれを分岐させる分岐ガイド部が設けられている、
請求項2に記載のコネクタ構造。
【請求項5】
前記収容部の後端には、前記インナースリーブの外周側に折り返して被せられた前記編組と前記ツイストペア電線との間に挿入される差し込み部が突設されている、
請求項1に記載のコネクタ構造。
【請求項6】
前記収容部の後端側には、前記インナースリーブの外周側に折り返して被せられた前記編組の外側に圧着されるケーブル接続用圧着部が設けられている、
請求項1に記載のコネクタ構造。
【請求項7】
前記収容部の後端側には、前記ツイストペア電線をオーバーラップ状に覆って電線径方向へ弾性変形可能な電線圧着部が設けられている、
請求項1に記載のコネクタ構造。
【請求項8】
前記アウター端子は、前記収容部を縮径方向へ加締めるための押圧部を備える請求項1~7の何れか一項に記載のコネクタ構造。
発明の詳細な説明
【技術分野】
【0001】
本発明は、シールドコネクタのコネクタ構造に関する。
続きを表示(約 1,700 文字)
【背景技術】
【0002】
近年、単なる平行線よりもノイズの影響を受けにくく、ノイズ輻射も少ないケーブルとして、ツイストペアケーブル(ツイストペア電線)が車載ネットワーク等に好適に用いられている。
そして、このツイストペアケーブルの端末に接続されるシールドコネクタは、STP(Shielded Twisted Pair)ケーブルの撚られた2本の電線の端末に接続されたインナー端子と、インナー端子を収容するインナーハウジングと、インナーハウジングを内包するアウター端子と、を備えている。
【0003】
このようなシールドコネクタにおける伝送特性を改善するコネクタ構造としては、例えば特許文献1に開示されたコネクタ構造が知られている。
このコネクタ構造は、コネクタと、コネクタに接続されたケーブルとを有し、コネクタとケーブルは、第1導体および第2導体を有する少なくとも1つの導体対(ツイストペア電線)を有する。さらに、コネクタ構造は、ケーブルにおける第1の部分と、コネクタ側の第2の部分と、第1の部分と第2の部分の間に形成された中間部分とを有している。
【0004】
導体対は、これら第1の部分、第2の部分、及び中間部分において外部導体(アウター端子)によって囲まれており、外部導体は、導体対を囲む中間部の一部に変形を有し、変形は、外部導体と導体との間の距離または変形した領域で導体間の距離のうち少なくとも1つを減少させている。
そこで、外部導体を変形させて、外部導体と導体との間の距離、または導体対の導体間の距離を変えることによって、異なる特性に関してコネクタ構造を改善することができる。
【先行技術文献】
【特許文献】
【0005】
特開2019-164997号公報
【発明の概要】
【発明が解決しようとする課題】
【0006】
しかしながら、上述した従来のコネクタ構造においては、中間部の外部導体に新たに外力等を加えることで変形を生じさせ、導体対の導体間の距離を小さくしているが、外部導体における変形量の調整が難しく、変形を生じさせる設備も必要であるという問題があった。
【0007】
本発明は上記状況に鑑みてなされたもので、その目的は、ツイストペア電線を用いたシールドコネクタにおける伝送特性を容易に向上させることができるコネクタ構造を提供することにある。
【課題を解決するための手段】
【0008】
本発明に係る上記目的は、下記構成により達成される。
ツイストペア電線を包囲する編組がシースにより覆われたケーブルと、
前記シースの端部から露出した前記編組の外周側に被せられるインナースリーブと、
前記シースの端部から露出した前記ツイストペア電線の各芯線に電気的に接続される一対のインナー端子と、
一対のインナー端子収容部に前記インナー端子がそれぞれ収容されるインナーハウジングと、
前記インナー端子が接続された前記ツイストペア電線の各端部を所定の配列形態でそれぞれ収容する一対の中空状の収容部が、前記ツイストペア電線の電線径方向へ弾性変形可能に構成された整合部品と、
前記インナーハウジングの外周を覆うシールド本体と、前記シールド本体から延出し、前記インナースリーブの外周側に折り返して被せられた前記編組の端部に電気的に接続されるように前記インナースリーブの外周側に圧着される圧着部とを有するアウター端子と、
を備えたコネクタ構造。
【発明の効果】
【0009】
本発明に係るコネクタ構造によれば、ツイストペア電線を用いたシールドコネクタにおける伝送特性を容易に向上させることができる。
【0010】
以上、本発明について簡潔に説明した。更に、以下に説明される発明を実施するための形態(以下、「実施形態」という。)を添付の図面を参照して通読することにより、本発明の詳細は更に明確化されるであろう。
【図面の簡単な説明】
(【0011】以降は省略されています)
この特許をJ-PlatPat(特許庁公式サイト)で参照する
関連特許
矢崎総業株式会社
端子
4日前
矢崎総業株式会社
照明灯
1か月前
矢崎総業株式会社
箱状体
24日前
矢崎総業株式会社
箱状体
24日前
矢崎総業株式会社
コネクタ
1か月前
矢崎総業株式会社
コネクタ
29日前
矢崎総業株式会社
コネクタ
25日前
矢崎総業株式会社
コネクタ
25日前
矢崎総業株式会社
コネクタ
25日前
矢崎総業株式会社
照明装置
10日前
矢崎総業株式会社
コネクタ
24日前
矢崎総業株式会社
コネクタ
24日前
矢崎総業株式会社
バスバー
15日前
矢崎総業株式会社
報知装置
11日前
矢崎総業株式会社
コネクタ
23日前
矢崎総業株式会社
コネクタ
22日前
矢崎総業株式会社
コネクタ
29日前
矢崎総業株式会社
照明構造
29日前
矢崎総業株式会社
止水部材
29日前
矢崎総業株式会社
照明装置
4日前
矢崎総業株式会社
コネクタ
1か月前
矢崎総業株式会社
コネクタ
1か月前
矢崎総業株式会社
コネクタ
1か月前
矢崎総業株式会社
コネクタ
1か月前
矢崎総業株式会社
コネクタ
1か月前
矢崎総業株式会社
コネクタ
1か月前
矢崎総業株式会社
コネクタ
18日前
矢崎総業株式会社
コネクタ
1か月前
矢崎総業株式会社
コネクタ
1か月前
矢崎総業株式会社
照明装置
5日前
矢崎総業株式会社
照明装置
5日前
矢崎総業株式会社
コネクタ
1か月前
矢崎総業株式会社
電気接続箱
24日前
矢崎総業株式会社
電気接続箱
24日前
矢崎総業株式会社
ゴムブーツ
29日前
矢崎総業株式会社
カバー構造
1か月前
続きを見る
他の特許を見る