TOP
|
特許
|
意匠
|
商標
特許ウォッチ
Twitter
他の特許を見る
10個以上の画像は省略されています。
公開番号
2025159485
公報種別
公開特許公報(A)
公開日
2025-10-21
出願番号
2024062075
出願日
2024-04-08
発明の名称
コネクタ構造
出願人
矢崎総業株式会社
代理人
弁理士法人栄光事務所
主分類
H01R
13/6592 20110101AFI20251014BHJP(基本的電気素子)
要約
【課題】シールドコネクタにおけるアウター端子と編組との電気的な接続信頼性の低下を防止することができるコネクタ構造を提供する。
【解決手段】シールド電線10と、シールド電線10の端部側に位置する前圧着部60と、前圧着部60の外形よりも小さい外形で前圧着部60の奥側に位置する後圧着部64とを有し、シース14の端部から露出した編組13の外周側に被せられるインナースリーブ6と、シース14の端部から露出した内部電線11の芯線に電気的に接続されるインナー端子と、インナー端子が収容されるインナーハウジング4と、インナーハウジング4の外周を覆うシールド本体22と、シールド本体22から延出し、インナースリーブ6の外周側に折り返して被せられた編組13の折返し部分13aに電気的に接続されるように前圧着部60及び後圧着部64の外周形状に沿って加締められる加締め部23とを有するアウター端子21と、を備える。
【選択図】図8
特許請求の範囲
【請求項1】
内部電線を包囲する編組がシースにより覆われたケーブルと、
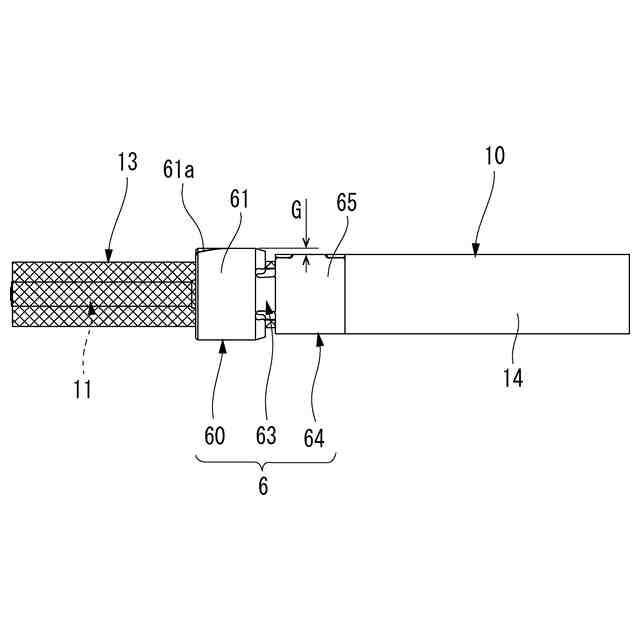
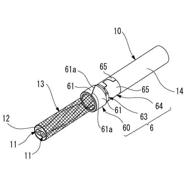
前記ケーブルの端部側に位置する前圧着部と、前記前圧着部の外形よりも小さい外形で前記前圧着部の奥側に位置する後圧着部とを有し、前記シースの端部から露出した前記編組の外周側に被せられるインナースリーブと、
前記シースの端部から露出した前記内部電線の芯線に電気的に接続されるインナー端子と、
インナー端子収容部に前記インナー端子が収容されるインナーハウジングと、
前記インナーハウジングの外周を覆うシールド本体と、前記シールド本体から延出し、前記インナースリーブの外周側に折り返して被せられた前記編組の端部に電気的に接続されるように前記前圧着部及び前記後圧着部の外周形状に沿って加締められる加締め部とを有するアウター端子と、
を備えたコネクタ構造。
続きを表示(約 82 文字)
【請求項2】
前記前圧着部の一対の圧着片における先端合わせ面が、前記編組の軸線に対し斜め方向に延びている、
請求項1に記載のコネクタ構造。
発明の詳細な説明
【技術分野】
【0001】
本発明は、シールドコネクタのコネクタ構造に関する。
続きを表示(約 1,900 文字)
【背景技術】
【0002】
従来のシールドコネクタは、例えば特許文献1に開示されるコネクタ構造のように、STP(Shielded Twisted Pair)ケーブルの撚られた2本の電線(ツイストペア電線)の端末に接続された接続端子(インナー端子)と、接続端子を収容するSTP誘電体(インナーハウジング)と、STP誘電体を内包する上側外導体及び下側外導体(アウター端子)と、を備えている。
【0003】
そして、上側外導体及び下側外導体の各バレル部(加締め部)が、折り返されてシースの外周側に被せられたシールド導体(編組)の端部に圧着により電気的に接続されることで、STPケーブルの端末に接続されたシールドコネクタおけるノイズの遮蔽性能が確保されている。
【先行技術文献】
【特許文献】
【0004】
特開2018-63795号公報
【発明の概要】
【発明が解決しようとする課題】
【0005】
しかしながら、上述した従来のコネクタ構造においては、上側外導体及び下側外導体からなる外導体(アウター端子)に対して、STPケーブルが相対的に離れる方向に強い引張力が加わった場合、シールド導体(編組)がバレル部に対しズレたり、バレル部から抜けてしまう可能性がある。その結果、ズレ等により外導体とシールド導体との電気的な接続信頼性が低下することが懸念される。
【0006】
本発明は上記状況に鑑みてなされたもので、その目的は、シールドコネクタにおけるアウター端子と編組との電気的な接続信頼性の低下を防止することができるコネクタ構造を提供することにある。
【課題を解決するための手段】
【0007】
本発明に係る上記目的は、下記構成により達成される。
内部電線を包囲する編組がシースにより覆われたケーブルと、
前記ケーブルの端部側に位置する前圧着部と、前記前圧着部の外形よりも小さい外形で前記前圧着部の奥側に位置する後圧着部とを有し、前記シースの端部から露出した前記編組の外周側に被せられるインナースリーブと、
前記シースの端部から露出した前記内部電線の芯線に電気的に接続されるインナー端子と、
インナー端子収容部に前記インナー端子が収容されるインナーハウジングと、
前記インナーハウジングの外周を覆うシールド本体と、前記シールド本体から延出し、前記インナースリーブの外周側に折り返して被せられた前記編組の端部に電気的に接続されるように前記前圧着部及び前記後圧着部の外周形状に沿って加締められる加締め部とを有するアウター端子と、
を備えたコネクタ構造。
【発明の効果】
【0008】
本発明に係るコネクタ構造によれば、シールドコネクタにおけるアウター端子と編組との電気的な接続信頼性の低下を抑制することができる。
【0009】
以上、本発明について簡潔に説明した。更に、以下に説明される発明を実施するための形態(以下、「実施形態」という。)を添付の図面を参照して通読することにより、本発明の詳細は更に明確化されるであろう。
【図面の簡単な説明】
【0010】
図1は、本発明の一実施形態に係るコネクタ構造を備えたインナーモジュールをアウターハウジングに収容する前の状態を示すシールドコネクタの斜視図である。
図2は、図1に示したインナーモジュールの分解斜視図である。
図3は、ケーブルの端末にインナーモジュールが接続される手順を説明する説明図であり、ケーブルの端末におけるシースの一部を切除した状態を示す。
図4は、ケーブルの端末にインナーモジュールが接続される手順を説明する説明図であり、ケーブルの端末に露出した編組の外周にインナースリーブが被せられた状態を示す。
図5は、ケーブルの端末に圧着されたインナースリーブの正面図である。
図6は、ケーブルの端末にインナーモジュールが接続される手順を説明する説明図であり、シースの端部から露出した内部電線の芯線にインナー端子が電気的に接続された状態を示す。
図7は、ケーブルの端末にインナーモジュールが接続される手順を説明する説明図であり、整合部品に挿通されたインナー端子がインナーハウジングのインナー端子収容部に収容された状態を示す。
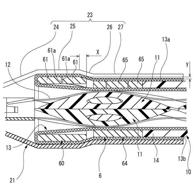
図8は、ケーブルの端末にアウター端子が圧着された状態を示す縦断面図である。
図9は、図8におけるA部の拡大断面図である。
【発明を実施するための形態】
(【0011】以降は省略されています)
この特許をJ-PlatPat(特許庁公式サイト)で参照する
関連特許
矢崎総業株式会社
端子
4日前
矢崎総業株式会社
箱状体
24日前
矢崎総業株式会社
箱状体
24日前
矢崎総業株式会社
コネクタ
1か月前
矢崎総業株式会社
照明装置
5日前
矢崎総業株式会社
報知装置
11日前
矢崎総業株式会社
コネクタ
25日前
矢崎総業株式会社
バスバー
15日前
矢崎総業株式会社
止水部材
29日前
矢崎総業株式会社
照明構造
29日前
矢崎総業株式会社
コネクタ
18日前
矢崎総業株式会社
コネクタ
22日前
矢崎総業株式会社
コネクタ
23日前
矢崎総業株式会社
照明装置
5日前
矢崎総業株式会社
照明装置
10日前
矢崎総業株式会社
照明装置
4日前
矢崎総業株式会社
コネクタ
29日前
矢崎総業株式会社
コネクタ
24日前
矢崎総業株式会社
コネクタ
24日前
矢崎総業株式会社
コネクタ
25日前
矢崎総業株式会社
コネクタ
25日前
矢崎総業株式会社
コネクタ
29日前
矢崎総業株式会社
コネクタ
1か月前
矢崎総業株式会社
コネクタ
1か月前
矢崎総業株式会社
電気接続箱
24日前
矢崎総業株式会社
電気接続箱
24日前
矢崎総業株式会社
電気接続箱
24日前
矢崎総業株式会社
プロテクタ
29日前
矢崎総業株式会社
ゴムブーツ
29日前
矢崎総業株式会社
カバー構造
2日前
矢崎総業株式会社
端子付き電線
16日前
矢崎総業株式会社
画像表示装置
5日前
矢崎総業株式会社
コネクタ構造
11日前
矢崎総業株式会社
コネクタ構造
11日前
矢崎総業株式会社
コネクタ構造
11日前
矢崎総業株式会社
電流検出装置
1か月前
続きを見る
他の特許を見る