TOP
|
特許
|
意匠
|
商標
特許ウォッチ
Twitter
他の特許を見る
10個以上の画像は省略されています。
公開番号
2025162004
公報種別
公開特許公報(A)
公開日
2025-10-27
出願番号
2024065065
出願日
2024-04-15
発明の名称
画像表示装置
出願人
矢崎総業株式会社
代理人
弁理士法人虎ノ門知的財産事務所
主分類
G02B
27/01 20060101AFI20251020BHJP(光学)
要約
【課題】放熱性を向上させつつ、耐振動性能を高めることができる画像表示装置を提供する。
【解決手段】画像表示装置100は、上壁11aに開口10aが形成されており、開口10aに向けて光を照射する光源を収容する金属製の筐体10と、開口10aを塞ぐ位置に配置され、光源からの光を画像の表示光Lとして出射する液晶表示部20と、筐体の開口と液晶表示部との間に配置され、液晶表示部と接触しており、光源からの光を液晶表示部側に透過させるガラス板60と、筐体における開口の縁部とガラス板の縁部との間に配置され、ガラス板を介して液晶表示部の熱を受け取り、筐体に伝える熱伝導シート80と、を備える。
【選択図】図3
特許請求の範囲
【請求項1】
上壁に開口が形成されており、前記開口に向けて光を照射する光源を収容する金属製の筐体と、
前記開口を塞ぐ位置に配置され、前記光源からの光を画像の表示光として出射する液晶表示部と、
前記筐体の前記開口と前記液晶表示部との間に配置され、前記液晶表示部と接触しており、前記光源からの光を前記液晶表示部側に透過させるガラス板と、
前記筐体における前記開口の縁部と前記ガラス板の縁部との間に配置され、前記ガラス板を介して前記液晶表示部の熱を受け取り、前記筐体に伝える熱伝導シートと、
を備えた画像表示装置。
続きを表示(約 530 文字)
【請求項2】
前記ガラス板は、矩形板状に形成されており、
前記熱伝導シートは、前記ガラス板の長辺に沿う一方の端部と接触している第1熱伝導シートと、前記ガラス板の長辺に沿う他方の端部と接触している第2熱伝導シートとを含み、
前記第1熱伝導シートと前記第2熱伝導シートとは、前記ガラス板の短辺に沿う短辺方向において離間している、
請求項1に記載の画像表示装置。
【請求項3】
前記第1熱伝導シートと前記第2熱伝導シートとの間に設けられ、前記光源からの光を前記ガラス板側に向けて拡散させる拡散板を更に備え、
前記第1熱伝導シートと前記第2熱伝導シートとの間において、前記ガラス板における前記開口側の面は、前記短辺方向における一端から他端にかけて、前記拡散板と対向している、
請求項2に記載の画像表示装置。
【請求項4】
前記熱伝導シートは、前記筐体の縁部に形成された溝部の内側に載置されており、
前記熱伝導シートにおける前記ガラス板と接触している面は、前記筐体における前記溝部の周囲の面よりも前記ガラス板側に位置している、
請求項1から3の何れか1項に記載の画像表示装置。
発明の詳細な説明
【技術分野】
【0001】
本発明は、画像表示装置に関する。
続きを表示(約 2,000 文字)
【背景技術】
【0002】
例えば、特許文献1には、ヘッドアップディスプレイ装置を構成する表示器が、バックライトと、液晶パネルと、背面透光板とを備える構成が開示されている。この表示器において、背面透光板は、液晶パネルの裏側に当接配置される透明なガラス板であって、片面がウェットブラストにより粗面化されている。この背面透光板において、粗面化処理されている方の面は、パネル対向面として、液晶パネルと重なるように配置されている。また、パネル対向面の表面粗さは、液晶パネルのサイズ及び虚像表示可能な画角に対して十分に細かい値に設定されている。特許文献1においては、上記の構成により、表示器の放熱性を高めつつ、干渉縞の発生を抑制することができるとされている。
【先行技術文献】
【特許文献】
【0003】
特開2023-66232号公報
【発明の概要】
【発明が解決しようとする課題】
【0004】
ところで、ヘッドアップディスプレイ装置等に用いられる画像表示装置においては、放熱性を向上させつつ、耐振動性能を高めることが望まれている。
【0005】
本発明の目的は、放熱性を向上させつつ、耐振動性能を高めることができる画像表示装置を提供することである。
【課題を解決するための手段】
【0006】
本発明の画像表示装置は、上壁に開口が形成されており、前記開口に向けて光を照射する光源を収容する金属製の筐体と、前記開口を塞ぐ位置に配置され、前記光源からの光を画像の表示光として出射する液晶表示部と、前記筐体の前記開口と前記液晶表示部との間に配置され、前記液晶表示部と接触しており、前記光源からの光を前記液晶表示部側に透過させるガラス板と、前記筐体における前記開口の縁部と前記ガラス板の縁部との間に配置され、前記ガラス板を介して前記液晶表示部の熱を受け取り、前記筐体に伝える熱伝導シートと、を備える。
【発明の効果】
【0007】
本発明に係る画像表示装置は、放熱性を向上させつつ、耐振動性能を高めることができるという効果を奏する。
【図面の簡単な説明】
【0008】
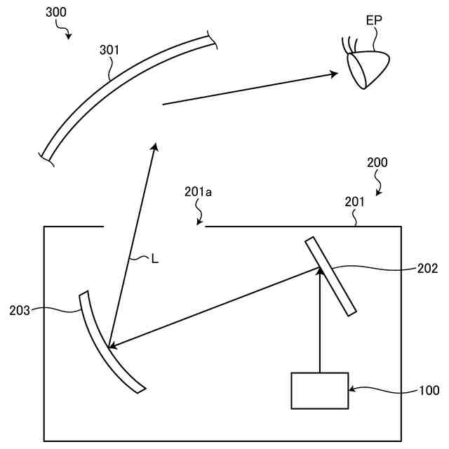
図1は、実施形態に係る画像表示装置を含む車両用表示装置を示す模式図である。
図2は、実施形態に係る画像表示装置を示す斜視図である。
図3は、実施形態に係る画像表示装置を示す分解斜視図である。
図4は、実施形態に係る画像表示装置の筐体を示す上面図である。
図5は、実施形態に係る画像表示装置を示す上面図である。
図6は、実施形態に係る画像表示装置を示す上面図である。
図7は、実施形態に係る画像表示装置を示す上面図である。
図8は、実施形態に係る画像表示装置を示す斜視図である。
図9は、実施形態に係る画像表示装置を示す断面図である。
図10は、実施形態に係る画像表示装置を示す拡大断面図である。
図11は、実施形態に係る画像表示装置を示す拡大断面図である。
図12は、実施形態に係る画像表示装置を示す断面図である。
図13は、実施形態に係る画像表示装置を示す拡大断面図である。
図14は、実施形態に係る画像表示装置を示す拡大断面図である。
図15は、実施形態に係る画像表示装置を示す拡大断面図である。
【発明を実施するための形態】
【0009】
以下に、本発明の実施形態に係る画像表示装置につき図面を参照しつつ詳細に説明する。なお、この実施形態によりこの発明が限定されるものではない。また、下記の実施形態における構成要素には、当業者が容易に想定できるものあるいは実質的に同一のものが含まれる。
【0010】
[実施形態]
図1から図15を参照して、実施形態について説明する。図1は、実施形態に係る画像表示装置を含む車両用表示装置を示す模式図、図2は、実施形態に係る画像表示装置を示す斜視図、図3は、実施形態に係る画像表示装置を示す分解斜視図、図4は、実施形態に係る画像表示装置の筐体を示す上面図、図5は、実施形態に係る画像表示装置を示す上面図、図6は、実施形態に係る画像表示装置を示す上面図、図7は、実施形態に係る画像表示装置を示す上面図、図8は、実施形態に係る画像表示装置を示す斜視図、図9は、実施形態に係る画像表示装置を示す断面図、図10は、実施形態に係る画像表示装置を示す拡大断面図、図11は、実施形態に係る画像表示装置を示す拡大断面図、図12は、実施形態に係る画像表示装置を示す断面図、図13は、実施形態に係る画像表示装置を示す拡大断面図、図14は、実施形態に係る画像表示装置を示す拡大断面図、図15は、実施形態に係る画像表示装置を示す拡大断面図である。
(【0011】以降は省略されています)
この特許をJ-PlatPat(特許庁公式サイト)で参照する
関連特許
矢崎総業株式会社
端子
3日前
矢崎総業株式会社
箱状体
23日前
矢崎総業株式会社
箱状体
23日前
矢崎総業株式会社
照明装置
9日前
矢崎総業株式会社
バスバー
14日前
矢崎総業株式会社
コネクタ
17日前
矢崎総業株式会社
照明装置
4日前
矢崎総業株式会社
照明装置
4日前
矢崎総業株式会社
コネクタ
21日前
矢崎総業株式会社
コネクタ
22日前
矢崎総業株式会社
コネクタ
23日前
矢崎総業株式会社
照明装置
3日前
矢崎総業株式会社
コネクタ
23日前
矢崎総業株式会社
報知装置
10日前
矢崎総業株式会社
カバー構造
1日前
矢崎総業株式会社
電気接続箱
23日前
矢崎総業株式会社
電気接続箱
23日前
矢崎総業株式会社
電気接続箱
23日前
矢崎総業株式会社
フラット導体
23日前
矢崎総業株式会社
端子付き電線
15日前
矢崎総業株式会社
コネクタ構造
10日前
矢崎総業株式会社
コネクタ構造
10日前
矢崎総業株式会社
コネクタ構造
10日前
矢崎総業株式会社
画像表示装置
4日前
矢崎総業株式会社
画像表示装置
4日前
矢崎総業株式会社
バスバ配置構造
15日前
矢崎総業株式会社
車両用表示装置
4日前
矢崎総業株式会社
車両用表示装置
4日前
矢崎総業株式会社
車両用表示装置
4日前
矢崎総業株式会社
ワイヤハーネス
17日前
矢崎総業株式会社
車両用表示装置
4日前
矢崎総業株式会社
車両用表示装置
8日前
矢崎総業株式会社
車室内照明装置
3日前
矢崎総業株式会社
充電インレット
9日前
矢崎総業株式会社
バスバ配置構造
2日前
矢崎総業株式会社
導電モジュール
1日前
続きを見る
他の特許を見る